TOP
|
特許
|
意匠
|
商標
特許ウォッチ
Twitter
他の特許を見る
10個以上の画像は省略されています。
公開番号
2025173408
公報種別
公開特許公報(A)
公開日
2025-11-27
出願番号
2024078981
出願日
2024-05-14
発明の名称
潅水装置
出願人
株式会社中村工務店
代理人
個人
主分類
A01G
25/09 20060101AFI20251119BHJP(農業;林業;畜産;狩猟;捕獲;漁業)
要約
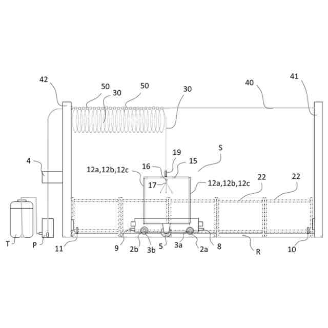
【課題】土地の有効利用が図れ、収穫量が増加する潅水装置。
【解決手段】潅水装置において、1本の走行レールと、該走行レール上を前輪及び後輪の少なくとも2つの車輪により往復動する走行車両と、該走行車両に立設された主支柱から走行車両の左右方向に伸びる支持アームと、該支持アームで支持される、散水ノズルが取り付けられたノズル菅と、該ノズル菅に一端で接続する液体用ホースと、該ホースの他端に接続する送液手段と、前記走行車両の移動域に沿って張設されたケーブルと、該ケーブルに前記液体用ホースを移動自在に吊支させる複数のホース保持部材と、前記支持アームの左右をそれぞれ支持する補助輪が付いた副支柱と、を有する。
【選択図】 図1
特許請求の範囲
【請求項1】
1本の走行レールと、
該走行レール上を前輪及び後輪の少なくとも2つの車輪により往復動する走行車両と、
該走行車両に立設された主支柱から走行車両の左右方向に伸びる支持アームと、
該支持アームで支持される、散水ノズルが取り付けられたノズル菅と、
該ノズル菅に一端で接続する液体用ホースと、
該ホースの他端に接続する送液手段と、
前記走行車両の移動域に沿って張設されたケーブルと、
該ケーブルに前記液体用ホースを移動自在に吊支させる複数のホース保持部材と、
前記支持アームの左右をそれぞれ支持する補助輪が付いた副支柱と、を有することを特徴とする潅水装置。
続きを表示(約 180 文字)
【請求項2】
前記車輪及び/又は他の車輪により、前記走行レールを挟み込んで前記走行車両を前記レールに固定的に支持することを特徴とする請求項1に記載の潅水装置。
【請求項3】
トレイが設置可能な棚を上下2つ以上備える栽培棚を有し、前記散水ノズルの地上からの高さが120cm以上であることを特徴とする請求項1又は2に記載の潅水装置。
発明の詳細な説明
【技術分野】
【0001】
本発明は、潅水装置に関する。
続きを表示(約 1,700 文字)
【背景技術】
【0002】
本発明は、屋外や栽培ハウス等に設置して灌水するのに適した植物栽培に用いる給水装置に関するものである。
【0003】
従来より、ホースにスプリンクラーを取り付けた散水が行われているが、そのような態様だとどうしても散水むらが生じてしまい、植物全体がバランス良く育たない。
このような散水むらが生じないものとして、例えば、特許文献1や特許文献2のように、一対(2本)の走行レールを敷設し、これに散水手段を取り付けたモータ駆動の散水用自走台車を往復走行自在に設けると共に、この散水手段に液圧送ホースの一端を連結して、走行車両の左右両側に水平に張り出して設けたノズル管により、レールの左右に並べた育苗トレー等に灌水する装置が知られている。
しかしながら、これらの装置は、ポンプと散水手段とを結ぶ、水を満たした重量のあるホースや走行車両に電力を供給する電線を、走行車両に向けて繰り出したり、巻き取りしたりしながら走行させるために複雑な機構が必要でコストがかかり、実用的ではなかった。
そこで特許文献3のように、走行車両の移動域に沿ってケーブルを張設し、このケーブルに移動自在に係合する複数のホース保持部材を設けてホースをケーブルに吊支することによって、複雑な制御を必要とせず、極めて軽い力でホースを自走車用の移動に伴って伸長させるという使用勝手を良くしたものが提案されている。
【先行技術文献】
【特許文献】
【0004】
実公平6-5726号公報
実公平6-39571号公報
登録実用新案第3013319号公報
【発明の概要】
【発明が解決しようとする課題】
【0005】
しかしながら、これら特許文献では、例えば、図15で示されるように、走行車両Sが敷設された一対(2本)のレールR上を往復動する際に、2本のレールRどうしの間隔分の幅が必要になるので、走行車両が往復動するのに必要となる土地の面積が多くなり、その分、植物栽培に要する土地の面積が減少してしまっていた。
また、散水面積を増加させるためにノズル菅を左右に大きく伸ばすとバランスを崩し易くなったり、背の高い植物を栽培する場合や高い位置に育苗トレーがある場合などで散水位置を高くすると走行車両の重心位置が高くなって倒れやすくなったりする欠点があった。さらに、レールが複数並んで敷設されていると、レール間に水やゴミが溜まり易くなり走行に支障が出る恐れがあった。
【0006】
そこで本発明は、上述のような従来技術の欠点を克服し、簡単な構成により、安価に設置、運用が可能で、植物栽培ができる面積を実質的に増やし、収穫量を増加させる灌水装置を提供するものである。
【課題を解決するための手段】
【0007】
上記課題を解決するための発明は、潅水装置であって、1本の走行レールと、該走行レール上を前輪及び後輪の少なくとも2つの車輪により往復動する走行車両と、該走行車両に立設された主支柱から走行車両の左右方向に伸びる支持アームと、該支持アームで支持される、散水ノズルが取り付けられたノズル菅と、該ノズル菅に一端で接続する液体用ホースと、該ホースの他端に接続する送液手段と、前記走行車両の移動域に沿って張設されたケーブルと、該ケーブルに前記液体用ホースを移動自在に吊支させる複数のホース保持部材と、前記支持アームの左右をそれぞれ支持する補助輪が付いた副支柱と、を有することを特徴とする。
【0008】
また、前記車輪及び/又は他の車輪により、前記走行レールを挟み込んで前記走行車両を前記レールに固定的に支持することを特徴とする。
【0009】
また、トレイが設置可能な棚を上下2つ以上備える栽培棚を有し、前記散水ノズルの地上からの高さが125cm以上であることを特徴とする。
【発明の効果】
【0010】
本発明により、土地の有効活用が図れ、収穫量が増加する。
【図面の簡単な説明】
(【0011】以降は省略されています)
この特許をJ-PlatPat(特許庁公式サイト)で参照する
関連特許
株式会社中村工務店
潅水装置
1日前
個人
産卵床
今日
個人
蠅捕獲器
1か月前
個人
釣り用錘
18日前
個人
草刈り鋏
1か月前
個人
平板植栽
1日前
個人
果実袋
今日
個人
刈込鋏保持具
1か月前
個人
蜜蜂保護装置
29日前
個人
噴霧器ノズル
16日前
個人
移動体草刈り機
今日
個人
草刈機用回転刃
1か月前
個人
養殖器具
今日
個人
種子の製造方法
1か月前
個人
昆虫捕集器
1か月前
個人
水田排水量調整器具
今日
個人
可動リップ付きルアー
21日前
株式会社剛樹
釣り竿
14日前
井関農機株式会社
作業車両
1か月前
井関農機株式会社
作業車両
1か月前
井関農機株式会社
圃場作業機
21日前
個人
餌付き針の餌取り防止具
24日前
個人
ブルーカーボンシステム
21日前
株式会社ナベル
表示システム
24日前
個人
四足動物用装着具
1か月前
積水樹脂株式会社
シート止め具
今日
有限会社信英精密
括り罠
8日前
大栄工業株式会社
捕獲器
1か月前
株式会社オーツボ
海苔箱船
1か月前
井関農機株式会社
作業車両
1か月前
井関農機株式会社
苗移植機
8日前
松山株式会社
収穫機
21日前
個人
粘着板で挟むネズミ捕り装置
今日
井関農機株式会社
作業車両
1か月前
みのる産業株式会社
除草機
24日前
みのる産業株式会社
除草機
24日前
続きを見る
他の特許を見る