TOP
|
特許
|
意匠
|
商標
特許ウォッチ
Twitter
他の特許を見る
公開番号
2025148696
公報種別
公開特許公報(A)
公開日
2025-10-08
出願番号
2024048949
出願日
2024-03-26
発明の名称
穴明け装置
出願人
株式会社小川農具製作所
代理人
個人
主分類
A01C
5/04 20060101AFI20251001BHJP(農業;林業;畜産;狩猟;捕獲;漁業)
要約
【課題】 使用者が簡易な手法で想定穴明け間隔に沿った実際の穴明けを実現できる穴明け装置を提供する。
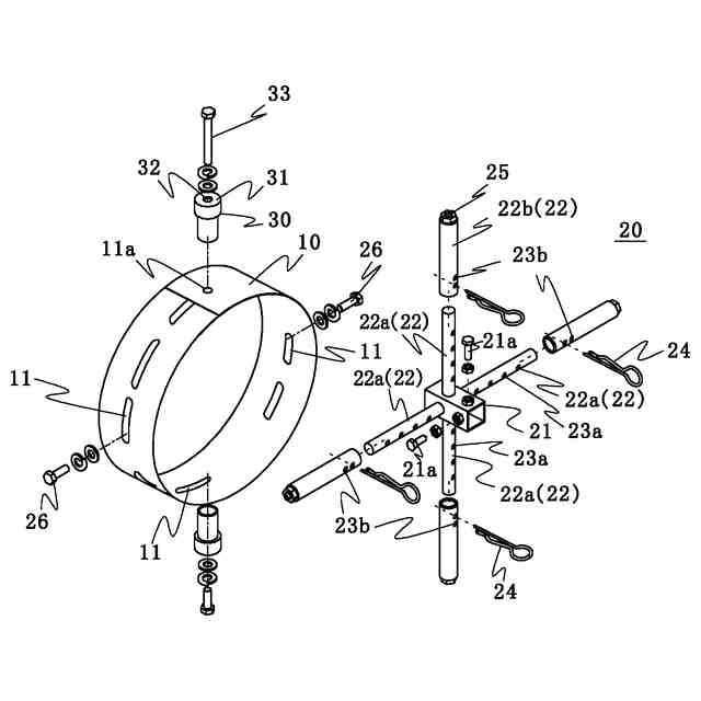
【解決手段】 本発明に係る穴明け装置1は、農作業機に牽引されて所定間隔で穴明けを行う1又は複数の回転体2を備えるものであって、回転体2は、帯状の板体を巻いて円形枠としたドラム10と、ドラム10の巻き状態を保持する伸縮自在の複数のアーム部22と、ドラム10から突出して地表面に穴をあける突出部30と、を有し、複数のアーム部22は、軸受けに接続する第1腕部22aと、第1腕部と係合する第2腕部22bとからなる腕部を有し、第1腕部22aと第2腕部22bとの係合は、所定間隔を有して配置される第1腕部の複数の第1係止部23aと、第2腕部の第2係止部23bとを固定部24で係止することで段階的に伸縮自在とするものであって、第1係止部23aは、基端位置からの長さを複数のアーム部22において同一長さとする。
【選択図】 図1
特許請求の範囲
【請求項1】
農作業機に牽引されて所定間隔で穴明けを行う1又は複数の回転体を備えるものであって、
前記回転体は、帯状の板体を巻いて円形枠としたドラムと、前記ドラムの巻き状態を保持する伸縮自在の複数のアーム部と、前記ドラムから突出して地表面に穴をあける突出部と、を有し、
前記複数のアーム部は、軸受けに接続する第1腕部と、前記第1腕部と係合する第2腕部とからなる腕部を有し、
前記第1腕部と前記第2腕部との係合は、所定間隔を有して配置される前記第1腕部の複数の第1係止部と、前記第2腕部の第2係止部とを固定部で係止することで段階的に伸縮自在とするものであって、
前記第1係止部は、基端位置からの長さを前記複数のアーム部において同一長さとしたことを特徴とする穴明け装置。
続きを表示(約 420 文字)
【請求項2】
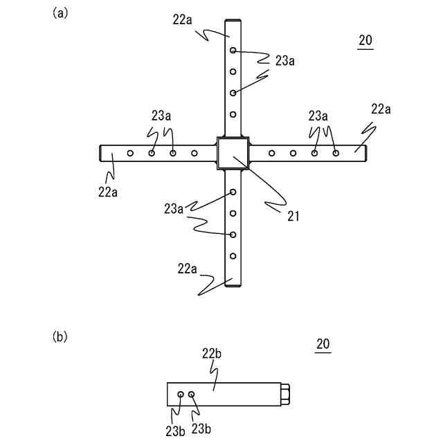
第1腕部の第1係止部は所定間隔をもって複数開口された孔であり、第2係止部は第2腕部に第1係止部の間隔より短い間隔で配置される孔であって、ピン材からなる固定部を前記第1係止部及び第2係止部に渡って挿入して係止することを特徴とする請求項1に記載の穴明け装置。
【請求項3】
帯状の板体であるドラムはドラム取付穴を介してアーム部と接続して巻き状態を保持するものであって、
少なくとも基準となるドラム取付穴を含めた複数のドラム取付穴と、前記基準となるドラム取付穴から所定間隔をもって配置する目印部を有することを特徴とする請求項1または2に記載の穴明け装置。
【請求項4】
第2係止部は、第2腕部に第1係止部の間隔よりも短い間隔で配置される2つの係止部であって、
ドラムは、前記第2係止部の係止位置に応じた位置に配置される第2目印部を有することを特徴とする請求項3に記載の穴明け装置。
発明の詳細な説明
【技術分野】
【0001】
本発明は、耕耘機や成型機、管理機の農作業機に装着して所定位置に主に移植用の穴あけを行う穴あけ装置に関する。
続きを表示(約 1,500 文字)
【背景技術】
【0002】
従来、板状物を湾曲させた輪板と腕杆と腕杆先端部を有する植付け用穴明け装置が存在した(例えば特許文献1参照)。
【先行技術文献】
【特許文献】
【0003】
実開平02-26408号公報
【発明の概要】
【発明が解決しようとする課題】
【0004】
しかしながら、上述した輪板と腕杆先端部を突出させた腕杆とからなる穴明け装置は、輪板を可変径にすることで腕杆先端部による穴明け位置を最適の移植間隔に適合することを目的としていたが、必ずしも最適の移植間隔を実現できるものではなかった。すなわち、特許文献1の発明はネジ状の腕杆での先端部分が輪板から突出した部位に穴明け体を取り付けるものであって、板体を湾曲させて円形にすることすら難しかった。これを行うには腕杆の長さを揃え、均一に円形に板体を丸めなければならないため、工場などを持たない使用者はきれいな円形にして適宜間隔の穴明け体を配置することすら難しい状況であった。
【0005】
また、農作業機で牽引する穴明け装置では想定とおりの穴明け間隔の実現が難しかった。様々な要因があるが、特に腕杆を伸縮したときに想定とおりの輪板状態とならず、歪な円形や楕円形になることもあった。また、円形となっても想定とおりの穴明け間隔を実現することも難しいことから、簡易な手段で想定とおりの穴明け間隔を実現できる穴明け装置が求められていた。
【0006】
上述した欠点に鑑み、本発明は、使用者が簡易な手法で簡単に円形のドラム状にして想定穴明け間隔に沿った実際の穴明け間隔を実現できる穴明け装置を提供することを目的とする。
【課題を解決するための手段】
【0007】
本発明に係る穴明け装置は、農作業機に牽引されて所定間隔で穴明けを行う1又は複数の回転体を備えるものであって、
前記回転体は、帯状の板体を巻いて円形枠としたドラムと、前記ドラムの巻き状態を保持する伸縮自在の複数のアーム部と、前記ドラムから突出して地表面に穴をあける突出部と、を有し、
前記複数のアーム部は、軸受けに接続する第1腕部と、前記第1腕部と係合する第2腕部とからなる腕部を有し、
前記第1腕部と前記第2腕部との係合は、所定間隔を有して配置される前記第1腕部の複数の第1係止部と、前記第2腕部の第2係止部とを固定部で係止することで段階的に伸縮自在とするものであって、
前記第1係止部は、基端位置からの長さを前記複数のアーム部において同一長さとしたことを特徴とするものである。
【0008】
また、第1腕部の第1係止部は所定間隔をもって複数開口された孔であり、第2係止部は第2腕部に第1係止部の間隔より短い間隔で配置される孔であって、ピン材からなる固定部を前記第1係止部及び第2係止部に渡って挿入して係止することが好ましい。
【0009】
また、帯状の板体であるドラムはドラム取付穴を介してアーム部と接続して巻き状態を保持するものであって、
少なくとも基準となるドラム取付穴を含めた複数のドラム取付穴と、前記基準となるドラム取付穴から所定間隔をもって配置する目印部を有することを特徴とすることが好ましい。
【0010】
また、第2係止部は、第2腕部に第1係止部の間隔よりも短い間隔で配置される2つの係止部であって、
ドラムは、前記第2係止部の係止位置に応じた位置に配置される第2目印部を有することが好ましい。
【発明の効果】
(【0011】以降は省略されています)
この特許をJ-PlatPat(特許庁公式サイト)で参照する
関連特許
個人
蜜蜂保護装置
8日前
個人
種子の製造方法
14日前
個人
昆虫捕集器
14日前
株式会社ナベル
表示システム
3日前
個人
餌付き針の餌取り防止具
3日前
みのる産業株式会社
除草機
3日前
みのる産業株式会社
除草機
3日前
松山株式会社
草刈作業機
8日前
株式会社三生
足括り罠
10日前
アイミット株式会社
爪とぎ器具
14日前
アロン化成株式会社
作業台
3日前
アロン化成株式会社
作業台
3日前
アロン化成株式会社
作業台
3日前
松山株式会社
表示装置及び農作業機
1日前
株式会社シマノ
ルアー
14日前
株式会社シマノ
ルアー
15日前
個人
太陽光熱制御による果樹の高品位安定生産法
8日前
大和ハウス工業株式会社
水耕栽培装置
15日前
田中工機株式会社
車両システム及び移動方法
3日前
学校法人日本大学
栽培システム
2日前
株式会社三興
植物育成用土壌
9日前
フルタ電機株式会社
炭酸ガス供給装置
8日前
個人
栽培装置及び栽培方法
1日前
田中工機株式会社
捕鳥装置及び飼育環境物排出方法
3日前
株式会社ルミカ
釣具
8日前
未来工業株式会社
流路形成部材、及び、流路形成構造
3日前
井関農機株式会社
作業車両
16日前
井関農機株式会社
根菜類収穫機
11日前
井関農機株式会社
作業車両
8日前
井関農機株式会社
作業車両
16日前
株式会社マラナタ
栽培容器
11日前
井関農機株式会社
水田作業機
10日前
井関農機株式会社
乗用型苗植機
9日前
株式会社ナベル
供給システム
15日前
小橋工業株式会社
農作業機
14日前
國立彰化師範大學
アリ餌剤材料及びその抽出方法
10日前
続きを見る
他の特許を見る