TOP
|
特許
|
意匠
|
商標
特許ウォッチ
Twitter
他の特許を見る
公開番号
2025164440
公報種別
公開特許公報(A)
公開日
2025-10-30
出願番号
2024068426
出願日
2024-04-19
発明の名称
作業車両
出願人
井関農機株式会社
代理人
弁理士法人新大阪国際特許事務所
主分類
A01D
33/10 20060101AFI20251023BHJP(農業;林業;畜産;狩猟;捕獲;漁業)
要約
【課題】 従来の人参収穫車両のような作業車両については、便利な機能を利用するときの使い勝手が必ずしもよくない。
【解決手段】 車体左側および車体右側の内の一方の側へ取付けられた人参収穫搬送装置10と、人参収穫搬送装置10により収穫されて搬送された人参を一方の側から車体左側および車体右側の内の他方の側へ搬送する、人参搬送コンベアー20と、人参搬送コンベアー20により搬送された人参を収容する人参コンテナー100を載置する、他方の側へ取付けられたメインキャリアー30と、人参コンテナー100を載置する、車体前側へ取付けられたフロントキャリアー40と、フロントキャリアー40へ取付けられた折畳み可能なフロント搬送路50と、を備えており、折畳まれたフロント搬送路50は、車体左右方向において他方の側へ展開可能である人参収穫車両1である。
【選択図】 図1
特許請求の範囲
【請求項1】
作物を収穫して車体後側へ向かって搬送する、車体左側および車体右側の内の一方の側へ取付けられた作物収穫搬送装置と、
前記作物収穫搬送装置により収穫されて搬送された前記作物を前記一方の側から前記車体左側および前記車体右側の内の他方の側へ搬送する、作物搬送コンベアーと、
前記作物搬送コンベアーにより搬送された前記作物を収容する作物コンテナーを載置する、前記他方の側へ取付けられたメインキャリアーと、
作物コンテナーを載置する、車体前側へ取付けられたフロントキャリアーと、
前記フロントキャリアーへ取付けられた折畳み可能なフロント搬送路と、
を備えており、
折畳まれた前記フロント搬送路は、車体左右方向において前記他方の側へ展開可能であることを特徴とする作業車両。
続きを表示(約 1,000 文字)
【請求項2】
前記フロント搬送路は、前記フロントキャリアーへ回動可能に取付けられたフロント搬送路基部、フロント搬送路ヒンジ部を介して前記フロント搬送路基部へ回動可能に取付けられたフロント搬送路延長部、および前記フロント搬送路ヒンジ部へ回動可能に取付けられたフロント搬送路スタンド部を有することを特徴とする請求項1に記載の作業車両。
【請求項3】
前記メインキャリアーの車体前後方向におけるキャリアー前側へ取付けられた回動可能なサイド搬送路をさらに備えていることを特徴とする請求項2に記載の作業車両。
【請求項4】
前記一方の側は、前記車体左側であり、
前記他方の側は、前記車体右側であり、
前記フロント搬送路基部は、前記車体前後方向の回動軸の周りに回動可能であるように前記フロントキャリアーの前記車体左右方向におけるキャリアー右側へ取付けられており、
前記フロント搬送路は、前記フロントキャリアーの裏側へ収納されるように折畳み可能であり、
前記フロントキャリアーは、前記車体左右方向の回動軸の周りに回動可能であるように前記車体前側へ取付けられていることを特徴とする請求項3に記載の作業車両。
【請求項5】
前記作物を収穫する作物収穫作業が行われているとき、前記フロントキャリアーは水平であり、前記フロント搬送路は折畳まれていることを特徴とする請求項4に記載の作業車両。
【請求項6】
前記作物収穫作業が行わった後に、前記作物コンテナーを降ろす作物コンテナー降ろし作業が行われるとき、前記フロントキャリアーが起立させられた状態において、前記フロント搬送路が展開され、その後に、前記フロントキャリアーは展開された前記フロント搬送路されとともに再び水平であるように回動されることを特徴とする請求項5に記載の作業車両。
【請求項7】
前記サイド搬送路は、前記車体左右方向の回動軸の周りに回動可能であるように前記キャリアー前側へ取付けられており、
前記作物収穫作業が行わった後に、前記フロントキャリアーが前記作物コンテナーを載置する場合において、前記フロントキャリアーが起立させられる前に、垂下げられた前記サイド搬送路は水平であるように回動され、前記作物コンテナーが前記フロントキャリアーから前記サイド搬送路へ移動させられることを特徴とする請求項6に記載の作業車両。
発明の詳細な説明
【技術分野】
【0001】
本発明は、人参収穫車両のような作業車両に関する。
続きを表示(約 1,600 文字)
【背景技術】
【0002】
フレームの下部に左右の走行装置を設け、フレームの左右一側に圃場から作物を引き抜き機体後方へ搬送する後上がり傾斜姿勢の引抜搬送装置を設け、フレームの左右他側の前部に操縦者が搭乗する操縦座席を備えた操縦部を設け、引抜搬送装置の搬送終端側に作物の茎葉部を切断する茎葉切断装置を設け、茎葉切断装置の下方に、茎葉部を切断された作物を受けて機体後方に搬送すると共にこの作物の残葉を処理する残葉処理装置を設け、残葉処理装置と操縦部との間に、残葉処理装置の後端部から作物を引き継いで操縦部の横側に向けて搬送する機体前後方向姿勢の第1選別搬送コンベアーを設け、第1選別搬送コンベアーの搬送終端部から作物を受けて機体後部へ移送する移送装置を設け、移送装置の移送終端部下方に、第1選別コンベアーの下方及び操縦部の後側を通過して機体左右他側の収容部に向けて作物を搬送する第2選別搬送コンベアーの搬送始端部を配置し、第2選別搬送コンベアーの後側で且つ第1選別搬送コンベアーの搬送始端部の横側の位置に補助作業者が搭乗する補助作業座席を備えた補助作業部を設けた根菜類収穫機が、知られている(たとえば、特許文献1参照)。
【先行技術文献】
【特許文献】
【0003】
特開2010-124757号公報
【発明の概要】
【発明が解決しようとする課題】
【0004】
ところで、本発明者は、ユーザーのさまざまなニーズを考慮し、便利な機能が作業車両へつぎつぎと実装される趨勢はますます加速すると考えている。
【0005】
しかしながら、従来の人参収穫車両のような作業車両については、便利な機能を利用するときの使い勝手が必ずしもよくないことに本発明者は気付いた。
【0006】
より具体的には、人参を収容する重い人参コンテナーをフロントキャリアーからトラックの荷台へ移動するコンテナー運搬作業は必ずしも容易でないことに本発明者は気付いた。
【0007】
本発明は、上述された従来の課題を考慮し、使い勝手を向上することができる作業車両を提供することを目的とする。
【課題を解決するための手段】
【0008】
第1の本発明は、作物を収穫して車体後側へ向かって搬送する、車体左側および車体右側の内の一方の側へ取付けられた作物収穫搬送装置と、
前記作物収穫搬送装置により収穫されて搬送された前記作物を前記一方の側から前記車体左側および前記車体右側の内の他方の側へ搬送する、作物搬送コンベアーと、
前記作物搬送コンベアーにより搬送された前記作物を収容する作物コンテナーを載置する、前記他方の側へ取付けられたメインキャリアーと、
作物コンテナーを載置する、車体前側へ取付けられたフロントキャリアーと、
前記フロントキャリアーへ取付けられた折畳み可能なフロント搬送路と、
を備えており、
折畳まれた前記フロント搬送路は、車体左右方向において前記他方の側へ展開可能であることを特徴とする作業車両である。
【0009】
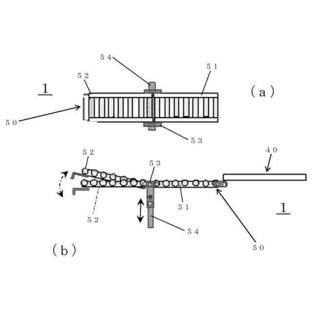
第2の本発明は、前記フロント搬送路は、前記フロントキャリアーへ回動可能に取付けられたフロント搬送路基部、フロント搬送路ヒンジ部を介して前記フロント搬送路基部へ回動可能に取付けられたフロント搬送路延長部、および前記フロント搬送路ヒンジ部へ回動可能に取付けられたフロント搬送路スタンド部を有することを特徴とする第1の本発明の作業車両である。
【0010】
第3の本発明は、前記メインキャリアーの車体前後方向におけるキャリアー前側へ取付けられた回動可能なサイド搬送路をさらに備えていることを特徴とする第2の本発明の作業車両である。
(【0011】以降は省略されています)
この特許をJ-PlatPat(特許庁公式サイト)で参照する
関連特許
井関農機株式会社
田植機
1か月前
井関農機株式会社
作業車両
5日前
井関農機株式会社
田植え機
1か月前
井関農機株式会社
作業車両
27日前
井関農機株式会社
農作業機
1か月前
井関農機株式会社
作業車両
1か月前
井関農機株式会社
作業車両
5日前
井関農機株式会社
作業車両
1か月前
井関農機株式会社
作業車両
1か月前
井関農機株式会社
農作業車
1か月前
井関農機株式会社
作業車両
1か月前
井関農機株式会社
作業車両
1か月前
井関農機株式会社
作業車両
1か月前
井関農機株式会社
作業車両
26日前
井関農機株式会社
農作業車
1か月前
井関農機株式会社
作業車両
1か月前
井関農機株式会社
作業車両
1か月前
井関農機株式会社
作業車両
1か月前
井関農機株式会社
作業車両
1か月前
井関農機株式会社
作業車両
1か月前
井関農機株式会社
作業車両
1か月前
井関農機株式会社
作業車両
2か月前
井関農機株式会社
作業車両
2か月前
井関農機株式会社
作業車両
2か月前
井関農機株式会社
作業車両
2か月前
井関農機株式会社
作業車両
26日前
井関農機株式会社
作業車両
2か月前
井関農機株式会社
作業車両
14日前
井関農機株式会社
作業車両
12日前
井関農機株式会社
作業車両
14日前
井関農機株式会社
作業車両
14日前
井関農機株式会社
作業車両
13日前
井関農機株式会社
作業車両
13日前
井関農機株式会社
作業車両
26日前
井関農機株式会社
作業車両
13日前
井関農機株式会社
作業車両
25日前
続きを見る
他の特許を見る