TOP
|
特許
|
意匠
|
商標
特許ウォッチ
Twitter
他の特許を見る
公開番号
2025171342
公報種別
公開特許公報(A)
公開日
2025-11-20
出願番号
2024076556
出願日
2024-05-09
発明の名称
エンジン
出願人
井関農機株式会社
代理人
弁理士法人新大阪国際特許事務所
主分類
F01N
3/28 20060101AFI20251113BHJP(機械または機関一般;機関設備一般;蒸気機関)
要約
【課題】従来、DPFとSCRを繋ぐ配管に振動によって破損を防止するために、DPFとSCRの間にフレキシブルな配管を備えて振動を吸収していた。然しながら、SCRを縦置き配置にした場合、配管の長さや縦置き配置の関係上エンジンから発生する振動により配管が破損する問題があった。そこで、エンジンと車体の振動による配管破損を防止したエンジンを提供する。
【解決手段】DPF8とSCR9を装備したエンジンにおいて、DPF8と縦置き配置したSCR9を繋ぐ配管の間にフレキシブル配管18をDPF8の直下に配置し、フレキシブル配管18の直下に尿素を噴射するドージングユニット19を配置する。
【選択図】図1
特許請求の範囲
【請求項1】
DPF(8)とSCR(9)を装備したエンジンにおいて、DPF(8)と縦置き配置したSCR(9)を繋ぐ配管の間にフレキシブル配管(18)をDPF(8)の直下に配置し、フレキシブル配管(18)の直下に尿素を噴射するドージングユニット(19)を配置したことを特徴とするエンジン。
続きを表示(約 320 文字)
【請求項2】
DPF(8)がパイプ(13)を構成部材とする支持台(11)にて位置調整自在に支持され、支持台(11)がエンジン(1)後部に設けた後部ステー(15)に固定されると共にボンネットの支持部材として共用され、DPF(8)に取付けブラケット(8b)にて差圧センサ(8c)を設けたことを特徴とする請求項1に記載のエンジン。
【請求項3】
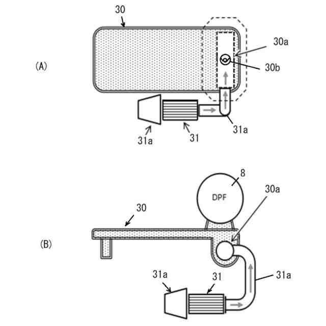
EGRシステムを有するDPF(8)を装備したディーゼルエンジン(1)の直下に設けたDPFブラケット(30)に排気側から吸気側につながる通路(30a)を設け、該通路(30a)にEGRクーラ(31)出口の配管(31a)を接続したことを特徴とする請求項1または請求項2に記載のエンジン。
発明の詳細な説明
【技術分野】
【0001】
本発明は、トラクタやコンバインや土木作業機等の作業機や走行車両に搭載するエンジンに関する。
続きを表示(約 1,100 文字)
【背景技術】
【0002】
従来、DPFとSCRを繋ぐ配管に振動によって破損を防止するために、DPFとSCRの間にフレキシブルな配管を備えて振動を吸収していた(例えば、特許文献1参照)。
【先行技術文献】
【特許文献】
【0003】
特開2016-160908号公報
【発明の概要】
【発明が解決しようとする課題】
【0004】
従来の構成では、SCRを縦置き配置にした場合、配管の長さや縦置き配置の関係上エンジンから発生する振動により配管が破損する問題があった。
【0005】
本発明は、上記に鑑みてなされたものであって、エンジンと車体の振動による配管破損を防止したエンジンを提供することを目的とする。
【課題を解決するための手段】
【0006】
請求項1記載の発明は、DPF8とSCR9を装備したエンジンにおいて、DPF8と縦置き配置したSCR9を繋ぐ配管の間にフレキシブル配管18をDPF8の直下に配置し、フレキシブル配管18の直下に尿素を噴射するドージングユニット19を配置したエンジンである。
【0007】
請求項1記載の発明によれば、DPF8と縦置き配置したSCR9を繋ぐ配管の間にフレキシブル配管18をDPF8の直下に配置することで、DPF8(エンジン1)から発生する振動をより上手で打ち消すことができるため、DPF8と縦置きされたSCR9を繋ぐ配管の破損防止が図れる。
【0008】
また、フレキシブル配管18の直下に尿素を噴射するドージングユニット19を配置することで、DPF8(エンジン1)からの振動の影響を受けないため、ドージングユニット19の破損防止が図れる。
【0009】
請求項2記載の発明は、DPF8がパイプ13を構成部材とする支持台11にて位置調整自在に支持され、支持台11がエンジン1後部に設けた後部ステー15に固定されると共にボンネットの支持部材として共用され、DPF8に取付けブラケット8bにて差圧センサ8cを設けた請求項1に記載のエンジンである。
【0010】
請求項3記載の発明は、EGRシステムを有するDPF8を装備したディーゼルエンジン1の直下に設けたDPFブラケット30に排気側から吸気側につながる通路30aを設け、該通路30aにEGRクーラ31出口の配管31aを接続した請求項1または請求項2に記載のエンジンである。
【図面の簡単な説明】
(【0011】以降は省略されています)
この特許をJ-PlatPat(特許庁公式サイト)で参照する
関連特許
他の特許を見る