TOP
|
特許
|
意匠
|
商標
特許ウォッチ
Twitter
他の特許を見る
公開番号
2025171315
公報種別
公開特許公報(A)
公開日
2025-11-20
出願番号
2024076520
出願日
2024-05-09
発明の名称
作業車両
出願人
井関農機株式会社
代理人
弁理士法人新大阪国際特許事務所
主分類
A01B
69/00 20060101AFI20251113BHJP(農業;林業;畜産;狩猟;捕獲;漁業)
要約
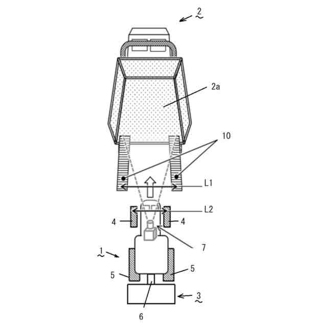
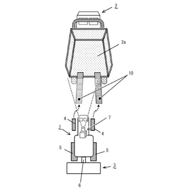
【課題】カメラを備え対地作業を行う際の自動走行に利用する農業機械がある。カメラは作業時にのみ使用されており、カメラを圃場での作業中の自動走行以外に利用するものではない。そこで、カメラを作業中の自動走行以外にも利用することで作業性を向上させた作業車両を提供する。
【解決手段】走行装置4にて走行し作業装置3及びカメラ7を装備した作業車両において、トラック等の運搬車2に積載する際に、歩み板10の位置をカメラ7で検出して歩み板10と走行装置4の位置関係を解析し、走行装置4が歩み板10に載るように走行装置4を自動操舵制御する。
【選択図】図1
特許請求の範囲
【請求項1】
走行装置(4)にて走行し作業装置(3)及びカメラ(7)を装備した作業車両において、トラック等の運搬車(2)に積載する際に、歩み板(10)の位置をカメラ(7)で検出して歩み板(10)と走行装置(4)の位置関係を解析し、走行装置(4)が歩み板(10)に載るように走行装置(4)を自動操舵制御することを特徴とする作業車両。
続きを表示(約 480 文字)
【請求項2】
運搬車(2)に積載する際に、カメラ(7)で検出した歩み板(10)の位置と運搬車(2)の荷台(2a)の位置及び形状と作業装置(3)の形状から荷台(2a)と作業装置(3)が接触する危険があるか判断し、接触する危険がある場合には走行装置(4)を自動操舵制御して接触しないようにする、または/及び、接触の危険があることを音声警報等の報知手段にて警告することを特徴とする請求項1記載の作業車両。
【請求項3】
運搬車(2)に積載する際に、カメラ(7)で左右に並べて掛け渡した歩み板(10)の間隔(L1)を検出し、歩み板(10)の間隔(L1)と左右走行装置(4)の幅(L2)を比較し、歩み板(10)の間隔(L1)と左右走行装置(4)の幅(L2)が一致していない場合は音声警報等の報知手段にて警告することを特徴とする請求項1または請求項2記載の作業車両。
【請求項4】
歩み板(10)の間隔(L1)と左右走行装置(4)の幅(L2)が一致した場合は音または/及び光で報知することを特徴とする請求項3に記載の作業車両。
発明の詳細な説明
【技術分野】
【0001】
本発明は、走行車体に作業装置を装着した作業車両に関する。
続きを表示(約 1,100 文字)
【背景技術】
【0002】
カメラを備え対地作業を行う際の自動走行に利用する農業機械がある(例えば、特許文献1参照)。
【先行技術文献】
【特許文献】
【0003】
特開2022-183169号公報
【発明の概要】
【発明が解決しようとする課題】
【0004】
カメラは作業時にのみ使用されており、カメラを圃場での作業中の自動走行以外に利用するものではない。
【0005】
本発明は、上記に鑑みてなされたものであって、カメラを作業中の自動走行以外にも利用することで作業性を向上させた作業車両を提供することを目的とする。
【課題を解決するための手段】
【0006】
請求項1記載の発明は、走行装置4にて走行し作業装置3及びカメラ7を装備した作業車両において、トラック等の運搬車2に積載する際に、歩み板10の位置をカメラ7で検出して歩み板10と走行装置4の位置関係を解析し、走行装置4が歩み板10に載るように走行装置4を自動操舵制御する作業車両である。
【0007】
請求項1記載の発明によれば、トラック等の運搬車2に積載する際に、歩み板10の位置をカメラ7で検出して歩み板10と走行装置4の位置関係を解析し、走行装置4が歩み板10に載るように走行装置4を自動操舵制御するので、積載時の作業車両の横転を防ぐことができる。
【0008】
請求項2記載の発明は、運搬車2に積載する際に、カメラ7で検出した歩み板10の位置と運搬車2の荷台2aの位置及び形状と作業装置3の形状から荷台2aと作業装置3が接触する危険があるか判断し、接触する危険がある場合には走行装置4を自動操舵制御して接触しないようにする、または/及び、接触の危険があることを音声警報等の報知手段にて警告する請求項1記載の作業車両である。
【0009】
請求項3記載の発明は、運搬車2に積載する際に、カメラ7で左右に並べて掛け渡した歩み板10の間隔L1を検出し、歩み板10の間隔L1と左右走行装置4の幅L2を比較し、歩み板10の間隔L1と左右走行装置4の幅L2が一致していない場合は音声警報等の報知手段にて警告する請求項1または請求項2記載の作業車両である。
【0010】
請求項4記載の発明は、歩み板10の間隔L1と左右走行装置4の幅L2が一致した場合は音または/及び光で報知する請求項3に記載の作業車両である。
【図面の簡単な説明】
(【0011】以降は省略されています)
この特許をJ-PlatPat(特許庁公式サイト)で参照する
関連特許
井関農機株式会社
作業車両
2か月前
井関農機株式会社
作業車両
21日前
井関農機株式会社
作業車両
1か月前
井関農機株式会社
作業車両
1か月前
井関農機株式会社
作業車両
2日前
井関農機株式会社
作業車両
1か月前
井関農機株式会社
作業車両
1か月前
井関農機株式会社
作業車両
29日前
井関農機株式会社
作業車両
29日前
井関農機株式会社
作業車両
1か月前
井関農機株式会社
作業車両
1か月前
井関農機株式会社
作業車両
21日前
井関農機株式会社
作業車両
21日前
井関農機株式会社
エンジン
21日前
井関農機株式会社
作業車両
21日前
井関農機株式会社
苗移植機
21日前
井関農機株式会社
作業車両
1か月前
井関農機株式会社
作業車両
1か月前
井関農機株式会社
作業車両
14日前
井関農機株式会社
農作業機
13日前
井関農機株式会社
作業車両
1か月前
井関農機株式会社
作業車両
1か月前
井関農機株式会社
作業車両
2か月前
井関農機株式会社
作業車両
2か月前
井関農機株式会社
苗移植機
2日前
井関農機株式会社
作業車両
1か月前
井関農機株式会社
水田作業機
1か月前
井関農機株式会社
コンバイン
1か月前
井関農機株式会社
コンバイン
今日
井関農機株式会社
屋外作業車
27日前
井関農機株式会社
圃場作業機
1か月前
井関農機株式会社
電動芝刈機
15日前
井関農機株式会社
圃場作業機
6日前
井関農機株式会社
野菜収穫機
13日前
井関農機株式会社
乗用型苗植機
1か月前
井関農機株式会社
根菜類収穫機
1か月前
続きを見る
他の特許を見る