TOP
|
特許
|
意匠
|
商標
特許ウォッチ
Twitter
他の特許を見る
公開番号
2025169746
公報種別
公開特許公報(A)
公開日
2025-11-14
出願番号
2024074794
出願日
2024-05-02
発明の名称
屋外作業車
出願人
井関農機株式会社
代理人
弁理士法人新大阪国際特許事務所
主分類
A01B
69/00 20060101AFI20251107BHJP(農業;林業;畜産;狩猟;捕獲;漁業)
要約
【課題】本発明は、自動走行の屋外作業車が気象の変化で事故を起こさないようにすることが課題である。
【解決手段】測位装置61で機体の地図上位置を認識しながら自動走行で圃場9を作業走行及び各圃場9間を移動走行する屋外作業車で、制御装置30が内蔵するタイマー42の日時情報と通信装置63で外部から入手する気象予報で、作業予定日時の気象予報に基づいて走行或いは作業が困難である場合には作業車両1の管理者が持つ遠隔操作端末7に報知することを特徴とする屋外作業車とする。
【選択図】図2
特許請求の範囲
【請求項1】
測位装置(61)で機体の地図上位置を認識しながら自動走行で圃場(9)を作業走行及び各圃場(9)間を移動走行する屋外作業車で、制御装置(30)が内蔵するタイマー(42)の日時情報と通信装置(63)で外部から入手する気象予報で、作業予定日時の気象予報に基づいて走行或いは作業が困難である場合には作業車両(1)の管理者が持つ遠隔操作端末(7)に報知することを特徴とする屋外作業車。
続きを表示(約 270 文字)
【請求項2】
気象予報が降雨予報で、降雨予測量が所定限界以上であると走行不可を通知することを特徴とする請求項1に記載の屋外作業車。
【請求項3】
降雨予測量が所定限界以下の第一降雨量以下であれば、低速自動走行を可能にする請求項1に記載の屋外作業車。
【請求項4】
気象予報が風速で、風速予報が所定限界風速以上であれば走行不可を通知することを特徴とする請求項1に記載の屋外作業車。
【請求項5】
風速予報が所定限界風速以下の第一風速であれば、低速自動走行を可能にする請求項1に記載の屋外作業車。
発明の詳細な説明
【技術分野】
【0001】
本発明は、屋外の圃場等を自動制御で走行する屋外作業車に関する。
続きを表示(約 910 文字)
【背景技術】
【0002】
圃場で自動走行によって農作業を行い、その圃場での農作業が終了すると他の圃場へ自動走行で移動して農作業を続ける作業車が特開2022-32803号公報に記載されている。
【先行技術文献】
【特許文献】
【0003】
特開2022-32803号公報
【発明の概要】
【発明が解決しようとする課題】
【0004】
前記の屋外作業車は、管理者が操縦することなく、自動走行で省力的な農作業を行うことが可能であるが、圃場を繋ぐ道路が舗装されていない農道のために、降雨などで崩れることがあったり、濃霧の発生によって自動走行が困難になったりすることがある。
【0005】
本発明は、自動走行の屋外作業車が気象の変化で事故を起こさないようにすることが課題である。
【課題を解決するための手段】
【0006】
上記本発明の課題は、次の技術手段により解決される。
【0007】
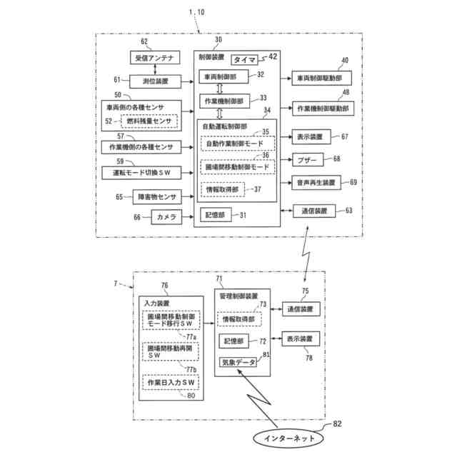
請求項1の発明は、測位装置61で機体の地図上位置を認識しながら自動走行で圃場9を作業走行及び各圃場9間を移動走行する屋外作業車で、制御装置30が内蔵するタイマー42の日時情報と通信装置63で外部から入手する気象予報で、作業予定日時の気象予報に基づいて走行或いは作業が困難である場合には作業車両1の管理者が持つ遠隔操作端末7に報知することを特徴とする屋外作業車とする。
【0008】
請求項2の発明は、気象予報が降雨予報で、降雨予測量が所定限界以上であると走行不可を通知することを特徴とする請求項1に記載の屋外作業車とする。
【0009】
請求項3の発明は、降雨予測量が所定限界以下の第一降雨量以下であれば、低速自動走行を可能にする請求項1に記載の屋外作業車とする。
【0010】
請求項4の発明は、気象予報が風速で、風速予報が所定限界風速以上であれば走行不可を通知することを特徴とする請求項1に記載の屋外作業車とする。
(【0011】以降は省略されています)
この特許をJ-PlatPat(特許庁公式サイト)で参照する
関連特許
井関農機株式会社
作業車両
16日前
井関農機株式会社
エンジン
16日前
井関農機株式会社
作業車両
1か月前
井関農機株式会社
作業車両
24日前
井関農機株式会社
作業車両
24日前
井関農機株式会社
作業車両
1か月前
井関農機株式会社
作業車両
1か月前
井関農機株式会社
作業車両
1か月前
井関農機株式会社
作業車両
16日前
井関農機株式会社
作業車両
16日前
井関農機株式会社
作業車両
16日前
井関農機株式会社
作業車両
1か月前
井関農機株式会社
苗移植機
16日前
井関農機株式会社
作業車両
1か月前
井関農機株式会社
作業車両
1か月前
井関農機株式会社
作業車両
9日前
井関農機株式会社
農作業機
8日前
井関農機株式会社
作業車両
1か月前
井関農機株式会社
作業車両
1か月前
井関農機株式会社
作業車両
1か月前
井関農機株式会社
作業車両
1か月前
井関農機株式会社
コンバイン
1か月前
井関農機株式会社
圃場作業機
29日前
井関農機株式会社
圃場作業機
1日前
井関農機株式会社
屋外作業車
22日前
井関農機株式会社
電動芝刈機
10日前
井関農機株式会社
野菜収穫機
8日前
井関農機株式会社
水田作業機
1か月前
井関農機株式会社
乗用型苗植機
29日前
井関農機株式会社
根菜類収穫機
1か月前
井関農機株式会社
乗用型苗植機
1か月前
井関農機株式会社
収穫作業車両
2日前
井関農機株式会社
自動精米洗米炊飯機
29日前
井関農機株式会社
乗用作業車の操縦装置
29日前
井関農機株式会社
エンドエフェクターおよび作業車両
17日前
井関農機株式会社
作業車両
1か月前
続きを見る
他の特許を見る