TOP
|
特許
|
意匠
|
商標
特許ウォッチ
Twitter
他の特許を見る
10個以上の画像は省略されています。
公開番号
2025159145
公報種別
公開特許公報(A)
公開日
2025-10-17
出願番号
2025135834,2021199792
出願日
2025-08-18,2021-12-09
発明の名称
作業車両
出願人
井関農機株式会社
代理人
主分類
B60T
13/74 20060101AFI20251009BHJP(車両一般)
要約
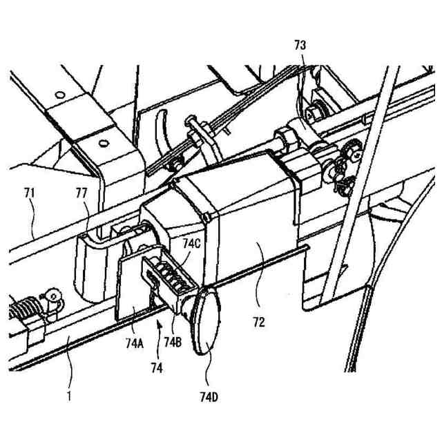
【課題】ブレーキペダルとブレーキを連結するロッドに連結された電動シリンダを容易に着脱することができる作業車両を提供する。
【解決手段】前記走行車体(1)に操縦者が搭乗する操縦部(6)を設け、前記操縦部(6)のブレーキペダル(68)と、前記後輪(3)を制動するブレーキ(70)をロッド(71)で連結し、前記ロッド(71)を前記ブレーキ(70)が前記後輪(3)を制動する方向に作動させる電動シリンダ(72)を設け、前記電動シリンダ(72)は付勢手段(76B)によって付勢されたピン(74C)を介して前記走行車体(1)に固定され、前記ピン(74C)の端部には前記付勢手段(76B)に抗して前記ピン(74C)を手動で引き抜くための把持部(74D)を備える構成とした。
【選択図】図19
特許請求の範囲
【請求項1】
後輪(3)を有する走行車体(1)と、
前記走行車体(1)に操縦者が搭乗する操縦部(6)を設け、
前記操縦部(6)のブレーキペダル(68)と、前記後輪(3)を制動するブレーキ(70)をロッド(71)で連結し、
前記ロッド(71)を前記ブレーキ(70)が前記後輪(3)を制動する方向に作動させる電動シリンダ(72)を設け、
前記電動シリンダ(72)は付勢手段(76B)によって付勢されたピン(74C)を介して前記走行車体(1)に固定され、
前記ピン(74C)の端部には前記付勢手段(76B)に抗して前記ピン(74C)を手動で引き抜くための把持部(74D)を備える作業車両。
続きを表示(約 850 文字)
【請求項2】
前記電動シリンダ(72)の一端は前記走行車体(1)に固定され、他端は前記ロッド(71)に連結されている請求項1記載の作業車両。
【請求項3】
前記ピン(74C)の外周部に延出する突起部(76A)を形成し、
前記ピン(74C)を、前記ピン(74C)の軸方向に摺動可能に支持する着脱装置(74)の前板(75A)と後板(75B)の少なくともいずれか一方に、前記突起部(76A)と係合し、前記ピン(74C)の軸方向の摺動を案内する第1ガイド溝(75D)と、前記ピン(74C)の軸方向の摺動を規制する第2ガイド溝(75E)を形成した請求項1又は2記載の作業車両。
【請求項4】
前記走行車体(1)の上面における操縦部(6)の前側にボンネット部(5)を設け、
前記走行車体(1)の下面における前輪(2)と後輪(3)の間に芝等の雑草を刈取る作業機(4)を設け、
前記後輪(3)を駆動する第1電動機(30)と作業機(4)を駆動する第2電動機(40)を、前記操縦部(6)の操縦席(60)の下方後側に設け、
前記第1電動機(30)と第2電動機(40)に供給する電力を蓄電するバッテリ(50)を、前記ボンネット部(5)に設けた請求項3に記載の作業車両。
【請求項5】
前記第1電動機(30)の第1出力軸(30A)を左右方向に沿って設け、前記第2電動機(40)の第2出力軸(40A)を前後方向に沿って設け、
前記第1電動機(30)の一側に、前記第1出力軸(30A)の出力回転の減速と回転方向の切替えを行うギアボックス(31)を設け、
前記後輪(3)とギアボックス(31)を左右方向に延在するドライブシャフト(33)で連結し、背面視において、前記第1電動機(30)を前記第2電動機(40)よりも上側に設け、
前記第2出力軸(40A)をドライブシャフト(33)よりも上側に設けた請求項4に記載の作業車両。
発明の詳細な説明
【技術分野】
【0001】
本発明は、公園等を走行して芝等の刈取りを行う作業車両に関するものである。
続きを表示(約 2,000 文字)
【背景技術】
【0002】
従来、操縦者の負担を軽減するために、ブレーキペダルと後輪の出力回転を制動するブレーキを連結するロッドに電動シリンダを連結して、操縦者のブレーキペダルの踏込みをアシストする手段が知られている。(特許文献1)
さらに、作業車両は、作業車両の後部にバッテリを搭載して、バッテリの電力を電動機に供給して、電動機の出力回転を後輪や作業車両の前部に昇降自在に支持されたモアデッキ等の作業機に伝動して駆動する手段が知られている。(特許文献2)
【先行技術文献】
【特許文献】
【0003】
特開2021-102978号公報
特開2020-156340号公報
【発明の概要】
【発明が解決しようとする課題】
【0004】
しかし、特許文献1の手段では、ブレーキを作動した状態で電動シリンダに断線によって電力供給されない等の不具合の発生、または特許文献2のような電動車両の電力が無くなった状態になった場合には、作業車両を路肩に移動することができないことから他の作業車両の走行を阻害する恐れがあった。
【0005】
そこで、本発明の主な目的は、ブレーキペダルとブレーキを連結するロッドに連結された電動シリンダを容易に着脱することができる作業車両を提供することにある。
【課題を解決するための手段】
【0006】
上記課題を解決した本発明は、後輪(3)を有する走行車体(1)と、前記走行車体(1)に操縦者が搭乗する操縦部(6)を設け、前記操縦部(6)のブレーキペダル(68)と、前記後輪(3)を制動するブレーキ(70)をロッド(71)で連結し、前記ロッド(71)を前記ブレーキ(70)が前記後輪(3)を制動する方向に作動させる電動シリンダ(72)を設け、前記電動シリンダ(72)は付勢手段(76B)によって付勢されたピン(74C)を介して前記走行車体(1)に固定され、前記ピン(74C)の端部には前記付勢手段(76B)に抗して前記ピン(74C)を手動で引き抜くための把持部(74D)を備える作業車両である。
【発明の効果】
【0007】
本発明によれば、不具合が発生した電動シリンダ(72)を容易に着脱して作業車両を路肩に移動させることができる。
【図面の簡単な説明】
【0008】
作業車両の左側面図である。
ボンネットカバーを開放姿勢にした作業車両の左側面図である。
作業車両の一部を破断した要部の斜視図である。
作業車両の背面図である。
後輪と作業機の要部の平面図である。
後輪と作業機の要部の左側面図である。
後輪用の電動機と作業機用の電動機の左側面図である。
走行車体の斜視図である。
ステアリングポストの斜視図である。
バッテリとバッテリブラケットの斜視図である。
バッテリブラケットの斜視図である。
前輪と、バッテリと、バッテリブラケットの正面図である。
作業車両の一部を破断した要部の平面図である。
電装部品の斜視図である。
インバータ装置の筐体の斜視図である。
バッテリ監視装置の筐体の斜視図である。
ブレーキペダルと、電動シリンダと、ドラムブレーキの左側面図である。
ブレーキペダルと、電動シリンダと、ドラムブレーキの平面図である。
電動シリンダの斜視図である。
電動シリンダの着脱装置の斜視図である。
電動シリンダの着脱装置の平面図である。
【発明を実施するための形態】
【0009】
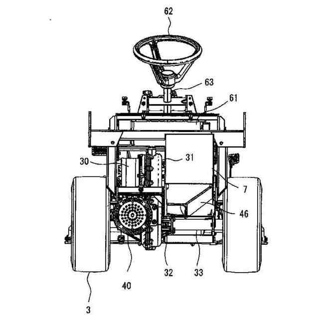
図1に示すように、乗用芝刈り機等の作業車両は、走行車体1と、走行車体1の前部に左右一対の前輪2が設けられ、走行車体1の後部に左右一対の後輪3が設けられ、走行車体1の下側における前輪2と後輪3の間に芝等を刈取る作業機4が設けられている。また、走行車体1の上側の前部にボンネット部5が設けられ、ボンネット部5の後側には操縦者が搭乗する操縦部6が設けられ、操縦部6の後側には作業機4で刈取られた芝等を貯留する集草容器7が設けられている。
【0010】
図2,3に示すように、ボンネット部5には、後輪3を駆動する電動機30等に供給する電力を蓄電するバッテリ50が設けられ、バッテリ50はボンネットカバー51で覆われている。なお、ボンネットカバー51は、走行車体1の前部に設けられた左右方向に延在する支軸(図示省略)に支持されている。これにより、ボンネット部5に形成される空間を有効に活用することができ、また、作業車両の前後方向の重量バランスの相違を抑制することができる。
(【0011】以降は省略されています)
この特許をJ-PlatPat(特許庁公式サイト)で参照する
関連特許
井関農機株式会社
作業車両
28日前
井関農機株式会社
作業車両
28日前
井関農機株式会社
作業車両
28日前
井関農機株式会社
作業車両
27日前
井関農機株式会社
作業車両
29日前
井関農機株式会社
作業車両
29日前
井関農機株式会社
作業車両
20日前
井関農機株式会社
作業車両
20日前
井関農機株式会社
作業車両
29日前
井関農機株式会社
作業車両
1か月前
井関農機株式会社
作業車両
1か月前
井関農機株式会社
作業車両
7日前
井関農機株式会社
作業車両
7日前
井関農機株式会社
圃場作業機
12日前
井関農機株式会社
水田作業機
22日前
井関農機株式会社
屋外作業車
5日前
井関農機株式会社
コンバイン
1か月前
井関農機株式会社
根菜類収穫機
23日前
井関農機株式会社
乗用型苗植機
21日前
井関農機株式会社
乗用型苗植機
12日前
井関農機株式会社
自動精米洗米炊飯機
12日前
井関農機株式会社
乗用作業車の操縦装置
12日前
井関農機株式会社
エンドエフェクターおよび作業車両
今日
井関農機株式会社
作業車両
1か月前
井関農機株式会社
水田作業機
22日前
井関農機株式会社
籾摺選別機
1か月前
井関農機株式会社
籾摺選別機
1か月前
個人
タイヤレバー
3か月前
個人
前輪キャスター
2か月前
個人
上部一体型自動車
1か月前
個人
タイヤ脱落防止構造
2か月前
個人
空間形成装置
20日前
個人
ルーフ付きトライク
3か月前
日本精機株式会社
表示装置
3か月前
日本精機株式会社
表示装置
3か月前
日本精機株式会社
表示装置
3か月前
続きを見る
他の特許を見る