TOP
|
特許
|
意匠
|
商標
特許ウォッチ
Twitter
他の特許を見る
公開番号
2025167278
公報種別
公開特許公報(A)
公開日
2025-11-07
出願番号
2024071753
出願日
2024-04-25
発明の名称
乗用作業車の操縦装置
出願人
井関農機株式会社
代理人
弁理士法人新大阪国際特許事務所
主分類
A01B
69/00 20060101AFI20251030BHJP(農業;林業;畜産;狩猟;捕獲;漁業)
要約
【課題】本発明は、基本的には機体の操縦席に座って操縦操作を行って走行させるが、機体から降りて走行させることもある乗用作業車の操縦装置で安全警報を適切に作動させることを課題とする。
【解決手段】操縦席20に座ってシートベルト33を締めないで主変速レバー17を走行側に操作すると警報器38が着座警報を出力する乗用作業車において、作業者が歩行しながら操作する微速前進レバー8を使用して走行させた場合には着座警報を出力しないことを特徴とする乗用作業車の操縦装置とする。
【選択図】図4
特許請求の範囲
【請求項1】
操縦席(20)に座ってシートベルト(33)を締めないで主変速レバー(17)を走行側に操作すると警報器(38)が着座警報を出力する乗用作業車において、作業者が歩行しながら操作する微速前進レバー(8)を使用して走行させた場合には着座警報を出力しないことを特徴とする乗用作業車の操縦装置。
続きを表示(約 460 文字)
【請求項2】
操縦席(20)の前に設けるステアリングハンドル(16)下部の操作パネル(13)に着座警報を出力する警報器(38)を設けたことを特徴とする請求項1に記載の乗用作業車の操縦装置。
【請求項3】
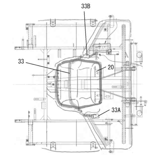
エンジンカバー(18)上に設けた操縦席(20)の左側部にシートベルト引出部(33A)を車体(1)に取り付け、操縦席(20)の右側部で車体(1)に設けるシートベルトロック部(33B)との間で操縦席(20)に座る作業者を保持拘束するシートベルト(33)を設けたことを特徴とする請求項1に記載の乗用作業車の操縦装置。
【請求項4】
走行速度センサ(60)が極低速ではシートベルト(33)を締めないでも警報器(38)を作動させないことを特徴とする請求項1に記載の乗用作業車の操縦装置。
【請求項5】
駐車ブレーキセンサ(61)が駐車操作を検出して所定時間後にシートベルトロック部(33B)のロックを解除することを特徴とする請求項3に記載の乗用作業車の操縦装置。
発明の詳細な説明
【技術分野】
【0001】
本発明は、作業時に乗車して操縦するが、危険地を走行する際には機体から降りて歩行しながら操縦することの出来る乗用作業車の操縦装置に関する。
続きを表示(約 1,200 文字)
【背景技術】
【0002】
特許文献1には、乗用作業車として乗用田植機が記載され、この乗用田植機は、路上を走行したり圃場で苗の移植作業を行ったりする場合には作業者が機体に設けた操縦席に座って操縦操作を行うが、圃場への出入りで機体が不安定になる場合には作業者が機体から降りて機体の前部に設ける微速前進レバーを操作して機体を走行させるようにしている。
【先行技術文献】
【特許文献】
【0003】
特許第7156479号公報
【発明の概要】
【発明が解決しようとする課題】
【0004】
作業者が機体に設けた操縦席に座って操縦しながら作業を行う乗用作業車は、作業者が操縦席から振り落とされないように作業者を操縦席に拘束するシートベルトが設けられ、機体を走行させる際にシートベルトを絞めていないと警報や警告ランプ等の安全警報が作動して作業者に注意を促す。しかし、機体が不安定になる可能性が高い場合は作業者が機体の側部を歩行しながら機体前部に設ける微速前進レバーを操作して機体を走行させるようにしているが、その際には安全警報が不要で、警報が鳴ると煩わしい場合がある。
【0005】
本発明は、基本的には機体の操縦席に座って操縦操作を行って走行させるが、機体から降りて走行させることもある乗用作業車の操縦装置で安全警報を適切に作動させることを課題とする。
【課題を解決するための手段】
【0006】
上記本発明の課題は、次の技術手段により解決される。
【0007】
請求項1の発明は、操縦席20に座ってシートベルト33を締めないで主変速レバー17を走行側に操作すると警報器38が着座警報を出力する乗用作業車において、作業者が歩行しながら操作する微速前進レバー8を使用して走行させた場合には着座警報を出力しないことを特徴とする乗用作業車の操縦装置とする。
【0008】
請求項2の発明は、操縦席20の前に設けるステアリングハンドル16下部の操作パネル13に着座警報を出力する警報器38を設けたことを特徴とする請求項1に記載の乗用作業車の操縦装置とする。
【0009】
請求項3の発明は、エンジンカバー18上に設けた操縦席20の左側部にシートベルト引出部33Aを車体1に取り付け、操縦席20の右側部で車体1に設けるシートベルトロック部33Bとの間で操縦席20に座る作業者を保持拘束するシートベルト33を設けたことを特徴とする請求項1に記載の乗用作業車の操縦装置とする。
【0010】
請求項4の発明は、走行速度センサ60が極低速ではシートベルト33を締めないでも警報器38を作動させないことを特徴とする請求項1に記載の乗用作業車の操縦装置とする。
(【0011】以降は省略されています)
この特許をJ-PlatPat(特許庁公式サイト)で参照する
関連特許
井関農機株式会社
作業車両
1か月前
井関農機株式会社
作業車両
1か月前
井関農機株式会社
作業車両
2か月前
井関農機株式会社
作業車両
1か月前
井関農機株式会社
作業車両
1か月前
井関農機株式会社
作業車両
1か月前
井関農機株式会社
作業車両
1か月前
井関農機株式会社
作業車両
1か月前
井関農機株式会社
作業車両
2か月前
井関農機株式会社
作業車両
26日前
井関農機株式会社
作業車両
2か月前
井関農機株式会社
作業車両
1か月前
井関農機株式会社
作業車両
1か月前
井関農機株式会社
作業車両
1か月前
井関農機株式会社
作業車両
1か月前
井関農機株式会社
作業車両
2か月前
井関農機株式会社
作業車両
1か月前
井関農機株式会社
作業車両
1か月前
井関農機株式会社
作業車両
26日前
井関農機株式会社
作業車両
18日前
井関農機株式会社
作業車両
2か月前
井関農機株式会社
農作業機
10日前
井関農機株式会社
作業車両
11日前
井関農機株式会社
農作業機
2か月前
井関農機株式会社
苗移植機
18日前
井関農機株式会社
作業車両
18日前
井関農機株式会社
エンジン
18日前
井関農機株式会社
作業車両
18日前
井関農機株式会社
作業車両
18日前
井関農機株式会社
圃場作業機
3日前
井関農機株式会社
圃場作業機
1か月前
井関農機株式会社
水田作業機
1か月前
井関農機株式会社
野菜収穫機
10日前
井関農機株式会社
コンバイン
1か月前
井関農機株式会社
屋外作業車
24日前
井関農機株式会社
電動芝刈機
12日前
続きを見る
他の特許を見る