TOP
|
特許
|
意匠
|
商標
特許ウォッチ
Twitter
他の特許を見る
公開番号
2025156757
公報種別
公開特許公報(A)
公開日
2025-10-15
出願番号
2024059381
出願日
2024-04-02
発明の名称
コンバイン
出願人
井関農機株式会社
代理人
弁理士法人新大阪国際特許事務所
主分類
A01D
41/127 20060101AFI20251007BHJP(農業;林業;畜産;狩猟;捕獲;漁業)
要約
【課題】グレンタンク前後の一方下方にロードセルを設け、収穫された穀粒量を重量から算出するコンバインがある。然しながら、貯留が始まった初期の穀粒量が少ないうちは、穀粒がグレンタンクの底部に拡散して入り込むと、ロードセルが正確に重量を検出できない課題があった。そこで、穀粒の貯留量が少ない初期から、正確な重量の検出が可能なコンバインを提供する。
【解決手段】走行装置を設けた車台に刈取装置、脱穀装置及び貯留タンク7を装備したコンバインにおいて、貯留タンク7の重量を計測する重量センサ21を設け、貯留タンク7の穀粒投入口23よりも下方に投入される穀粒の移動を規制して所定位置に穀粒を集積させる仕切り板24を設ける。
【選択図】図3
特許請求の範囲
【請求項1】
走行装置(4)を設けた車台(2)に刈取装置(15)、脱穀装置(6)及び貯留タンク(7)を装備したコンバインにおいて、貯留タンク(7)の重量を計測する重量センサ(21)を設け、貯留タンク(7)の穀粒投入口(23)よりも下方に投入される穀粒の移動を規制して所定位置に穀粒を集積させる仕切り板(24)を設けたことを特徴とするコンバイン。
続きを表示(約 670 文字)
【請求項2】
仕切り板(24)が貯留タンク(7)の底部に設けた穀粒を排出する排出搬送装置(22)の上部から貯留タンク(7)の上下中間位置付近に亘る上下高さで貯留タンク(7)を前後または左右に仕切ることを特徴とする請求項1に記載のコンバイン。
【請求項3】
貯留タンク(7)の上部に設けた穀粒を入り込ませる穀粒投入口(23)の後側に穀粒投入口(23)から投入される穀粒が貯留タンク(7)の後部側に飛散することを防止する飛散防止板(25)が左右方向を長手方向として配置され、その上部が穀粒投入口(23)の上端部とほぼ同じ高さに位置し、下部が穀粒投入口(23)の下端部よりも下方に位置することを特徴とする請求項2に記載のコンバイン。
【請求項4】
仕切り板(24)上端と飛散防止板(25)下端の間に前部側に傾斜したガイド板(26)が設けられ、ガイド板(26)の上端が飛散防止板(25)下端よりも後部側に位置し、ガイド板(26)の下端が仕切り板(24)上端よりも前部側に位置して、穀粒投入口(23)から投入される穀粒を貯留タンク(7)の前部側に案内し、重量センサ(21)が前部側に設けられていることを特徴とする請求項3に記載のコンバイン。
【請求項5】
仕切り板(24)上端及び飛散防止板(25)下端とガイド板(26)上下端の間に間隔部(27U,27D)が設けられ、仕切り板(24)、飛散防止板(25)及びガイド板(26)が可撓性を有することを特徴とする請求項4に記載のコンバイン。
発明の詳細な説明
【技術分野】
【0001】
本発明は、刈取装置によって刈取られた穀桿を脱穀装置にて脱穀した穀粒を貯留する貯留タンクを装備したコンバインに関するものである。
続きを表示(約 950 文字)
【背景技術】
【0002】
グレンタンク前後の一方下方にロードセルを設け、収穫された穀粒量を重量から算出するコンバインがある(特許文献1)。
【0003】
(特許文献1参照)
【先行技術文献】
【特許文献】
【0004】
特開2018-198577号公報
【発明の概要】
【発明が解決しようとする課題】
【0005】
然しながら、貯留が始まった初期の穀粒量が少ないうちは、穀粒がグレンタンクの底部に拡散して入り込むと、ロードセルが正確に重量を検出できない課題があった。
【0006】
そこで、本発明は、穀粒の貯留量が少ない初期から、正確な重量の検出が可能なコンバインを提供する。
【課題を解決するための手段】
【0007】
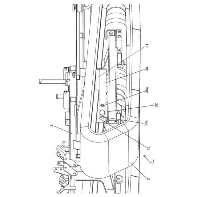
請求項1記載の発明は、走行装置4を設けた車台2に刈取装置15、脱穀装置6及び貯留タンク7を装備したコンバインにおいて、貯留タンク7の重量を計測する重量センサ21を設け、貯留タンク7の穀粒投入口23よりも下方に投入される穀粒の移動を規制して所定位置に穀粒を集積させる仕切り板24を設けたコンバインである。
【0008】
請求項1記載の発明によれば、貯留タンク7の穀粒投入口23よりも下方に投入される穀粒の移動を規制して所定位置に穀粒を集積させる仕切り板24を設けたので、貯留タンク7内の穀粒の貯留量が少ない時でも重量センサ21による重量測定を精度よく行うことができ、穀粒の貯留量を正確に算出することができる。
【0009】
請求項2記載の発明は、仕切り板24が貯留タンク7の底部に設けた穀粒を排出する排出搬送装置22の上部から貯留タンク7の上下中間位置付近に亘る上下高さで貯留タンク7を前後または左右に仕切る請求項1に記載のコンバインである。
【0010】
請求項2記載の発明によれば、仕切り板24が排出搬送装置22の搬送を妨げないと共に、一定以上穀粒が溜まると仕切り板24の上部を越えて穀粒を貯留させることができ、グレンタンク7の全容量に合わせた貯留ができる。
(【0011】以降は省略されています)
この特許をJ-PlatPat(特許庁公式サイト)で参照する
関連特許
個人
産卵床
5日前
個人
草刈り鋏
1か月前
個人
蠅捕獲器
1か月前
個人
平板植栽
6日前
個人
釣り用錘
23日前
個人
果実袋
5日前
個人
噴霧器ノズル
21日前
個人
蜜蜂保護装置
1か月前
個人
種子の製造方法
1か月前
個人
養殖器具
5日前
個人
草刈機用回転刃
1か月前
個人
移動体草刈り機
5日前
個人
昆虫捕集器
1か月前
個人
水田排水量調整器具
5日前
個人
可動リップ付きルアー
26日前
井関農機株式会社
作業車両
1か月前
株式会社剛樹
釣り竿
19日前
株式会社ナベル
表示システム
29日前
個人
餌付き針の餌取り防止具
29日前
個人
四足動物用装着具
1か月前
個人
ブルーカーボンシステム
26日前
井関農機株式会社
圃場作業機
26日前
積水樹脂株式会社
シート止め具
5日前
有限会社信英精密
括り罠
13日前
井関農機株式会社
苗移植機
13日前
松山株式会社
収穫機
26日前
みのる産業株式会社
除草機
29日前
松山株式会社
収穫機
26日前
みのる産業株式会社
除草機
29日前
個人
網口高さのベクトル底引き網
5日前
個人
粘着板で挟むネズミ捕り装置
5日前
井関農機株式会社
作業車両
1か月前
株式会社オーツボ
海苔箱船
1か月前
井関農機株式会社
作業車両
1か月前
三恵技研工業株式会社
ルアー
5日前
株式会社アテックス
芝草の刈取装置
12日前
続きを見る
他の特許を見る