TOP
|
特許
|
意匠
|
商標
特許ウォッチ
Twitter
他の特許を見る
10個以上の画像は省略されています。
公開番号
2025159212
公報種別
公開特許公報(A)
公開日
2025-10-17
出願番号
2025138151,2022029826
出願日
2025-08-21,2022-02-28
発明の名称
籾摺選別機
出願人
井関農機株式会社
代理人
主分類
B02B
7/02 20060101AFI20251009BHJP(破砕,または粉砕;製粉のための穀粒の前処理)
要約
【課題】
この発明は、籾の状態に応じてオペレータが所望の運転モードを選択することで、適切な籾摺選別運転を行うことができる籾摺選別機を提供することを課題とする。
【解決手段】
籾摺部(2)と、揺動選別部(6)と、揺動選別部(6)で選別された穀物を機内循環するか機外排出するかを切り換える循環排出切換弁(7)を備える籾摺選別機において、
循環排出切換弁(7)の循環と排出切換動作は、操作レバー(11)の手動操作又は制御部による自動切換えにより行う構成とし、
操作レバー(11)による手動操作により循環・排出を切り換える手動モードと、制御部(30)により循環・排出を切り換える自動モードを選択する選択手段(12)を設け、
選択手段(12)は籾摺選別運転中に手動モードと自動モードを切替可能とすることを特徴とする。
【選択図】図9
特許請求の範囲
【請求項1】
籾摺部(2)と、揺動選別部(6)と、揺動選別部(6)で選別された穀物を機内循環するか機外排出するかを切り換える循環排出切換弁(7)を備える籾摺選別機において、
循環排出切換弁(7)の循環と排出切換動作は、操作レバー(11)の手動操作又は制御部による自動切換えにより行う構成とし、
操作レバー(11)による手動操作により循環・排出を切り換える手動モードと、制御部(30)により循環・排出を切り換える自動モードを選択する選択手段(12)を設け、
選択手段(12)は籾摺選別運転中に手動モードと自動モードを切替可能とすることを特徴とする籾摺選別機。
続きを表示(約 440 文字)
【請求項2】
籾摺選別運転開始時に自動モードであって、籾摺選別運転開始から循環排出切換弁(7)が循環から排出に切り換わる前に選択手段(12)を自動モードから手動モードに切り替えると、循環排出切換弁(7)の循環から排出への切換は操作レバー(11)の手動操作による切換に移行し、
籾摺選別運転開始時に手動モードであって、籾摺選別運転開始から操作レバー(11)で循環排出切換弁(7)が循環から排出に切り換える前に選択手段(12)を手動モードから自動モードに切り替えると、循環排出切換弁(7)の循環から排出への切換は自動による切換に移行することを特徴とする請求項1記載の籾摺選別機。
【請求項3】
循環排出切換弁(7)が循環から排出に切り換わるときには操作レバー(11)による手動操作を行うと共に、排出から循環に切り換わるときには制御部(30)による自動操作を行う半自動モードを選択手段(12)に備えることを特徴とする請求項1又は請求項2記載の籾摺選別機。
発明の詳細な説明
【技術分野】
【0001】
本発明は、籾摺選別機に関する。
続きを表示(約 1,400 文字)
【背景技術】
【0002】
特許文献1には、籾摺選別機で循環と排出を自動で切り換える技術が開示されている。
【0003】
特許文献2には、籾摺選別機で循環と排出を手動で切り替える技術が開示されている。
【先行技術文献】
【特許文献】
【0004】
特許第5370563号公報
特許第6331000号公報
【発明の概要】
【発明が解決しようとする課題】
【0005】
籾の作柄や品種等により、揺動選別板における籾と玄米の選別状態が良好な場合や安定しない場合が生じる。玄米の選別状態が安定しない場合に排出を自動にすると、所定量以上の籾が機外に排出される玄米に混じり、仕上玄米の品質低下をもたらす。また、玄米の選別状態が安定している場合に排出を手動にするとオペレータが排出と循環を手動で切り替える必要があり、操作が煩雑になる。
【0006】
本発明は、作柄や品種に応じた適切な籾摺選別を行う籾摺選別機を提供することを課題とする。
【課題を解決するための手段】
【0007】
かかる課題を解決するために、請求項1記載の発明は、
籾摺部(2)と、揺動選別部(6)と、揺動選別部(6)で選別された穀物を機内循環するか機外排出するかを切り換える循環排出切換弁(7)を備える籾摺選別機において、
循環排出切換弁(7)の循環と排出切換動作は、操作レバー(11)の手動操作又は制御部による自動切換えにより行う構成とし、
操作レバー(11)による手動操作により循環・排出を切り換える手動モードと、制御部(30)により循環・排出を切り換える自動モードを選択する選択手段(12)を設け、
選択手段(12)は籾摺選別運転中に手動モードと自動モードを切替可能とすることを特徴とする。
【0008】
請求項2記載の発明は、請求項1記載の発明において、
籾摺選別運転開始時に自動モードであって、籾摺選別運転開始から循環排出切換弁(7)が循環から排出に切り換わる前に選択手段(12)を自動モードから手動モードに切り替えると、循環排出切換弁(7)の循環から排出への切換は操作レバー(11)の手動操作による切換に移行し、
籾摺選別運転開始時に手動モードであって、籾摺選別運転開始から操作レバー(11)で循環排出切換弁(7)が循環から排出に切り換える前に選択手段(12)を手動モードから自動モードに切り替えると、循環排出切換弁(7)の循環から排出への切換は自動による切換に移行することを特徴とする。
【0009】
請求項3記載の発明は、請求項1又は請求項2記載の発明において、
循環排出切換弁(7)が循環から排出に切り換わるときには操作レバー(11)による手動操作を行うと共に、排出から循環に切り換わるときには制御部(30)による自動操作を行う半自動モードを選択手段(12)に備えることを特徴とする。
【発明の効果】
【0010】
本発明により、籾の状態に応じてオペレータが所望の運転モードを選択することで、適切な籾摺選別運転を行うことができる。
【図面の簡単な説明】
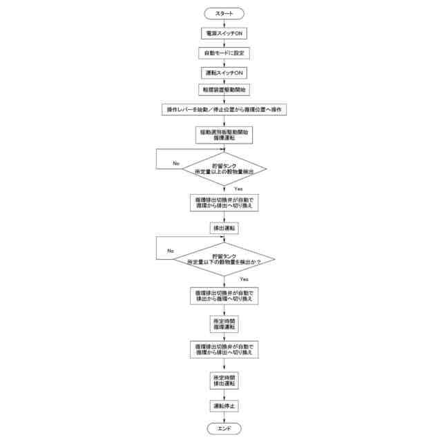
(【0011】以降は省略されています)
この特許をJ-PlatPat(特許庁公式サイト)で参照する
関連特許
井関農機株式会社
作業車両
1か月前
井関農機株式会社
苗移植機
18日前
井関農機株式会社
作業車両
26日前
井関農機株式会社
作業車両
26日前
井関農機株式会社
作業車両
18日前
井関農機株式会社
作業車両
18日前
井関農機株式会社
エンジン
18日前
井関農機株式会社
作業車両
18日前
井関農機株式会社
作業車両
18日前
井関農機株式会社
作業車両
11日前
井関農機株式会社
農作業機
10日前
井関農機株式会社
電動芝刈機
12日前
井関農機株式会社
圃場作業機
3日前
井関農機株式会社
野菜収穫機
10日前
井関農機株式会社
屋外作業車
24日前
井関農機株式会社
圃場作業機
1か月前
井関農機株式会社
収穫作業車両
4日前
井関農機株式会社
乗用型苗植機
1か月前
井関農機株式会社
自動精米洗米炊飯機
1か月前
井関農機株式会社
乗用作業車の操縦装置
1か月前
井関農機株式会社
エンドエフェクターおよび作業車両
19日前
井関農機株式会社
作業車両
5日前
井関農機株式会社
コンバイン
3日前
井関農機株式会社
営農管理システム
18日前
個人
回転衝撃式ローラ粉砕機
1か月前
株式会社アイシン
粉砕機
5日前
株式会社サタケ
醸造用精米機
1か月前
セイコーエプソン株式会社
微細化装置
5日前
セイコーエプソン株式会社
微細化装置
5日前
株式会社フロム工業
ディスポーザ
24日前
井関農機株式会社
自動精米洗米炊飯機
1か月前
油圧機工業有限会社
破砕機用の刃物、この刃物を利用する破砕機
18日前
個人
気泡緩衝材減容装置
1か月前
井関農機株式会社
籾摺選別機
1か月前
井関農機株式会社
籾摺選別機
1か月前
日本リーテック株式会社
コンクリート柱の破砕装置
3日前
続きを見る
他の特許を見る