TOP
|
特許
|
意匠
|
商標
特許ウォッチ
Twitter
他の特許を見る
公開番号
2025175783
公報種別
公開特許公報(A)
公開日
2025-12-03
出願番号
2024082044
出願日
2024-05-20
発明の名称
微細化装置
出願人
セイコーエプソン株式会社
代理人
個人
,
個人
,
個人
主分類
B02C
18/12 20060101AFI20251126BHJP(破砕,または粉砕;製粉のための穀粒の前処理)
要約
【課題】使用用途を多彩にすることができ、汎用性に優れる微細化装置を提供すること。
【解決手段】繊維を含む原料が投入される投入口と、原料が微細化された微細化物を排出する排出口と、を有するケーシングと、ケーシング内に収容され、ブレードを有し、回転軸回りに回転することにより原料を微細化処理するローターと、投入口の開閉を行うために設けられた第1シャッター部材と、を備え、第1シャッター部材は、原料を収納する収納空間を有し、収納空間と投入口とが連通する開状態と、収納空間と投入口とが遮断された閉状態と、が生じるように、収納空間が投入口に対して相対的に変位することを特徴とする微細化装置。
【選択図】図1
特許請求の範囲
【請求項1】
繊維を含む原料が投入される投入口と、前記原料が微細化された微細化物を排出する排出口と、を有するケーシングと、
前記ケーシング内に収容され、ブレードを有し、回転軸回りに回転することにより前記原料を微細化処理するローターと、
前記投入口の開閉を行うために設けられた第1シャッター部材と、を備え、
前記第1シャッター部材は、前記原料を収納する収納空間を有し、
前記収納空間と前記投入口とが連通する開状態と、前記収納空間と前記投入口とが遮断された閉状態と、が生じるように、前記収納空間が前記投入口に対して相対的に変位することを特徴とする微細化装置。
続きを表示(約 820 文字)
【請求項2】
前記第1シャッター部材は、前記回転軸と同軸または平行な軸回りに回転することにより前記開状態と前記閉状態とに変位する請求項1に記載の微細化装置。
【請求項3】
前記第1シャッター部材は、前記回転軸に沿った方向に貫通する貫通孔を有し、
前記貫通孔の内部に前記収納空間が形成されている請求項1または2に記載の微細化装置。
【請求項4】
前記収納空間は、1回分の微細化処理に対応した前記原料を収納する容積を有する請求項1または2に記載の微細化装置。
【請求項5】
前記第1シャッター部材および前記第1シャッター部材を開閉駆動する第1駆動部を有する第1開閉部と、
前記第1駆動部の駆動の制御を行う制御部と、を備える請求項1に記載の微細化装置。
【請求項6】
前記ローターを回転駆動するモーターを備え、
前記制御部は、前記モーターの駆動を制御する請求項5に記載の微細化装置。
【請求項7】
前記制御部は、前記微細化物の排出時には、前記モーターを前記原料の微細化処理中よりも遅い速度で回転するよう制御する請求項6に記載の微細化装置。
【請求項8】
前記制御部は、前記ローターの停止時に、前記ブレードが前記投入口を塞がない位置となるよう前記モーターの駆動を制御する請求項7に記載の微細化装置。
【請求項9】
前記排出口に設けられ、前記排出口の開閉を行う第2シャッター部材と、前記第2シャッター部材を開閉駆動する第2駆動部と、を有する第2開閉部を備え、
前記制御部は、前記第2駆動部の駆動の制御を行う請求項5に記載の微細化装置。
【請求項10】
前記回転軸が水平方向に対して交わる方向に沿って、かつ前記排出口が前記投入口よりも下方に位置するよう配置される請求項1に記載の微細化装置。
発明の詳細な説明
【技術分野】
【0001】
本発明は、微細化装置に関する。
続きを表示(約 1,900 文字)
【背景技術】
【0002】
例えば、特許文献1に記載されているような微粉砕機が知られている。特許文献1の微粉砕機は、原料入口部および出口部を有するケーシングと、ケーシングの内面に設けられたライナーと、ケーシング内で回転するローターと、を有する。原料入口部よりケーシング内に導入された原料は、回転しているローターとライナーとの間を通過する際に微粉砕され、得られた微粉砕物は出口部から排出される。
【先行技術文献】
【特許文献】
【0003】
特開平11-276916号公報
【発明の概要】
【発明が解決しようとする課題】
【0004】
しかしながら、特許文献1に記載されている微粉砕機では、連続的に原料を投入して微粉砕を行う構成であるため、例えば、原料の種類、投入量等を変更したり、微粉砕の速度、程度等の条件を変更したりする際、微粉砕機の作動を一旦停止し、微粉砕機の設定を変更する必要がある。しかも、設定変更のために、微粉砕機は、長時間停止する必要がある。このように、従来の微粉砕機は、連続式処理を前提として設計されたものであり、バッチ式処理に適しておらず、使用用途や使用条件、原料の選択等が限定的である。
【課題を解決するための手段】
【0005】
本発明の微細化装置は、繊維を含む原料が投入される投入口と、前記原料が微細化された微細化物を排出する排出口と、を有するケーシングと、
前記ケーシング内に収容され、ブレードを有し、回転軸回りに回転することにより前記原料を微細化処理するローターと、
前記投入口の開閉を行うために設けられた第1シャッター部材と、を備え、
前記第1シャッター部材は、前記原料を収納する収納空間を有し、
前記収納空間と前記投入口とが連通する開状態と、前記収納空間と前記投入口とが遮断された閉状態と、が生じるように、前記収納空間が前記投入口に対して相対的に変位する。
【図面の簡単な説明】
【0006】
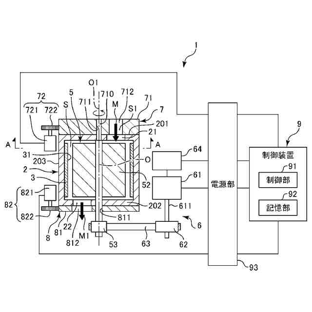
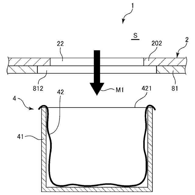
図1は、本発明の実施形態に係る微細化装置の概略を示す構成図(一部断面図)である。
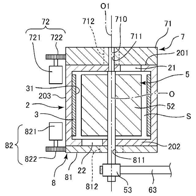
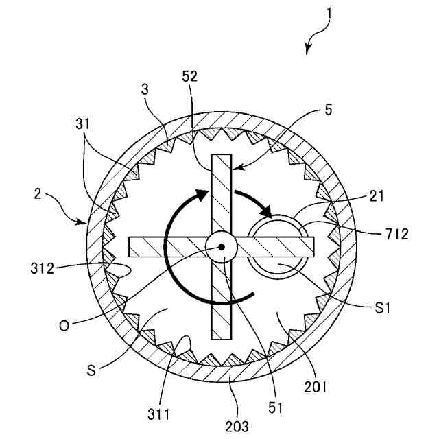
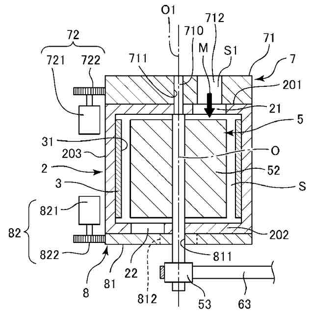
図2は、図1中のA-A線断面図である。
図3は、図1に示す微細化装置において、原料の投入前の状態を示す縦断面図である。
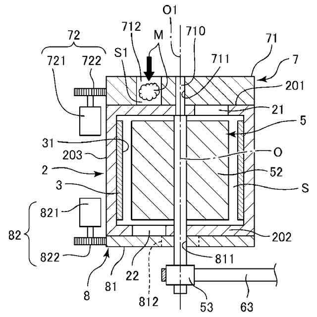
図4は、図1に示す微細化装置において、原料の投入時の状態を示す縦断面図である。
図5は、図1に示す微細化装置において、微細化処理中の状態を示す縦断面図である。
図6は、図1に示す微細化装置において、微細化物の排出時の状態を示す縦断面図である。
図7は、図1に示す微細化装置が備える回収部の縦断面図である。
図8は、図1に示す微細化装置が備える第1シャッター部材の変形例を示す斜視図である。
【発明を実施するための形態】
【0007】
以下、本発明の微細化装置を添付図面に示す好適な実施形態に基づいて詳細に説明する。
【0008】
図1は、本発明の実施形態に係る微細化装置の概略を示す構成図(一部断面図)である。図2は、図1中のA-A線断面図である。図3は、図1に示す微細化装置において、原料の投入前の状態を示す縦断面図である。図4は、図1に示す微細化装置において、原料の投入時の状態を示す縦断面図である。図5は、図1に示す微細化装置において、微細化処理中の状態を示す縦断面図である。図6は、図1に示す微細化装置において、微細化物の排出時の状態を示す縦断面図である。図7は、図1に示す微細化装置が備える回収部の縦断面図である。図8は、図1に示す微細化装置が備える第1シャッター部材の変形例を示す斜視図である。
【0009】
なお、以下では、図1、3、4、5、6および7の上側を「上」または「上方」、下側を「下」または「下方」と言うことがある。また、図1、3、4、5、6および7の左側を「左」または「左側」、右側を「右」または「右側」と言うことがある。
【0010】
図1に示す微細化装置1は、供給された原料を微細化して微細化物を排出するものであり、本実施形態では、微細化装置1は、原料の一例である繊維を含むシートが粗砕された粗砕片Mに対し微細化処理、すなわち、解繊処理を行い、微細化物の一例である解繊物M1を生成する装置である。なお、上記構成に限定されず、微細化装置1は、供給された原料を粗砕して粗砕片を生成する粗砕装置であってもよい。すなわち、微細化装置1が行う微細化処理には、解繊処理の他、粗砕処理、破砕処理、粉末化処理等が含まれる。
(【0011】以降は省略されています)
この特許をJ-PlatPat(特許庁公式サイト)で参照する
関連特許
セイコーエプソン株式会社
治療機器
6日前
セイコーエプソン株式会社
電子時計
14日前
セイコーエプソン株式会社
記録装置
6日前
セイコーエプソン株式会社
微細化装置
1日前
セイコーエプソン株式会社
微細化装置
1日前
セイコーエプソン株式会社
半導体装置
14日前
セイコーエプソン株式会社
画像記録装置
7日前
セイコーエプソン株式会社
流体デバイス
6日前
セイコーエプソン株式会社
文字板及び時計
14日前
セイコーエプソン株式会社
シート製造装置
7日前
セイコーエプソン株式会社
ダイオード回路
14日前
セイコーエプソン株式会社
フィルター装置
6日前
セイコーエプソン株式会社
光源装置およびプロジェクター
6日前
セイコーエプソン株式会社
振動素子、振動子、及び発振器
7日前
セイコーエプソン株式会社
媒体搬送装置及び画像読取装置
今日
セイコーエプソン株式会社
振動素子、振動子、及び発振器
今日
セイコーエプソン株式会社
緩衝材および緩衝材の製造方法
6日前
セイコーエプソン株式会社
光源装置およびプロジェクター
6日前
セイコーエプソン株式会社
巻取装置、及び印刷巻取システム
今日
セイコーエプソン株式会社
液体吐出ヘッドおよび液体吐出装置
6日前
セイコーエプソン株式会社
液体吐出ヘッド、および液体吐出装置
6日前
セイコーエプソン株式会社
液体吐出ヘッド、および液体吐出装置
6日前
セイコーエプソン株式会社
触媒構造体および触媒構造体の製造方法
6日前
セイコーエプソン株式会社
時計用部品および時計用部品の製造方法
6日前
セイコーエプソン株式会社
振動デバイス
14日前
セイコーエプソン株式会社
画像読み取り装置
14日前
セイコーエプソン株式会社
レシートシステム、レシートシステムの制御方法、及び、サーバー
6日前
セイコーエプソン株式会社
電気光学装置および電子機器
20日前
個人
回転衝撃式ローラ粉砕機
1か月前
株式会社アイシン
粉砕機
1日前
株式会社サタケ
醸造用精米機
1か月前
セイコーエプソン株式会社
微細化装置
1日前
セイコーエプソン株式会社
微細化装置
1日前
株式会社フロム工業
ディスポーザ
20日前
井関農機株式会社
自動精米洗米炊飯機
27日前
油圧機工業有限会社
破砕機用の刃物、この刃物を利用する破砕機
14日前
続きを見る
他の特許を見る