TOP
|
特許
|
意匠
|
商標
特許ウォッチ
Twitter
他の特許を見る
10個以上の画像は省略されています。
公開番号
2025171558
公報種別
公開特許公報(A)
公開日
2025-11-20
出願番号
2024077035
出願日
2024-05-10
発明の名称
文字板及び時計
出願人
セイコーエプソン株式会社
代理人
個人
,
個人
,
個人
主分類
G04B
19/12 20060101AFI20251113BHJP(時計)
要約
【課題】艶やかな丸みを帯びた外観を有し、再現性良く製造できる文字板及び時計を提供する。
【解決手段】文字板3は、表面32にグレーズを塗布していないジルコニアセラミックの基材31を用いた文字板3であって、風防ガラス5側となる基材31の表面32は、文字板3の外周35より内側の少なくとも一部が、文字板3の外周35より風防ガラス5側に膨らむ凸型形状であり、文字板3の中央部36には、基材31の厚み方向に貫通孔34が設けられており、貫通孔34と基材31の表面32とで形成される端部38には、所定の曲率半径を有する曲線が設けられている。
【選択図】図2
特許請求の範囲
【請求項1】
表面にグレーズを塗布していないジルコニアセラミックの基材を用いた文字板であって、
風防ガラス側となる前記基材の前記表面は、前記文字板の外周より内側の少なくとも一部が、前記文字板の前記外周より前記風防ガラス側に膨らむ凸型形状であり、
前記文字板の中央部には、前記基材の厚み方向に貫通孔が設けられており、
前記貫通孔と前記基材の前記表面とで形成される端部には、所定の曲率半径を有する曲線が設けられている、
文字板。
続きを表示(約 460 文字)
【請求項2】
前記所定の曲率半径とは、0.1mmから、前記基材の前記中央部の厚みの半分の数値までである、
請求項1に記載の文字板。
【請求項3】
前記貫通孔には、指針軸が通る、
請求項1に記載の文字板。
【請求項4】
前記凸型形状は、前記文字板の前記外周から前記中央部に向けて第1の曲率のみで前記風防ガラス側に膨らむ形状である、
請求項1に記載の文字板。
【請求項5】
前記凸型形状は、前記文字板の前記外周から前記中央部までに複数の曲率を有する、
請求項1に記載の文字板。
【請求項6】
前記複数の曲率は、2つであり、前記文字板の外周円と前記中央部との間にある中間円から前記外周円までが第2の曲率であり、前記中間円から前記中央部までが第3の曲率、である、
請求項5に記載の文字板。
【請求項7】
請求項1乃至請求項6の何れか一項に記載の文字板と、
外装ケースと、を備える、
時計。
発明の詳細な説明
【技術分野】
【0001】
本発明は、文字板及び時計に関する。
続きを表示(約 1,800 文字)
【背景技術】
【0002】
一般的に、時計用文字板として、平板のセラミック基板にガラスのグレーズをかけた磁器文字板が知られている。尚、グレーズとは、平板のセラミック基板の表面にガラス質の塗料を塗布し、焼き付けたものである。セラミック基板にガラスのグレーズをかけることで、セラミック基板の表面は、中央部が厚く、セラミック基板の外周が薄い円弧状となるため、艶やかな丸みを帯びた外観を得ることができ、審美性に優れた文字板とすることができる。
【発明の概要】
【発明が解決しようとする課題】
【0003】
しかしながら、上述した文字板は、平板のセラミック基板にガラスのグレーズを形成する際のガラス質の塗料の量の制御が難しく、グレーズの厚みがばらつき、均一な厚みのグレーズを再現性良く形成することができないという課題があった。
【課題を解決するための手段】
【0004】
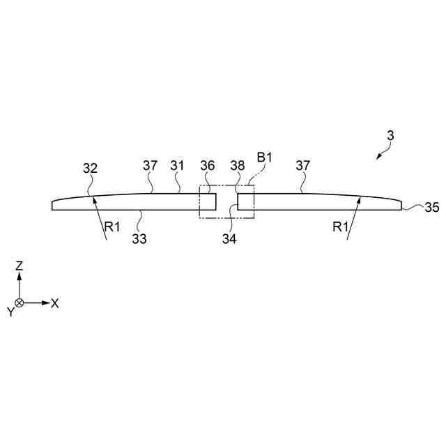
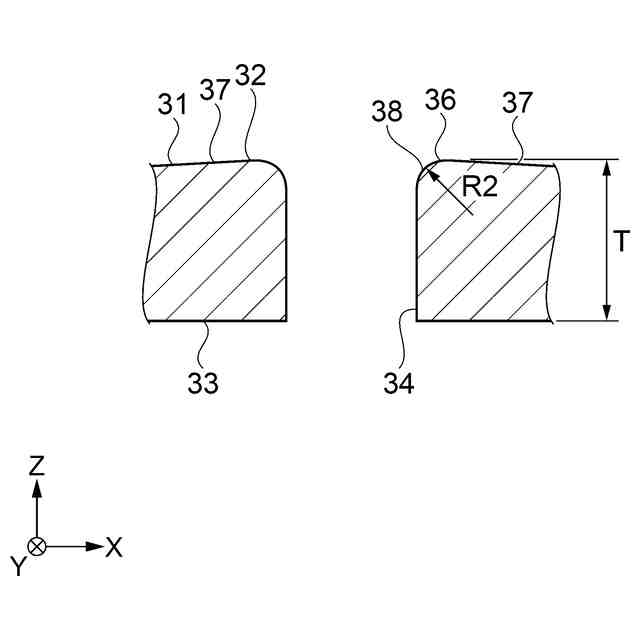
文字板は、表面にグレーズを塗布していないジルコニアセラミックの基材を用いた文字板であって、風防ガラス側となる前記基材の前記表面は、前記文字板の外周より内側の少なくとも一部が、前記文字板の前記外周より前記風防ガラス側に膨らむ凸型形状であり、前記文字板の中央部には、前記基材の厚み方向に貫通孔が設けられており、前記貫通孔と前記基材の前記表面とで形成される端部には、所定の曲率半径を有する曲線が設けられている。
【0005】
時計は、上記に記載の文字板と、外装ケースと、を備える。
【図面の簡単な説明】
【0006】
第1実施形態に係る文字板を備えた時計の概略構造を示す正面図。
第1実施形態に係る文字板を備えた時計の概略構造を示す断面図。
第1実施形態に係る文字板の概略構造を示す平面図。
図3のA1-A1線での断面図。
図4のB1部の拡大図。
第2実施形態に係る文字板の概略構造を示す平面図。
図6のA2-A2線での断面図。
図7のB2部の拡大図。
第3実施形態に係る文字板の概略構造を示す平面図。
図9のA3-A3線での断面図。
図10のB3部の拡大図。
【発明を実施するための形態】
【0007】
1.第1実施形態
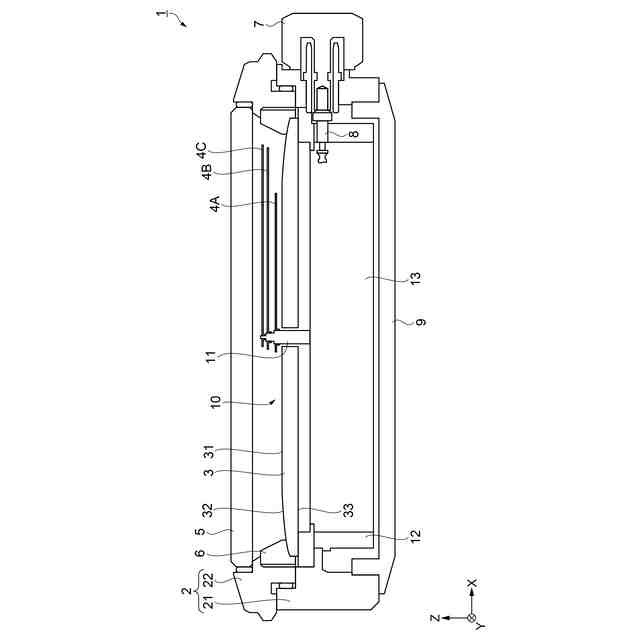
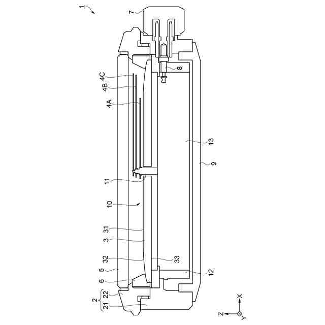
先ず、第1実施形態に係る文字板3を備えた時計1として腕時計を一例として挙げ、図1及び図2を参照して説明する。
尚、説明の便宜上、以降の各図には、互いに直交する3つの軸として、X軸、Y軸、及びZ軸を図示している。また、X軸に沿った方向を「X方向」、Y軸に沿った方向を「Y方向」、Z軸に沿った方向を「Z方向」と言う。また、各軸方向の矢印先端側を「プラス側」、基端側を「マイナス側」、Z方向プラス側を「表」、Z方向マイナス側を「裏」とも言う。
【0008】
本実施形態に係る時計1は、図1及び図2に示すように、外装ケース2と、裏蓋9と、風防ガラス5と、文字板3と、を備えている。外装ケース2は、金属で形成された円筒状のケース本体21に、セラミック又は金属で形成されたベゼル22が嵌合されて構成されている。このベゼル22の内周側に、プラスチックで形成された円環状のダイヤルリング6を介して、円盤状の文字板3が配置されている。外装ケース2の側面には、時計表示で3時の位置にリューズ7が設けられている。
【0009】
時計1は、金属製のケース本体21の2つの開口のうち、Z方向プラス側である表面側の開口は、ベゼル22を介して風防ガラス5で塞がれており、Z方向マイナス側である裏面側の開口は、金属で形成された裏蓋9で塞がれている。
ケース本体21及び裏蓋9には、真鍮、ステンレス鋼、チタンなどの金属材料が利用される。尚、ケース本体21には、樹脂などの金属以外の材料が用いられてもよい。
【0010】
次に、時計1の外装ケース2に内蔵される内部構造について説明する。
図2に示すように、外装ケース2、裏蓋9、風防ガラス5で囲まれた空間内には、ダイヤルリング6と、文字板3を含む時刻表示部10と、ムーブメント13と、が収納されている。
(【0011】以降は省略されています)
この特許をJ-PlatPat(特許庁公式サイト)で参照する
関連特許
セイコーエプソン株式会社
電子時計
3日前
セイコーエプソン株式会社
半導体装置
3日前
セイコーエプソン株式会社
文字板及び時計
3日前
セイコーエプソン株式会社
ダイオード回路
3日前
セイコーエプソン株式会社
振動デバイス
3日前
セイコーエプソン株式会社
画像読み取り装置
3日前
セイコーエプソン株式会社
電気光学装置および電子機器
9日前
個人
砂時計
2か月前
個人
時刻同期システム
2か月前
セイコーウオッチ株式会社
時計
1か月前
個人
ワイヤレス給電を使用した針が光るアナログ式時計
19日前
セイコーエプソン株式会社
電子時計
3日前
セイコーエプソン株式会社
電子時計
1か月前
セイコーエプソン株式会社
電子時計
16日前
オメガ・エス アー
交換可能なベゼルを備える計時器
11日前
ローム株式会社
時間測定回路
1か月前
セイコーエプソン株式会社
文字板及び時計
3日前
日本電気株式会社
時刻維持装置および時刻維持方法
17日前
日本電波株式会社
電波時計レピータ
19日前
株式会社村田製作所
光学的パターン表示物品
1か月前
シチズン時計株式会社
腕時計
1か月前
シチズン時計株式会社
電子時計
2か月前
セイコーエプソン株式会社
電子制御式機械時計
1か月前
シチズン時計株式会社
機械式時計
2か月前
カシオ計算機株式会社
装飾板及び時計
1か月前
カシオ計算機株式会社
制御装置、制御方法、及びプログラム
1か月前
セイコーエプソン株式会社
機械式時計
2か月前
セイコータイムクリエーション株式会社
からくり時計
1か月前
カシオ計算機株式会社
機器ケース及び時計
2か月前
セイコーエプソン株式会社
時計および風防部材の製造方法
1か月前
セイコーエプソン株式会社
インデックス、文字板、及び時計
2か月前
カシオ計算機株式会社
外装部品ユニット及び時計
1か月前
カシオ計算機株式会社
電子時計及び電子時計本体
2か月前
セイコーウオッチ株式会社
時計、音声再生方法およびプログラム
2か月前
カシオ計算機株式会社
電子時計、外装部材及びバンド
2か月前
コマデュール ソシエテ アノニム
エナメル彫刻及び模様付け方法
18日前
続きを見る
他の特許を見る