TOP
|
特許
|
意匠
|
商標
特許ウォッチ
Twitter
他の特許を見る
10個以上の画像は省略されています。
公開番号
2025135343
公報種別
公開特許公報(A)
公開日
2025-09-18
出願番号
2024033129
出願日
2024-03-05
発明の名称
機械式時計
出願人
セイコーエプソン株式会社
代理人
弁理士法人樹之下知的財産事務所
主分類
G04C
3/04 20060101AFI20250910BHJP(時計)
要約
【課題】テンプに連動するローターの回転を制御して、発電および調速する際に起電圧を向上できる機械式時計の提供。
【解決手段】機械式時計は、ゼンマイと、ゼンマイからの動力を伝達する第1輪列と、第1輪列によって駆動されて時刻を表示する指針と、第1輪列を介して駆動されるテンプと、テンプと連動して回転する第1ローターと、第1ローターを介して、テンプに制動力を与え、かつ、電気エネルギーを生成する第1コイルと、制御信号に基づいて、第1コイルの両端を断続的に短絡することで、テンプを調速し、かつ、第1コイルで生成される電気エネルギーを昇圧するチョッピング制御を実行する第1充電回路と、制御信号を第1充電回路に出力する制御手段と、第1充電回路から出力される電気エネルギーを蓄電する蓄電装置と、を備える。
【選択図】図5
特許請求の範囲
【請求項1】
ゼンマイと、
前記ゼンマイからの動力を伝達する第1輪列と、
前記第1輪列によって駆動されて時刻を表示する指針と、
前記第1輪列を介して駆動されるテンプと、
前記テンプと連動して回転する第1ローターと、
前記第1ローターを介して、前記テンプに制動力を与え、かつ、電気エネルギーを生成する第1コイルと、
制御信号に基づいて、前記第1コイルの両端を断続的に短絡することで、前記テンプを調速し、かつ、前記第1コイルで生成される前記電気エネルギーを昇圧するチョッピング制御を実行する第1充電回路と、
前記制御信号を前記第1充電回路に出力する制御手段と、
前記第1充電回路から出力される前記電気エネルギーを蓄電する蓄電装置と、
を備えることを特徴とする機械式時計。
続きを表示(約 1,100 文字)
【請求項2】
請求項1に記載の機械式時計において、
前記第1コイルに発生する起電圧に基づいて前記テンプの振動を示す検出信号を出力する検出手段と、
基準信号を出力する基準信号出力手段と、を備え、
前記制御手段は、前記検出信号と前記基準信号とを比較した結果に応じて、前記制御信号を前記第1充電回路に出力する
ことを特徴とする機械式時計。
【請求項3】
請求項2に記載の機械式時計において、
前記検出手段は、前記起電圧が検出しきい値以上の場合に前記検出信号を出力し、
前記制御手段は、前記検出信号が出力されている期間中に前記制御信号を出力して、前記第1充電回路で前記チョッピング制御を実行させる
ことを特徴とする機械式時計。
【請求項4】
請求項1に記載の機械式時計において、
前記チョッピング制御は、前記テンプに第1のブレーキを掛ける第1ブレーキ制御と、前記第1のブレーキよりもブレーキ力が弱い第2のブレーキを掛ける第2ブレーキ制御とを含み、
前記制御手段は、第1ブレーキ制御用の制御信号と、第2ブレーキ制御用の制御信号とを切り替えて出力する
ことを特徴とする機械式時計。
【請求項5】
請求項1に記載の機械式時計において、
前記チョッピング制御は、前記テンプに第1のブレーキを掛ける第1ブレーキ制御と、前記テンプにブレーキを掛けないブレーキオフ制御とを含み、
前記制御手段は、第1ブレーキ制御用の制御信号と、ブレーキオフ制御用の制御信号とを切り替えて出力する
ことを特徴とする機械式時計。
【請求項6】
請求項1に記載の機械式時計において、
第2輪列と、
前記第2輪列に連動して回転する第2ローターと、
前記第2ローターの回転によって前記電気エネルギーを生成する第2コイルと、
前記第2コイルで生成した前記電気エネルギーを前記蓄電装置に充電する第2充電回路と、
を備えることを特徴とする機械式時計。
【請求項7】
請求項6に記載の機械式時計において、
前記ゼンマイを巻き上げる巻上げ機構を有し、
前記第2輪列は、前記巻上げ機構の動きを増速して前記第2ローターに伝達することを特徴とする機械式時計。
【請求項8】
請求項6に記載の機械式時計において、
前記第2輪列は前記ゼンマイの動きを増幅して前記第2ローターに伝達し、
前記第2充電回路は、前記第2コイルの両端を断続的に短絡する第2チョッピング制御を行うことを特徴とする機械式時計。
発明の詳細な説明
【技術分野】
【0001】
本発明は、テンプを有する機械式時計に関する。
続きを表示(約 2,400 文字)
【背景技術】
【0002】
特許文献1には、動力源からの動力で駆動するテン輪のテン真に取り付けられたローターと、コイルとを備え、テン輪の正逆回転運動に伴うローターの回転によって発電し、ローターの回転検出信号に基づいてコイルに調速パルスを出力してローターの動きを制御する機械式時計が開示されている。
【先行技術文献】
【特許文献】
【0003】
国際公開第2022/176453号
【発明の概要】
【発明が解決しようとする課題】
【0004】
特許文献1の機械式時計では、発電用のローターは、テン輪の正逆回転運動に伴って回転するため、回転速度を高めることができず、発電機の発電能力が不足し、制御回路の動作に必要な電力が不足する恐れがあった。
【課題を解決するための手段】
【0005】
本開示の機械式時計は、ゼンマイと、前記ゼンマイからの動力を伝達する第1輪列と、前記第1輪列によって駆動されて時刻を表示する指針と、前記第1輪列を介して駆動されるテンプと、前記テンプと連動して回転する第1ローターと、前記第1ローターを介して、前記テンプに制動力を与え、かつ、電気エネルギーを生成する第1コイルと、制御信号に基づいて、前記第1コイルの両端を断続的に短絡することで、前記テンプを調速し、かつ、前記第1コイルで生成される前記電気エネルギーを昇圧するチョッピング制御を実行する第1充電回路と、前記制御信号を前記第1充電回路に出力する制御手段と、前記第1充電回路から出力される前記電気エネルギーを蓄電する蓄電装置と、を備えることを特徴とする。
【図面の簡単な説明】
【0006】
第1実施形態の機械式時計を示す正面図である。
第1実施形態の要部の構成を示す概略斜視図である。
第1実施形態のアンクル、ガンギ車、テンプ、第1ローターの動作を説明する図である。
第1実施形態のアンクル、ガンギ車、テンプ、第1ローターの動作を説明する図である。
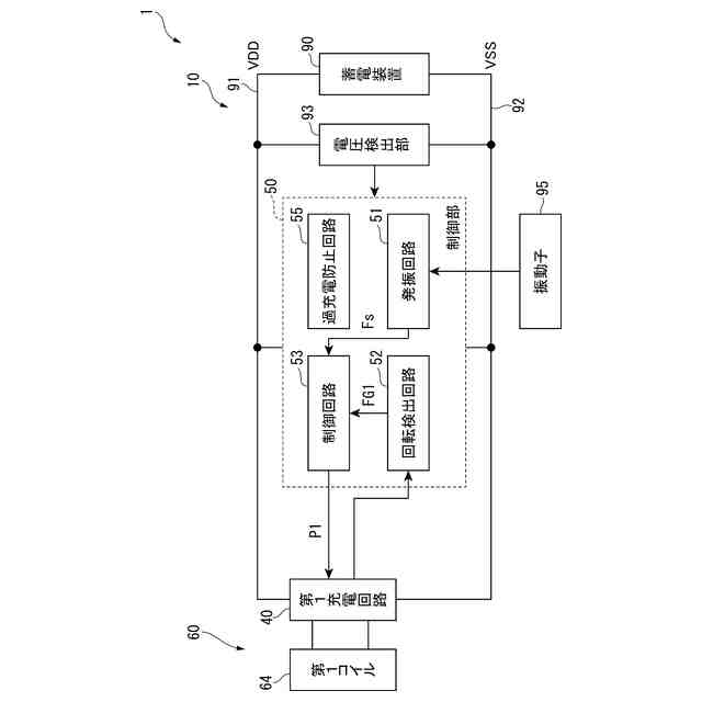
第1実施形態の回路構成を示すブロック図である。
第1実施形態の第1充電回路の構成を示す回路図である。
第1実施形態において制御回路から第1充電回路に出力される制御信号を示す波形図である。
第1実施形態のコイル電圧、回転検出信号、基準クロック信号、制御信号を示すタイミングチャートである。
第1実施形態におけるブレーキデューティーと発電電圧との関係を示すグラフである。
第2実施形態の機械式時計の構成を示すブロック図である。
第2実施形態の要部の構成を示す概略斜視図である。
第2実施形態の回路構成を示すブロック図である。
第2実施形態の制御を示すフローチャートである。
第3実施形態の機械式時計の構成を示すブロック図である。
第3実施形態の要部の構成を示す概略図である。
第3実施形態の回路構成を示すブロック図である。
変形例の第1充電回路の構成を示す回路図である。
変形例におけるコイル電圧、回転検出信号、基準クロック信号、制御信号を示すタイミングチャートである。
【発明を実施するための形態】
【0007】
[第1実施形態]
以下、第1実施形態の機械式時計1を図面に基づいて説明する。
機械式時計1は、図1に示すように、ケース2と、文字板3と、時針4、分針5、秒針6と、りゅうず7と、日車8とを備える。
機械式時計1は、図2に示すムーブメント10を備える。ムーブメント10は、動力用のゼンマイ12、第1輪列20、ガンギ車21、アンクル22、テンプ30、発電調速機60を備え、第1輪列20には、時針4、分針5、秒針6が取り付けられている。
【0008】
動力用のゼンマイ12は、香箱歯車13、香箱真14および香箱蓋からなる香箱車11内に収納されている。ゼンマイ12は、外端が香箱歯車13、内端が香箱真14に固定される。香箱真14は、地板に設けられた支持部材に挿通されて角穴ネジによって固定され、角穴車15と一体で回転する。角穴車15は、りゅうず7により丸穴車16等を介して回転され、ゼンマイ12が巻き上げられる。
【0009】
香箱歯車13の回転は、二番車17、三番車18、四番車19の各歯車を介して増速される。二番車17、三番車18、四番車19は、地板および輪列受け等で軸支され、これらによって、ゼンマイ12からの機械エネルギーを伝達する第1輪列20が構成されている。なお、図2では、三番車18に噛み合う秒かなに固定された秒針6のみが表示されているが、実際には、図示しない筒かなや筒車を介して駆動される分針5や時針4も設けられている。
ムーブメント10は、ガンギ車21およびアンクル22を備えた脱進機と、テンプ30を備えた調速機とを備えている。脱進機は、四番車19を介してゼンマイ12から供給される機械エネルギーを調速機に少しずつ供給して調速機の振動を維持させるとともに、調速機の振動周期に応じて第1輪列20の回転速度を制御している。
【0010】
テンプ30は、テン輪31と、テン真33と、ヒゲゼンマイ34とを備えている。テンプ30は、テン輪31の中に細いヒゲゼンマイ34を仕込んだものであり、ヒゲゼンマイ34は一端がテン輪31の軸であるテン真33に固定され、反対の端がヒゲ持39を介して時計本体に固定されている。テンプ30のテン輪31は、等時性のあるヒゲゼンマイ34の伸縮で規則正しい往復回転運動を繰り返すことで振動する。本実施形態では、テンプ30は、振り角280°で振動する。
(【0011】以降は省略されています)
この特許をJ-PlatPat(特許庁公式サイト)で参照する
関連特許
個人
砂時計
2か月前
個人
時刻同期システム
2か月前
セイコーウオッチ株式会社
時計
1か月前
セイコーエプソン株式会社
電子時計
10日前
セイコーエプソン株式会社
電子時計
23日前
個人
ワイヤレス給電を使用した針が光るアナログ式時計
26日前
セイコーエプソン株式会社
電子時計
1か月前
オメガ・エス アー
交換可能なベゼルを備える計時器
18日前
ローム株式会社
時間測定回路
1か月前
セイコーエプソン株式会社
文字板及び時計
10日前
日本電波株式会社
電波時計レピータ
26日前
シチズン時計株式会社
腕時計
1か月前
株式会社村田製作所
光学的パターン表示物品
1か月前
日本電気株式会社
時刻維持装置および時刻維持方法
24日前
シチズン時計株式会社
電子時計
2か月前
セイコーエプソン株式会社
電子制御式機械時計
2か月前
シチズン時計株式会社
機械式時計
3か月前
カシオ計算機株式会社
装飾板及び時計
1か月前
セイコータイムクリエーション株式会社
からくり時計
1か月前
セイコーエプソン株式会社
機械式時計
2か月前
カシオ計算機株式会社
制御装置、制御方法、及びプログラム
1か月前
カシオ計算機株式会社
機器ケース及び時計
2か月前
セイコーエプソン株式会社
時計および風防部材の製造方法
1か月前
セイコーエプソン株式会社
インデックス、文字板、及び時計
2か月前
カシオ計算機株式会社
外装部品ユニット及び時計
1か月前
カシオ計算機株式会社
電子時計及び電子時計本体
2か月前
セイコーウオッチ株式会社
時計、音声再生方法およびプログラム
3か月前
カシオ計算機株式会社
電子時計、外装部材及びバンド
2か月前
コマデュール ソシエテ アノニム
エナメル彫刻及び模様付け方法
25日前
カシオ計算機株式会社
指針、時計、及び指針の製造方法
2か月前
セイコーエプソン株式会社
時計用部品、および、時計
2か月前
カシオ計算機株式会社
時計、表示制御方法及びプログラム
2か月前
カシオ計算機株式会社
外装部品、外装部品ユニット及び時計
1か月前
セイコーウオッチ株式会社
スイッチ機構、時計用ムーブメントおよび時計
1か月前
カシオ計算機株式会社
電子時計、針位置検出方法及びプログラム
2か月前
シチズン時計株式会社
表示車、時計用ムーブメント及び時計
1か月前
続きを見る
他の特許を見る