TOP
|
特許
|
意匠
|
商標
特許ウォッチ
Twitter
他の特許を見る
公開番号
2025166337
公報種別
公開特許公報(A)
公開日
2025-11-06
出願番号
2024070278
出願日
2024-04-24
発明の名称
時刻維持装置および時刻維持方法
出願人
日本電気株式会社
代理人
個人
,
個人
主分類
G04G
3/00 20060101AFI20251029BHJP(時計)
要約
【課題】システム時刻を低コストで高精度に維持できる時刻維持装置を提供する。
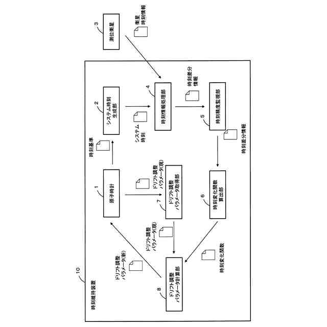
【解決手段】システム時刻生成手段は、原子時計が生成した周期情報と同期する時刻をシステム時刻として生成する。時刻情報処理手段は、基準値となる時刻である基準時刻と、システム時刻との差分を示す時刻差分情報を出力する。時刻変化関数算出手段は、所定期間における時刻差分情報に基づいて、時間に対する差分の変化を示す近似関数を算出する。ドリフト調整パラメータ計算手段は、近似関数と、原子時計の更新前のドリフト調整パラメータとを用いて、ドリフト調整パラメータの値を計算する。
【選択図】図4
特許請求の範囲
【請求項1】
原子時計が生成した周期情報と同期する時刻をシステム時刻として生成するシステム時刻生成手段と、
基準値となる時刻である基準時刻と、前記システム時刻との差分を示す時刻差分情報を出力する時刻情報処理手段と、
所定期間における前記時刻差分情報に基づいて、時間に対する前記差分の変化を示す近似関数を算出する時刻変化関数算出手段と、
前記近似関数と、前記原子時計の更新前のドリフト調整パラメータとを用いて、前記ドリフト調整パラメータの値を計算するドリフト調整パラメータ計算手段とを備える
ことを特徴とする時刻維持装置。
続きを表示(約 1,000 文字)
【請求項2】
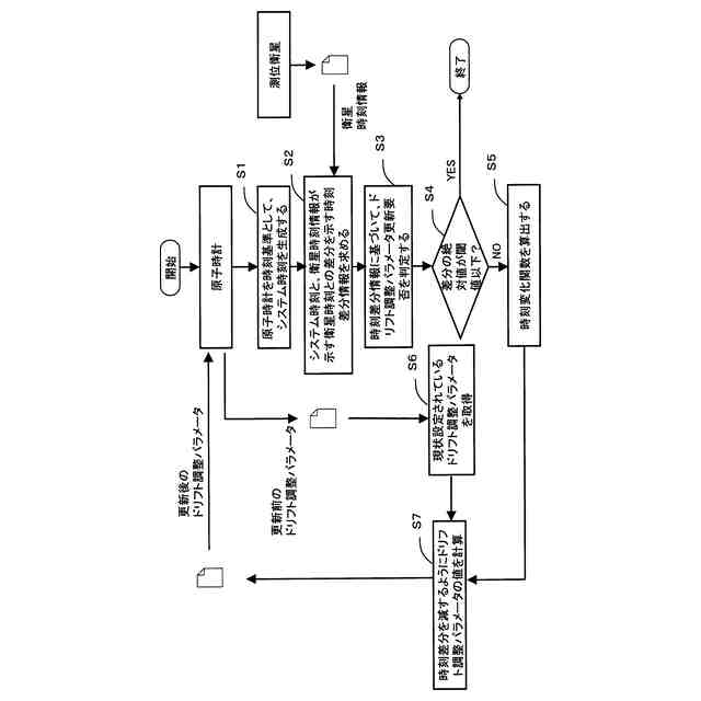
前記時刻差分情報と、予め定められた閾値とに基づいて、前記原子時計のドリフト調整パラメータを更新するか否かを判定する時刻精度監視手段を備え、
前記時刻変化関数算出手段は、
前記ドリフト調整パラメータを更新すると判定された場合に、前記近似関数を算出し、
前記ドリフト調整パラメータ計算手段は、
前記ドリフト調整パラメータを更新すると判定された場合に、前記ドリフト調整パラメータの値を計算する
請求項1に記載の時刻維持装置。
【請求項3】
前記基準時刻は、測位衛星から放送される衛星時刻である
請求項1に記載の時刻維持装置。
【請求項4】
前記ドリフト調整パラメータ計算手段は、
前記差分が0近傍の値となり、前記ドリフト調整パラメータの更新実施間隔が前記原子時計の周波数特性の条件の下で最も長くなるように、前記ドリフト調整パラメータの値を計算する
請求項1に記載の時刻維持装置。
【請求項5】
前記時刻精度監視手段は、
前記時刻差分情報が示す差分の絶対値が、前記閾値を超える場合に、前記ドリフト調整パラメータを更新すると判定する
請求項2に記載の時刻維持装置。
【請求項6】
コンピュータが、
原子時計が生成した周期情報と同期する時刻をシステム時刻として生成し、
基準値となる時刻である基準時刻と、前記システム時刻との差分を示す時刻差分情報を出力し、
所定期間における前記時刻差分情報に基づいて、時間に対する前記差分の変化を示す近似関数を算出し、
前記近似関数と、前記原子時計の更新前のドリフト調整パラメータとを用いて、前記ドリフト調整パラメータの値を計算する
ことを特徴とする時刻維持方法。
【請求項7】
コンピュータに、
原子時計が生成した周期情報と同期する時刻をシステム時刻として生成するシステム時刻生成処理、
基準値となる時刻である基準時刻と、前記システム時刻との差分を示す時刻差分情報を出力する時刻情報処理、
所定期間における前記時刻差分情報に基づいて、時間に対する前記差分の変化を示す近似関数を算出する時刻変化関数算出処理、および、
前記近似関数と、前記原子時計の更新前のドリフト調整パラメータとを用いて、前記ドリフト調整パラメータの値を計算するドリフト調整パラメータ計算処理
を実行させるための時刻維持プログラム。
発明の詳細な説明
【技術分野】
【0001】
本開示は、時刻維持装置、時刻維持方法および時刻維持プログラムに関する。
続きを表示(約 1,700 文字)
【背景技術】
【0002】
特許文献1には、原子時計をモニタする装置が記載されている。
【先行技術文献】
【特許文献】
【0003】
特開2016-191551号公報
【発明の概要】
【発明が解決しようとする課題】
【0004】
軌道上の宇宙機(人工衛星)を用いて、地球上のある座標を決定/推定するためには(すなわち、衛星測位するためには)、「4機の宇宙機の座標」と、「宇宙機の時刻(衛星時刻)」と、「受信機」と、「受信機の時刻(受信機時刻)」とが必要となる。「受信機時刻」は、衛星時刻と同期させる時刻であり、このような時刻をシステム時刻と呼ぶ。
【0005】
衛星測位の際には、人工衛星から信号が発信された時刻と、その信号を受信機が受信したときの受信機時刻との差分から、人工衛星と受信機の疑似距離が算出される。そのため、正確な受信機座標の決定/推定には、正確な衛星時刻および受信機時刻が必要である。衛星時刻は、原子時計等によって制御される。一般的な1周波受信機(例えば、携帯電話機等の組み込みモジュール)は、時刻基準として水晶振動子(以下、水晶という。)を用いることが多い。2周波等の高精度な受信機は、より高精度な水晶等により制御される。ここで言う受信機は、測位情報を使用して各種情報を出力する一連の処理を行う装置を指す。NTP(Network Time Protocol )サーバや、船舶用受信機も、受信機に該当する。
【0006】
受信機として、人工衛星の軌道を決定する軌道決定システムで利用される受信機を想定する。受信機が正確なクロックを刻むためには、上述のような高精度な水晶を使用したり、外部機関等から時刻情報を取得したりすることが考えられる。一方で、特定の制約により外部から独立した状態で、より高精度な時刻情報を求める場合には、上述のような高精度な水晶を利用したり、原子時計等の水晶よりも精密な時刻基準を利用したりすることもできる。
【0007】
代表的な原子時計の時刻基準として、ルビジウム、セシウム、水素メーザ等を挙げることができる。精度の順としては、水素メーザ、セシウム、ルビジウムの順に精度がよい。水素メーザ原子時計の具体的な精度は、測定時間1秒で10E-13秒、測定時間1000秒で10E-15秒程度である。この精度は、原子時計が設置されている場所の環境温度や真空度等の安定度が依存するパラメータが最適に調整されている場合の精度である。
【0008】
水晶をはじめとする時刻基準は、誤差を持っている。誤差は、時計が長く独立して動作するにつれて蓄積する(ドリフトする)。一般的に、誤差を矯正するには、より精密な外部クロックと同期する調整作業を必要とする。この調整作業には、複数の原子時計や複数の専門技術要員が必要である。従って、調整作業の間隔はできるだけ長いことが好ましい。
【0009】
測位受信機では精密な時刻情報が必要である。測位するという目的を鑑みると、GPS(Global Positioning System )やQZSS(Quazi-Zenith Satellite System )等のGNSS(Global Navigation Satellite System)と同一の時刻を受信機が刻むことが重要であり、必ずしも受信機が正確な時刻を必要とするものではない。GPSは、GPST(GPS Time)という時系に基づいて動作していて、受信機の時刻をこれに同期させることが重要である。一方で、GPSTに異常が生じた場合や、受信機が他のGNSSの測位をできなくなった場合を考慮すると、受信機において、独立性の観点から受信機時刻をGPSTとそのまま同期させることを避けることが好ましい。
【0010】
本開示は、システム時計の時刻を低コストで高精度に維持できる時刻維持装置、時刻維持方法および時刻維持プログラムを提供することを目的とする。
【課題を解決するための手段】
(【0011】以降は省略されています)
この特許をJ-PlatPat(特許庁公式サイト)で参照する
関連特許
日本電気株式会社
特定装置
1日前
日本電気株式会社
交渉装置、交渉方法及びプログラム
9日前
日本電気株式会社
ボロメータアレイ、及び光検出方法
3日前
日本電気株式会社
情報処理装置、情報処理方法、プログラム
1日前
日本電気株式会社
合意判定装置、合意判定方法及びプログラム
9日前
日本電気株式会社
発話認識装置、プログラム及び発話認識方法
3日前
日本電気株式会社
制御装置、無線端末、方法、及びプログラム
2日前
日本電気株式会社
情報処理装置、情報処理方法およびプログラム
10日前
日本電気株式会社
情報処理装置、情報処理方法およびプログラム
9日前
日本電気株式会社
原子発振器、制御方法、制御装置、プログラム
1日前
日本電気株式会社
情報処理装置、応答方法、及び応答プログラム
3日前
日本電気株式会社
文書検索装置、文書検索方法、及び、プログラム
9日前
日本電気株式会社
情報共有装置、情報共有方法、およびプログラム
3日前
日本電気株式会社
情報処理装置、情報処理方法、及び、プログラム
2日前
日本電気株式会社
スケジューリング装置、方法、および、プログラム
9日前
日本電気株式会社
ダッシュボード表示装置、表示方法及びプログラム
1日前
日本電気株式会社
同期装置、同期システム、同期方法及びプログラム
1日前
日本電気株式会社
画像解析システム、注目点検出装置及び画像解析方法
1日前
日本電気株式会社
システム、端末装置、情報処理方法、及びプログラム
9日前
日本電気株式会社
監視システム、監視装置、監視方法、及び、プログラム
2日前
日本電気株式会社
天体撮像装置、天体撮像方法および天体撮像プログラム
3日前
日本電気株式会社
治験支援装置、治験支援方法および治験支援プログラム
1日前
日本電気株式会社
情報処理装置、情報処理方法、および情報処理プログラム
9日前
日本電気株式会社
セキュリティシステム、セキュリティ方法及びプログラム
2日前
日本電気株式会社
通信制御装置、通信システム、通信制御方法及びプログラム
1日前
日本電気株式会社
テスト前提データ導出装置およびテスト前提データ導出方法
9日前
日本電気株式会社
サーバ装置、システム、サーバ装置の制御方法及びプログラム
3日前
日本電気株式会社
ボロメータアレイ、ボロメータアレイユニット、及び光検出方法
3日前
日本電気株式会社
無線基地局装置、無線端末装置、制御方法、及び、制御プログラム
2日前
日本電気株式会社
無線基地局装置、無線端末装置、制御方法、及び、制御プログラム
2日前
日本電気株式会社
ハッシュタグ生成装置、ハッシュタグ生成方法、及び、プログラム
9日前
日本電気株式会社
情報処理装置、情報処理方法、プログラム、及び情報処理システム
9日前
日本電気株式会社
等化信号処理回路、受信機、通信知システム、及び等化信号処理方法
1日前
日本電気株式会社
データベース生成装置、データ処理装置、制御装置、及びこれらの方法
9日前
日本電気株式会社
サーバ装置、認証端末、システム、サーバ装置の制御方法及びプログラム
2日前
日本電気株式会社
スケジュール生成装置、スケジュール生成方法およびスケジュール生成プログラム
9日前
続きを見る
他の特許を見る