TOP
|
特許
|
意匠
|
商標
特許ウォッチ
Twitter
他の特許を見る
10個以上の画像は省略されています。
公開番号
2025165869
公報種別
公開特許公報(A)
公開日
2025-11-05
出願番号
2025048167
出願日
2025-03-24
発明の名称
エナメル彫刻及び模様付け方法
出願人
コマデュール ソシエテ アノニム
代理人
個人
,
個人
,
個人
主分類
G04B
45/00 20060101AFI20251028BHJP(時計)
要約
【課題】エナメル彫刻は、エナメルの表面を傷つけたり、その色を変えたりしないように彫刻技術の熟練を必要とするため、広く使用されていない。上記の欠点を克服するエナメルの彫刻及び模様付け方法を開発する。
【解決手段】本発明は、少なくとも部分的にエナメル(3)で満たされた装飾(2)を備える物品(1)に彫刻及び模様付けする方法に関し、前記方法は、構造(7)を形成するためにエナメル(3)の表面及び/又はエナメル(3)の内部へのフェムト秒又はピコ秒レーザーを用いたレーザーアブレーションのステップを含む。
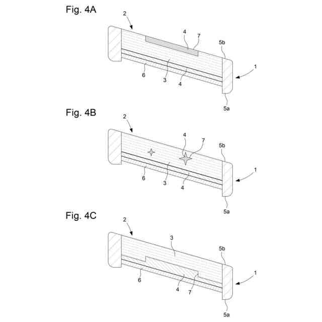
【選択図】図4A-4C
特許請求の範囲
【請求項1】
少なくとも部分的にエナメル(3)で満たされた装飾(2)を備える物品(1)の彫刻及び模様付け方法であって、構造(7)を形成するために前記エナメル(3)の表面及び/又は前記エナメル(3)内部にフェムト秒又はピコ秒レーザーを用いるレーザーアブレーションのステップを含む、彫刻及び模様付け方法。
続きを表示(約 1,300 文字)
【請求項2】
それは、いわゆるプリカジュールエナメルを形成するために少なくとも部分的にエナメル(3)で満たされた透かし装飾(2)に関する、請求項1に記載の彫刻及び模様付け方法。
【請求項3】
前記構造(7)に材料(4)を充填するステップを含む、請求項1に記載の彫刻及び模様付け方法。
【請求項4】
前記レーザーの波長は、近赤外域、すなわち700nmから2500nmの間、緑色域、すなわち510nmから560nmの間、又は紫外域、すなわち200nmから400nmの間にある、請求項1に記載の彫刻及び模様付け方法。
【請求項5】
前記エナメル(3)内の構造(7)は、前記エナメル(3)内にレーザビーム(8)を集束させ、衝撃のマトリックスを生成することによって得られ、一方、前記表面の構造(7)は、前記レーザビーム(8)を前記表面の近くに集束させることを必要とする、請求項1に記載の彫刻及び模様付け方法。
【請求項6】
前記レーザビーム(8)は、前記エナメル(3)全体を通過し、前記レーザビーム(8)の入射点と反対側の表面に構造(7)を形成する、請求項5に記載の彫刻及び模様付け方法。
【請求項7】
前記エナメル(3)内部の構造(7)の場合、前記レーザーの波長は近赤外域にあり、前記表面の構造(7)の場合、前記レーザーの波長は緑色域にある、請求項4に記載の彫刻及び模様付け方法。
【請求項8】
いわゆるプリカジュールエナメルを形成するために少なくとも部分的にエナメル(3)で満たされた透かし装飾(2)を備える物品(1)の製造方法であって、請求項2に記載の彫刻及び模様付けのステップを含み、前記彫刻及び模様付けのステップの前又は最中に、
・上面(5a)と前記上面(5a)の反対側の下面(5b)とで画定されたブランク(5)を得るステップと、
・前記下面(5b)まで貫通しない装飾(2a)を形成するために前記ブランク(5)の一部を前記上面(5a)から除去するか又は前のステップで非貫通装飾(2a)を備える前記ブランク(5)を直接得るステップと、
・前記非貫通装飾(2a)内に1層以上のエナメル(3)を堆積させ、各層が堆積した後に前記エナメル(3)を焼成するステップと、
・前記エナメル(3)を露出させ、これにより前記エナメル(3)で満たされた前記透かし装飾(2)を備える前記物品(1)を製造するために、好ましくは研削により、前記下面(5b)を機械加工するステップと
を含む、製造方法。
【請求項9】
前記下面(5b)は、使用中に観察者に面するように意図された面であり、前記製造方法は、前記エナメル(3)を焼成するステップの後に前記エナメル(3)の上に発光材料の層を堆積させるステップと、前記機械加工するステップの前に前記発光材料の層の上に保護層(6)を堆積させるステップとを含む、請求項8に記載の製造方法。
【請求項10】
前記ブランク(5)は、650℃以上の融点を有する材料から作られる、請求項8に記載の製造方法。
(【請求項11】以降は省略されています)
発明の詳細な説明
【技術分野】
【0001】
本発明は、エナメル装飾、例えばプリカジュールエナメル装飾を備える物品に彫刻及び模様付けする方法に関する。本発明はさらに、物品を製造する方法及びこの方法によって得られる物品に関する。
続きを表示(約 1,500 文字)
【背景技術】
【0002】
半透明の石又はガラスペーストに装飾を施すために、いくつかの古い技術を使用することができる。多くの沈み彫り(インタリオ)は古代に半貴石又はガラスペーストで作られた。そのため、装飾は手作業による切削と研磨によって、場合によってはガラスペーストの成形によって得られる。発見された物のほとんどは上面に装飾が施されており、まれに下面にも装飾が施されており、ホログラム効果を生み出している。
【0003】
時計業界では長年にわたり、素材内彫刻が利用されてきた。素材内彫刻は、例えば、偽造防止マーキングを行うため又はサファイアクリスタルに装飾的な線条細工(フィリグリー)を組み込むために使用することができる。素材内彫刻はまた、クリスタルやポリカーボネートで作られた装飾品をカスタマイズするために使用することができる。
【0004】
今日まで、エナメル彫刻は、エナメルの表面を傷つけたり、その色を変えたりしないように彫刻技術の熟練を必要とするため、広く使用されていない。
【発明の概要】
【発明が解決しようとする課題】
【0005】
本発明の目的は、上記の欠点を克服するエナメルの彫刻及び模様付け方法を開発することである。
【課題を解決するための手段】
【0006】
この方法は、あらゆるエナメル装飾に使用することができ、特に、透明又は半透明のエナメルを通して光が輝くミニチュアのステンドグラス窓のような効果が得られる、プリカジュールエナメル装飾、すなわちエナメル透かし装飾に使用することができる。より具体的には、この方法は、エナメルの脆さを低減するために、0.5mm以上の厚さを有するプリカジュールエナメル装飾に適用することができ、これは、大きな応力を受けるエナメル装飾、例えば時計のベゼルなどの時計の外装部品にとってより重要である。
【0007】
より具体的には、本発明は、少なくとも部分的にエナメルで満たされた装飾を備える物品の彫刻及び模様付け方法に関するものであり、前記方法は、構造を形成するためにエナメルの表面及び/又はエナメルの内部にフェムト秒又はピコ秒レーザーを用いるレーザーアブレーションのステップを含む。
【0008】
本発明による彫刻及び模様付け方法は、表面仕上げを制御し、エナメルの色の変化を制限しながらレーザーアブレーションを行うことを可能にする。
【0009】
この彫刻及び模様付け方法の上流では、エナメルの堅牢性を高めた低コストの大量生産につながる、エナメルの厚い層を短時間で堆積させることができる製造方法を用いて、プリカジュールエナメル装飾を施した物品を製造することができる。
【0010】
この目的のために、いわゆるプリカジュールエナメルを形成するために少なくとも部分的にエナメルで満たされた透かし装飾を備える物品の製造方法が提案され、この製造方法は、彫刻及び模様付けのステップを含み、前記彫刻及び模様付けのステップの前又は最中に、
・上面と上面の反対側の下面とで画定されたブランクを得るステップと、
・下面まで貫通しない装飾を形成するためにブランクの一部を上面から除去するか又は前のステップで非貫通装飾を備えるブランクを直接得るステップと、
・非貫通装飾内に1層以上のエナメルを堆積させ、各層が堆積した後にエナメルを焼成するステップと、
・エナメルを露出させ、これによりエナメルで満たされた透かし装飾を備える物品を製造するために、好ましくは研削により、下面を機械加工するステップと
を含む。
(【0011】以降は省略されています)
この特許をJ-PlatPat(特許庁公式サイト)で参照する
関連特許
個人
砂時計
2か月前
個人
目覚し時計
4か月前
個人
時刻同期システム
2か月前
セイコーウオッチ株式会社
時計
1か月前
個人
ワイヤレス給電を使用した針が光るアナログ式時計
26日前
セイコーエプソン株式会社
電子時計
10日前
セイコーエプソン株式会社
電子時計
3か月前
セイコーエプソン株式会社
電子時計
1か月前
セイコーエプソン株式会社
電子時計
23日前
オメガ・エス アー
交換可能なベゼルを備える計時器
18日前
ローム株式会社
時間測定回路
1か月前
セイコーエプソン株式会社
文字板及び時計
10日前
株式会社村田製作所
光学的パターン表示物品
1か月前
日本電波株式会社
電波時計レピータ
26日前
日本電気株式会社
時刻維持装置および時刻維持方法
24日前
シチズン時計株式会社
腕時計
1か月前
セイコーエプソン株式会社
電子制御式機械時計
2か月前
シチズン時計株式会社
電子時計
2か月前
シチズン時計株式会社
機械式時計
4か月前
シチズン時計株式会社
機械式時計
3か月前
カシオ計算機株式会社
装飾板及び時計
1か月前
セイコータイムクリエーション株式会社
からくり時計
1か月前
カシオ計算機株式会社
制御装置、制御方法、及びプログラム
1か月前
セイコーエプソン株式会社
機械式時計
2か月前
カシオ計算機株式会社
機器ケース及び時計
2か月前
カシオ計算機株式会社
機器ケース及び時計
3か月前
セイコーエプソン株式会社
時計および風防部材の製造方法
1か月前
セイコーエプソン株式会社
インデックス、文字板、及び時計
2か月前
カシオ計算機株式会社
外装部品ユニット及び時計
1か月前
カシオ計算機株式会社
電子時計及び電子時計本体
2か月前
セイコーウオッチ株式会社
時計、音声再生方法およびプログラム
3か月前
カシオ計算機株式会社
電子時計、外装部材及びバンド
2か月前
コマデュール ソシエテ アノニム
エナメル彫刻及び模様付け方法
25日前
セイコーエプソン株式会社
機械式時計及び機械式時計の組み立て方法
4か月前
セイコーエプソン株式会社
時計用部品、および、時計
2か月前
カシオ計算機株式会社
指針、時計、及び指針の製造方法
2か月前
続きを見る
他の特許を見る