TOP
|
特許
|
意匠
|
商標
特許ウォッチ
Twitter
他の特許を見る
10個以上の画像は省略されています。
公開番号
2025146296
公報種別
公開特許公報(A)
公開日
2025-10-03
出願番号
2024046987
出願日
2024-03-22
発明の名称
光学的パターン表示物品
出願人
株式会社村田製作所
代理人
個人
,
個人
,
個人
主分類
G04B
19/32 20060101AFI20250926BHJP(時計)
要約
【課題】意匠性への影響を最低限に抑えつつ、光学的パターンを表示することができる光学的パターン表示物品を提供する。
【解決手段】本開示の光学的パターン表示物品1A~1Hは、レーザー光源2と、レーザー光源2からの光が照射されて光学的パターンPを生じさせるコロイド構造物CSが設けられた基材3と、を備える。
【選択図】図2
特許請求の範囲
【請求項1】
レーザー光源と、
前記レーザー光源からの光が照射されて光学的パターンを生じさせるコロイド構造物が設けられた基材と、
を備えた、光学的パターン表示物品。
続きを表示(約 490 文字)
【請求項2】
前記光学的パターンを表示するスクリーンをさらに備えた、請求項1に記載の光学的パターン表示物品。
【請求項3】
前記基材は、フィルム状である、請求項1に記載の光学的パターン表示物品。
【請求項4】
文字盤と、前記文字盤上を回動する短針および長針と、を有し、
前記文字盤に前記基材が用いられている、請求項1に記載の光学的パターン表示物品。
【請求項5】
前記短針および/または前記長針に前記レーザー光源が設けられている、請求項4に記載の光学的パターン表示物品。
【請求項6】
前記基材には、外部からの光によって更なる光学的パターンを生じさせる外部光用コロイド構造物をさらに備えている、請求項1に記載の光学的パターン表示物品。
【請求項7】
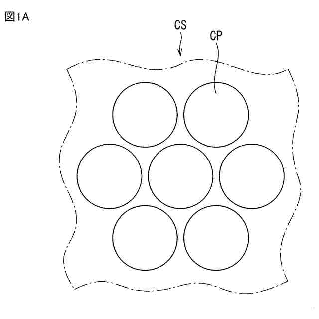
前記コロイド構造物は、1つのコロイド粒子の周囲に6つのコロイド粒子が配置されて平面視で六角形状に並んでいる、または、1つのコロイド粒子の周囲に4つのコロイド粒子が配置されて平面視で四角形状に並んでいる、請求項1に記載の光学的パターン表示物品。
発明の詳細な説明
【技術分野】
【0001】
本開示は、光学的パターン表示物品に関する。
続きを表示(約 2,000 文字)
【背景技術】
【0002】
特許文献1には、支持部上に配置および保持される少なくとも1つの透明又は半透明の装飾要素を含み、装飾要素は、宝石の形態および外観をとり、装飾要素によって光の反射または屈折を生じさせて視覚効果をもたらすように、支持部と装飾要素との間に配置された発光材料層を含む、携行用物品が開示されている。
【先行技術文献】
【特許文献】
【0003】
特表2011-527198号公報
【発明の概要】
【発明が解決しようとする課題】
【0004】
特許文献1に開示された携行用物品は、支持部上に装飾要素を含むため、携行用物品の上方から支持部を視認すると、宝石の形態および外観である装飾要素を識別することが可能である。そのため、宝石の形態および外観である装飾要素が携行用物品の意匠性に多かれ少なかれ影響を及ぼしていた。
【0005】
本願発明者はかかる点に着目し、装飾要素が携行用物品の意匠性への影響を最低限に抑える発明を着想し、具体化するに至った。したがって、本開示の主たる目的は、意匠性への影響を最低限に抑えつつ、光学的パターンを表示することができる光学的パターン表示物品を提供することである。
【課題を解決するための手段】
【0006】
本開示の光学的パターン表示物品は、
レーザー光源と、
前記レーザー光源からの光が照射されて光学的パターンを生じさせるコロイド構造物が設けられた基材と、
を備えている。
【発明の効果】
【0007】
本開示の光学的パターン表示物品によれば、光源からの光がコロイド構造物に照射されることによって、光学的パターンを表示することができる。一方で、レーザー光源からの光が照射されていないときは、数μmオーダーのコロイド構造物を視認することが困難であり、コロイド構造物が意匠性に影響を及ぼすことを最低限に抑えることができる。
【図面の簡単な説明】
【0008】
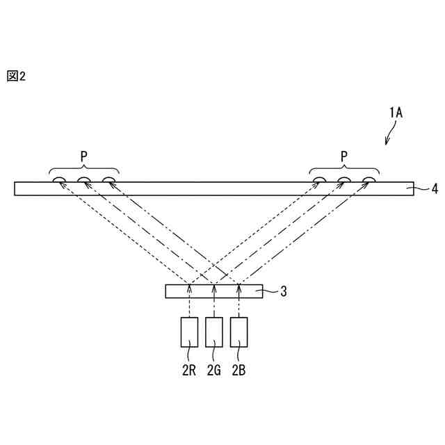
図1Aは、本開示の光学的パターン表示物品における、コロイド構造物の平面図である。
図1Bは、本開示の光学的パターン表示物品における、コロイド構造物の平面図である。
図2は、本開示の光学的パターン表示物品の第1実施形態の模式図である。
図3Aは、本開示の光学的パターン表示物品の第2実施形態の模式図である。
図3Bは、本開示の光学的パターン表示物品の第2実施形態の模式図である。
図4(a)は、本開示の光学的パターン表示物品の第3実施形態の斜視図であり、図4(b)は、図4(a)の破線領域のコロイド構造物の拡大図であり、図4(c)は、文字盤、短針及び長針、ケースの位置関係を説明する模式図である。
図5(a)は、本開示の光学的パターン表示物品の第4実施形態の斜視図であり、図5(b)は、図5(a)の破線領域のコロイド構造物の拡大図であり、図5(c)は、文字盤、短針及び長針、ケースの位置関係を説明する模式図である。
図6(a)は、本開示の光学的パターン表示物品の第5実施形態の斜視図であり、図6(b)は、図6(a)の破線領域のコロイド構造物の拡大図であり、図6(c)は、回動機構、文字盤、短針及び長針、ケースの位置関係を説明する模式図である。
図7(a)は、本開示の光学的パターン表示物品の第6実施形態の斜視図であり、図7(b)は、図7(a)の破線領域のコロイド構造物の拡大図であり、図7(c)は、回動機構、文字盤、短針及び長針、ケースの位置関係を説明する模式図である。
図8(a)は、本開示の光学的パターン表示物品の第7実施形態の斜視図であり、図8(b)は、図8(a)の破線領域のコロイド構造物の拡大図であり、図8(c)は、文字盤、短針及び長針、ケースの位置関係を説明する模式図である。
図9(a)は、本開示の光学的パターン表示物品の第8実施形態の斜視図であり、図9(b)は、図9(a)の破線領域のコロイド構造物の拡大図であり、図9(c)は、文字盤、短針及び長針、ケースの位置関係を説明する模式図である。
【発明を実施するための形態】
【0009】
以下では、本開示の一実施形態に係る光学的パターン表示物品をより詳細に説明する。必要に応じて図面を参照して説明を行うものの、図面における各種の要素は、本開示の理解のために模式的かつ例示的に示したにすぎず、外観や寸法比などは実物と異なり得る。
【0010】
(第1実施形態の光学的パターン表示物品について)
第1実施形態の光学的パターン表示物品1Aは、レーザー光源2と、基材3と、任意の構成としてのスクリーン4と、を備えている(図2参照)。
(【0011】以降は省略されています)
この特許をJ-PlatPat(特許庁公式サイト)で参照する
関連特許
株式会社村田製作所
電池パック
18日前
株式会社村田製作所
外観検査装置
26日前
株式会社村田製作所
電力増幅回路
26日前
株式会社村田製作所
フィルタ装置
20日前
株式会社村田製作所
インダクタ部品
18日前
株式会社村田製作所
インダクタ部品
28日前
株式会社村田製作所
インダクタ部品
6日前
株式会社村田製作所
インダクタ部品
6日前
株式会社村田製作所
インダクタ部品
18日前
株式会社村田製作所
指装着デバイス
11日前
株式会社村田製作所
インダクタ部品
18日前
株式会社村田製作所
インダクタ部品
18日前
株式会社村田製作所
インダクタ部品
18日前
株式会社村田製作所
積層体の切断装置
20日前
株式会社村田製作所
積層体の切断装置
20日前
株式会社村田製作所
正極及び二次電池
18日前
株式会社村田製作所
高周波モジュール
26日前
株式会社村田製作所
伸縮性コイル部品
1か月前
株式会社村田製作所
固体電解コンデンサ
13日前
株式会社村田製作所
積層セラミック電子部品
1か月前
株式会社村田製作所
積層セラミックコンデンサ
18日前
株式会社村田製作所
積層セラミックコンデンサ
18日前
株式会社村田製作所
熱拡散デバイス及び電子機器
20日前
株式会社シマノ
電動リール
5日前
株式会社村田製作所
高周波モジュール及び通信装置
26日前
株式会社村田製作所
コイル部品およびその製造方法
18日前
株式会社村田製作所
二次電池用負極および二次電池
1か月前
株式会社村田製作所
フィルタ装置及びマルチプレクサ
5日前
株式会社村田製作所
検出装置、検出方法およびプログラム
5日前
株式会社村田製作所
半導体装置及び半導体装置の製造方法
5日前
株式会社村田製作所
半導体装置及び半導体装置の製造方法
5日前
株式会社村田製作所
インダクタ部品およびバックコンバータ
18日前
株式会社村田製作所
方向性結合器、高周波モジュール及び通信装置
13日前
株式会社村田製作所
積層セラミックコンデンサおよびその製造方法
21日前
株式会社村田製作所
筋振動検知センサ、電気刺激装置及び筋振動検知方法
21日前
株式会社村田製作所
電子部品
20日前
続きを見る
他の特許を見る