TOP
|
特許
|
意匠
|
商標
特許ウォッチ
Twitter
他の特許を見る
10個以上の画像は省略されています。
公開番号
2025167300
公報種別
公開特許公報(A)
公開日
2025-11-07
出願番号
2024071780
出願日
2024-04-25
発明の名称
インダクタ部品
出願人
株式会社村田製作所
代理人
個人
,
個人
,
個人
主分類
H01F
17/04 20060101AFI20251030BHJP(基本的電気素子)
要約
【課題】磁性材料の劣化を抑制可能なインダクタ部品を提供すること。
【解決手段】インダクタ部品が、第1方向に沿った第1旋回軸まわりに延在する第1インダクタ配線と、第1インダクタ配線が内部に位置する素体とを備える。素体は、第1方向に交差する第2方向において第1インダクタ配線よりも第1旋回軸から離れて位置する磁性材料と、第2方向において磁性材料よりも第1旋回軸から離れて位置し、第2方向において磁性材料に接する第1保護膜とを含む。第1保護膜の第1方向の寸法である厚みは、第1インダクタ配線の厚みよりも大きい。
【選択図】図1
特許請求の範囲
【請求項1】
第1方向に沿った第1旋回軸まわりに延在する第1インダクタ配線と、
前記第1インダクタ配線が内部に位置する素体と
を備え、
前記素体は、
前記第1方向に交差する第2方向において前記第1インダクタ配線よりも前記第1旋回軸から離れて位置する磁性材料と、
前記第2方向において前記磁性材料よりも前記第1旋回軸から離れて位置し、前記第2方向において前記磁性材料に接する第1保護膜と
を含み、
前記第1保護膜の前記第1方向の寸法である厚みは、前記第1インダクタ配線の前記厚みよりも大きい、インダクタ部品。
続きを表示(約 1,100 文字)
【請求項2】
前記第1方向に交差する第1仮想平面に位置する第1導体層を備え、
前記第1インダクタ配線は、前記第1導体層上に設けられ、
前記第1導体層は、
前記第1旋回軸まわりに位置する第1本体部と、
前記第1本体部から、前記第2方向でかつ前記第1旋回軸から離れる方向、または、前記第2方向でかつ前記第1旋回軸に接近する方向に延びる引き出し部と
を含む、請求項1に記載のインダクタ部品。
【請求項3】
前記第1仮想平面に対して平行に隣接する第2仮想平面に設けられた第2導体層と、
前記第2導体層上に設けられ、前記第1方向において、前記第2導体層に対して前記第1導体層とは反対側に位置すると共に、前記第1方向に沿った第2旋回軸まわりに延在する第2インダクタ配線と
を備える、請求項2に記載のインダクタ部品。
【請求項4】
前記第1保護膜が、前記第1導体層を覆うように構成されている、請求項2または3に記載のインダクタ部品。
【請求項5】
前記第1保護膜が、複数の材料を含み、
前記複数の材料は、少なくとも無機フィラーを含む、請求項1~3のいずれかに記載のインダクタ部品。
【請求項6】
前記第1保護膜が、複数の材料を含み、
前記複数の材料は、全て感光性材料である、請求項1~3のいずれかに記載のインダクタ部品。
【請求項7】
前記素体の内部に設けられ、前記第1インダクタ配線および前記第2導体層の間に位置する第1絶縁層を備え、
前記第1保護膜と前記第1絶縁層とが一体に形成されている、請求項3に記載のインダクタ部品。
【請求項8】
前記素体は、前記第1保護膜の前記第1方向の端部に前記磁性材料が接するように構成されている、請求項1~3のいずれかに記載のインダクタ部品。
【請求項9】
前記磁性材料は、前記第1方向に沿った見た場合に、面取りされた角部を含む四角形状を有し、
前記第1方向に沿って見た場合において、前記第1保護膜の外面から前記磁性材料までの距離が最短となる方向の寸法を幅とすると、
前記第1保護膜の前記幅のうち、前記角部の面取りされた部分の前記幅が最も大きい、請求項1~3のいずれかに記載のインダクタ部品。
【請求項10】
前記第1導体層の前記第1保護膜に接している部分が、前記第1インダクタ配線から隔離されている、請求項4に記載のインダクタ部品。
(【請求項11】以降は省略されています)
発明の詳細な説明
【技術分野】
【0001】
本開示は、インダクタ部品に関する。
続きを表示(約 1,700 文字)
【背景技術】
【0002】
特許文献1は、磁性材料を含有する素体と、素体の底面に設けられた絶縁層とを有するコイル部品を開示する。
【先行技術文献】
【特許文献】
【0003】
特開2023-148899号公報
【発明の概要】
【発明が解決しようとする課題】
【0004】
特許文献1のコイル部品は、環境負荷等による磁性材料の劣化を抑制する点において、改善の余地がある。
【0005】
本開示は、磁性材料の劣化を抑制可能なインダクタ部品を提供することを目的とする。
【課題を解決するための手段】
【0006】
本開示の一態様のインダクタ部品は、
第1方向に沿った第1旋回軸まわりに延在する第1インダクタ配線と、
前記第1インダクタ配線が内部に位置する素体と
を備え、
前記素体は、
前記第1方向に交差する第2方向において前記第1インダクタ配線よりも前記第1旋回軸から離れて位置する磁性材料と、
前記第2方向において前記磁性材料よりも前記第1旋回軸から離れて位置し、前記第2方向において前記磁性材料に接する第1保護膜と
を含み、
前記第1保護膜の前記第1方向の寸法である厚みは、前記第1インダクタ配線の前記厚みよりも大きい。
【発明の効果】
【0007】
前記態様のインダクタ部品によれば、磁性材料の劣化を抑制できる。
【図面の簡単な説明】
【0008】
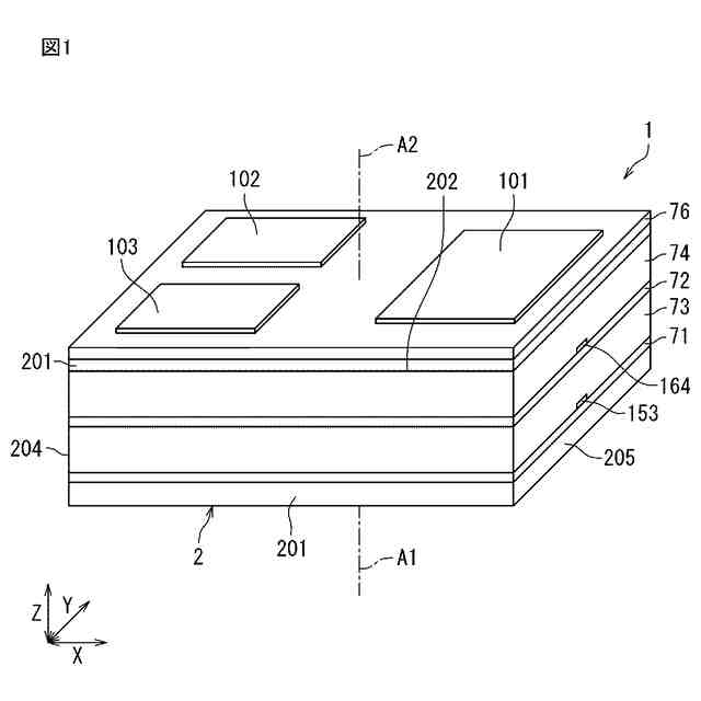
本開示の一態様のインダクタ部品を示す斜視図。
図1のインダクタ部品の平面図。
図2のIII-III線に沿った断面図。
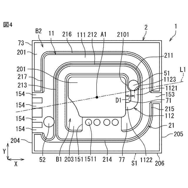
図1のインダクタ部品の第1インダクタ配線の層を説明するための平面模式図。
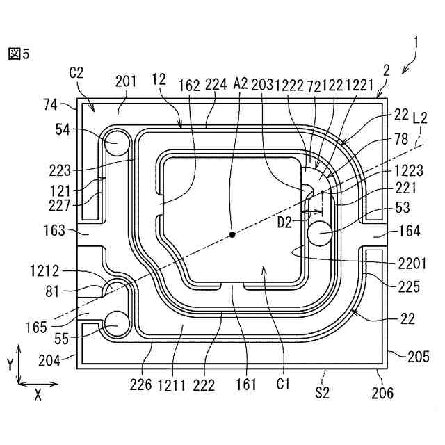
図1のインダクタ部品の第2インダクタ配線の層を説明するための平面模式図。
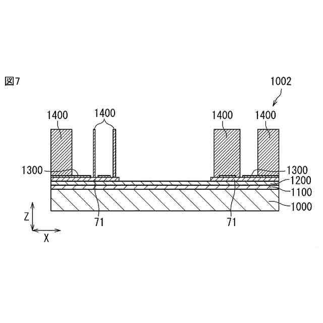
図1のインダクタ部品の製造方法の一例を説明するための第1の図。
図1のインダクタ部品の製造方法の一例を説明するための第2の図。
図1のインダクタ部品の製造方法の一例を説明するための第3の図。
図1のインダクタ部品の製造方法の一例を説明するための第4の図。
図1のインダクタ部品の製造方法の一例を説明するための第5の図。
図1のインダクタ部品の製造方法の一例を説明するための第6の図。
図1のインダクタ部品の製造方法の一例を説明するための第7の図。
図1のインダクタ部品の製造方法の一例を説明するための第8の図。
図1のインダクタ部品の製造方法の一例を説明するための第9の図。
図1のインダクタ部品の製造方法の一例を説明するための第10の図。
図1のインダクタ部品の第1の変形例を示す平面模式図。
図1のインダクタ部品の第2の変形例を示す平面模式図。
図1のインダクタ部品の第3の変形例を示す平面模式図。
図1のインダクタ部品の第4の変形例を示す斜視図。
図1のインダクタ部品の第5の変形例を示す拡大側面図。
図1のインダクタ部品の第6の変形例を示す斜視図。
図1のインダクタ部品の第7の変形例を示す斜視図。
【発明を実施するための形態】
【0009】
本開示の種々の態様について説明する。
【0010】
第1態様のインダクタ部品は、
第1方向に沿った第1旋回軸まわりに延在する第1インダクタ配線と、
前記第1インダクタ配線が内部に位置する素体と
を備え、
前記素体は、
前記第1方向に交差する第2方向において前記第1インダクタ配線よりも前記第1旋回軸から離れて位置する磁性材料と、
前記第2方向において前記磁性材料よりも前記第1旋回軸から離れて位置し、前記第2方向において前記磁性材料に接する第1保護膜と
を含み、
前記第1保護膜の前記第1方向の寸法である厚みは、前記第1インダクタ配線の前記厚みよりも大きい。
(【0011】以降は省略されています)
この特許をJ-PlatPat(特許庁公式サイト)で参照する
関連特許
株式会社村田製作所
切断装置
1日前
株式会社村田製作所
二次電池
1か月前
株式会社村田製作所
移相回路
1か月前
株式会社村田製作所
電子聴診器
1か月前
株式会社村田製作所
ネブライザ
1か月前
株式会社村田製作所
弾性波装置
2日前
株式会社村田製作所
電池パック
22日前
株式会社村田製作所
コイル部品
1か月前
株式会社村田製作所
コイル部品
1か月前
株式会社村田製作所
高周波回路
1か月前
株式会社村田製作所
コイル部品
1か月前
株式会社村田製作所
外観検査装置
1か月前
株式会社村田製作所
フィルタ装置
1か月前
株式会社村田製作所
電力システム
1か月前
株式会社村田製作所
電力増幅回路
1か月前
株式会社村田製作所
超音波ノズル
1日前
株式会社村田製作所
フィルタ装置
24日前
株式会社村田製作所
インダクタ部品
22日前
株式会社村田製作所
インダクタ部品
22日前
株式会社村田製作所
インダクタ部品
22日前
株式会社村田製作所
インダクタ部品
22日前
株式会社村田製作所
インダクタ部品
1か月前
株式会社村田製作所
インダクタ部品
22日前
株式会社村田製作所
指装着デバイス
15日前
株式会社村田製作所
電池モジュール
1か月前
株式会社村田製作所
インダクタ部品
10日前
株式会社村田製作所
インダクタ部品
10日前
株式会社村田製作所
積層体の切断装置
24日前
株式会社村田製作所
伸縮性コイル部品
1か月前
株式会社村田製作所
積層体の切断装置
24日前
株式会社村田製作所
高周波電力増幅器
1日前
株式会社村田製作所
高周波モジュール
1か月前
株式会社村田製作所
健康管理システム
3日前
株式会社村田製作所
高周波電力増幅器
1日前
株式会社村田製作所
正極及び二次電池
22日前
株式会社村田製作所
固体電解コンデンサ
17日前
続きを見る
他の特許を見る