TOP
|
特許
|
意匠
|
商標
特許ウォッチ
Twitter
他の特許を見る
10個以上の画像は省略されています。
公開番号
2025170618
公報種別
公開特許公報(A)
公開日
2025-11-19
出願番号
2024075352
出願日
2024-05-07
発明の名称
インダクタ部品
出願人
株式会社村田製作所
代理人
個人
,
個人
主分類
H01F
17/04 20060101AFI20251112BHJP(基本的電気素子)
要約
【課題】電流のリークを減らすことができるインダクタ部品を提供する。
【解決手段】インダクタ部品は、本体の内部に設けられて軸方向の周りに巻回されたコイル配線と、本体の外面に設けられた第1外部端子及び第2外部端子と、軸方向に沿って延び第1外部端子及びコイル配線に接続された第1接続導体と、第2外部端子及びコイル配線に接続された第2接続導体とを備える。コイル配線が備える複数の周回部は、第1接続導体に接続された一端部から軸方向の周りに1周する第1周回部と、第1周回部の他端部に連続し且つ軸方向の周りに延びる第2周回部とを備える。第1周回部は、一端部から周方向のうちの特定方向成分を有する方向へ延びた第1部分を備える。第2周回部は、第1周回部の他端部から特定方向成分を有する方向へ延びた第2部分を備える。軸方向に沿って見て、第2部分の幅方向の少なくとも一部は第1外部端子と重なっていない。
【選択図】図2
特許請求の範囲
【請求項1】
磁性材料を含む本体と、
前記本体の内部に設けられ、軸方向の周りに巻回されてコイルを構成するコイル配線と、
前記本体の外面のうちの前記軸方向に交差する交差面に設けられた第1外部端子と、
前記本体の外面に設けられた第2外部端子と、
前記本体の内部に設けられ、前記軸方向に沿って延び、前記第1外部端子および前記コイル配線に接続された第1接続導体と、
前記本体の内部に設けられ、前記第2外部端子および前記コイル配線に接続された第2接続導体と、を備え、
前記コイル配線は、前記軸方向の周りの周方向に延びる複数の周回部を備え、
前記複数の周回部は、少なくとも、前記第1接続導体に接続された一端部から前記軸方向の周りに1周する第1周回部と、前記第1周回部の他端部に連続しており且つ前記第1周回部の内側を前記軸方向の周りに延びる第2周回部と、備え、
前記周方向のうち、前記第1周回部の一端部を含む接線が延びる方向を特定方向としたとき、前記第1周回部は、前記第1周回部の一端部から前記特定方向成分を有する方向へ延びた第1部分を備え、
前記第2周回部は、前記第1周回部の他端部から前記特定方向成分を有する方向へ延びた第2部分を備え、
前記軸方向に沿って見て、前記第2部分の任意の点における幅方向の少なくとも一部は前記第1外部端子と重なっていない、インダクタ部品。
続きを表示(約 1,000 文字)
【請求項2】
前記第1周回部および前記第2周回部は同一平面上にある、請求項1に記載のインダクタ部品。
【請求項3】
前記軸方向に沿って見て、前記第2部分の一部が前記第1外部端子と重なっておらず、前記第2部分の一部以外が前記第1外部端子と重なっている請求項1または2に記載のインダクタ部品。
【請求項4】
前記軸方向に沿って見て、前記第2部分の全部が前記第1外部端子と重なっていない、請求項1または2に記載のインダクタ部品。
【請求項5】
前記コイル配線は、前記複数の周回部のうちの前記第1周回部とは異なる何れかの周回部に前記第2接続導体に接続されたパッドを備え、
前記軸方向に沿って見て、前記第1部分から前記第2部分までの最短距離は、前記パッドから前記複数の周回部のうちの前記パッドが設けられた周回部を除く周回部までの最短距離より長い、請求項1または2に記載のインダクタ部品。
【請求項6】
前記軸方向に沿って見て、前記第1部分から前記第2部分までの最短距離である部分間距離は、前記部分間距離以外の距離であって前記複数の周回部のうちの隣り合う2つの周回部における前記周方向の位置が同じ部分同士の間の最長距離より長い、請求項1または2に記載のインダクタ部品。
【請求項7】
前記コイル配線における前記第1外部端子に対向する部分は、絶縁物によって被覆されていない、請求項1または2に記載のインダクタ部品。
【請求項8】
前記特定方向成分における前記第1接続導体の最大長は、前記周方向のうちの前記特定方向成分と直交する直交方向成分における前記第1接続導体の最大長より長い、請求項1または2に記載のインダクタ部品。
【請求項9】
前記特定方向成分における前記第1接続導体の最大長を第1最大長とし、前記周方向のうちの前記特定方向成分と直交する直交方向成分における前記第1接続導体の最大長を第2最大長とし、前記特定方向成分における前記第2接続導体の最大長を第3最大長とし、前記直交方向成分における前記第2接続導体の最大長を第4最大長とした場合において、前記第1最大長を前記第2最大長で除算した値は、前記第3最大長を前記第4最大長で除算した値より大きい、請求項1または2に記載のインダクタ部品。
【請求項10】
前記軸方向に沿って見て、前記第1接続導体は長方形である、請求項1または2に記載のインダクタ部品。
(【請求項11】以降は省略されています)
発明の詳細な説明
【技術分野】
【0001】
本開示は、本体の内部にコイル配線が設けられたインダクタ部品に関する。
続きを表示(約 2,200 文字)
【背景技術】
【0002】
本体の内部にコイル配線が設けられたインダクタ部品の一例として、特許文献1にコイル部品が開示されている。
【0003】
特許文献1に開示されたコイル部品では、基体の内部に設けられたコイル配線の両端部が、基体の外面に設けられた外部電極にビア導体を介して接続されている。
【先行技術文献】
【特許文献】
【0004】
特開2023-175582号公報
【発明の概要】
【発明が解決しようとする課題】
【0005】
特許文献1に開示されたコイル部品では、静電気放電(ESD: Electrostatic Discharge)などによってコイル配線および外部電極の間において、電流がリークするおそれがある。
【0006】
本開示は、電流のリークを減らすことができるインダクタ部品を提供することを目的とする。
【課題を解決するための手段】
【0007】
本開示の一態様のインダクタ部品は、
磁性材料を含む本体と、
前記本体の内部に設けられ、軸方向の周りに巻回されてコイルを構成するコイル配線と、
前記本体の外面のうちの前記軸方向に交差する交差面に設けられた第1外部端子と、
前記本体の外面に設けられた第2外部端子と、
前記本体の内部に設けられ、前記軸方向に沿って延び、前記第1外部端子および前記コイル配線に接続された第1接続導体と、
前記本体の内部に設けられ、前記第2外部端子および前記コイル配線に接続された第2接続導体と、を備え、
前記コイル配線は、前記軸方向の周りの周方向に延びる複数の周回部を備え、
前記複数の周回部は、少なくとも、前記第1接続導体に接続された一端部から前記軸方向の周りに1周する第1周回部と、前記第1周回部の他端部に連続しており且つ前記第1周回部の内側を前記軸方向の周りに延びる第2周回部と、を備え、
前記周方向のうち、前記第1周回部の一端部を含む接線が延びる方向を特定方向としたとき、前記第1周回部は、前記第1周回部の一端部から前記特定方向成分を有する方向へ延びた第1部分を備え、
前記第2周回部は、前記第1周回部の他端部から前記特定方向成分を有する方向へ延びた第2部分を備え、
前記軸方向に沿って見て、前記第2部分の任意の点における幅方向の少なくとも一部は前記第1外部端子と重なっていない。
【発明の効果】
【0008】
本開示によれば、電流のリークを減らすことができるインダクタ部品を提供することができる。
【図面の簡単な説明】
【0009】
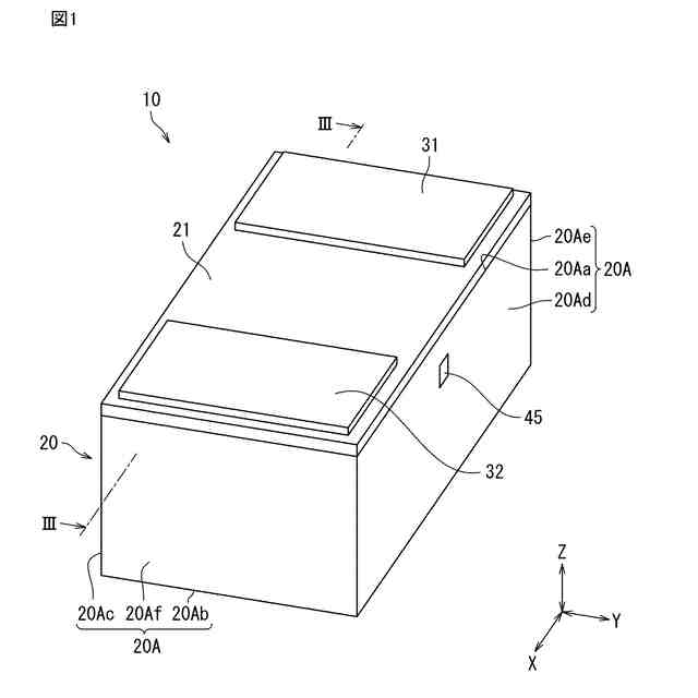
本開示の第1実施形態に係るインダクタ部品の模式外観斜視図。
本開示の第1実施形態に係るインダクタ部品のコイル配線の模式平面図。
図1のIII-III断面を示す模式断面図。
本開示の第1実施形態に係るインダクタ部品の製造方法を説明する模式断面図。
本開示の第1実施形態に係るインダクタ部品の製造方法において図4に続く工程を説明する模式断面図。
本開示の第1実施形態に係るインダクタ部品の製造方法において図5に続く工程を説明する模式断面図。
本開示の第1実施形態に係るインダクタ部品の製造方法において図6に続く工程を説明する模式断面図。
本開示の第1実施形態に係るインダクタ部品の製造方法において図7に続く工程を説明する模式断面図。
本開示の第1実施形態に係るインダクタ部品の製造方法において図8に続く工程を説明する模式断面図。
本開示の第1実施形態に係るインダクタ部品の製造方法において図9に続く工程を説明する模式断面図。
本開示の第1実施形態に係るインダクタ部品の製造方法において図10に続く工程を説明する模式断面図。
本開示の第1実施形態に係るインダクタ部品の製造方法において図11に続く工程を説明する模式断面図。
本開示の第1実施形態に係るインダクタ部品の製造方法において図12に続く工程を説明する模式断面図。
本開示の第1実施形態に係るインダクタ部品の製造方法において図13に続く工程を説明する模式断面図。
本開示の第2実施形態に係るインダクタ部品のコイル配線の模式平面図。
本開示の第2実施形態に係るインダクタ部品において図1のIII-III断面に対応する断面を示す模式断面図。
【発明を実施するための形態】
【0010】
以下、本開示の一例を添付図面に従って説明する。なお、以下の説明は、本質的に例示に過ぎず、本開示、その適用物、あるいは、その用途を制限することを意図するものではない。また、図面は模式的なものであり、各寸法の比率等は現実のものとは必ずしも合致していない。また、以下の説明では、必要に応じて特定の方向あるいは位置を示す用語(例えば、「上」、「下」、「右」、「左」、「前」、「後」を含む用語)が用いられる。しかし、特定の方向あるいは位置を示す用語の使用は、図面を参照した本開示の理解を容易にするためであって、それらの用語の意味によって本開示の技術的範囲が限定されるものではない。
(【0011】以降は省略されています)
この特許をJ-PlatPat(特許庁公式サイト)で参照する
関連特許
株式会社村田製作所
切断装置
13日前
株式会社村田製作所
弾性波装置
14日前
株式会社村田製作所
インダクタ
1日前
株式会社村田製作所
90度カプラ
今日
株式会社村田製作所
超音波ノズル
13日前
株式会社村田製作所
健康管理システム
15日前
株式会社村田製作所
高周波電力増幅器
13日前
株式会社村田製作所
高周波電力増幅器
13日前
株式会社村田製作所
ドハティ増幅回路
2日前
株式会社村田製作所
センサ及び電子機器
今日
株式会社村田製作所
ニッケル粉末の製造方法
13日前
株式会社村田製作所
ニッケル粉末の製造方法
13日前
株式会社村田製作所
めっき組成物の製造方法
今日
株式会社村田製作所
積層セラミックコンデンサ
1日前
株式会社村田製作所
積層セラミックコンデンサ
今日
株式会社シマノ
電動リール
21日前
株式会社村田製作所
フィルタ装置及びマルチプレクサ
21日前
株式会社村田製作所
振動装置および触覚提示モジュール
14日前
株式会社村田製作所
健康管理システム及び健康管理方法
15日前
株式会社村田製作所
半導体装置及び半導体装置の製造方法
21日前
株式会社村田製作所
インダクタおよびインダクタの製造方法
8日前
株式会社村田製作所
弾性波共振子および弾性波フィルタ装置
今日
株式会社村田製作所
コイル部品および、これを含むフィルタ回路
15日前
株式会社村田製作所
剥離装置、積み重ね剥離装置および剥離方法
今日
株式会社村田製作所
電子部品、高周波モジュール、及び、通信装置
今日
株式会社村田製作所
インダクタ部品
15日前
株式会社村田製作所
スイッチ付き同軸コネクタおよびそれを備える同軸コネクタセット
6日前
株式会社村田製作所
健康管理システム及び健康管理方法
15日前
個人
三重コイル変圧器
1日前
APB株式会社
蓄電セル
1か月前
日機装株式会社
加圧装置
6日前
マクセル株式会社
電源装置
1か月前
日新イオン機器株式会社
イオン源
6日前
ローム株式会社
半導体装置
今日
ローム株式会社
半導体装置
1か月前
株式会社東芝
端子台
1か月前
続きを見る
他の特許を見る