TOP
|
特許
|
意匠
|
商標
特許ウォッチ
Twitter
他の特許を見る
10個以上の画像は省略されています。
公開番号
2025173157
公報種別
公開特許公報(A)
公開日
2025-11-27
出願番号
2024078593
出願日
2024-05-14
発明の名称
弾性波装置
出願人
株式会社村田製作所
代理人
個人
,
個人
主分類
H03H
9/25 20060101AFI20251119BHJP(基本電子回路)
要約
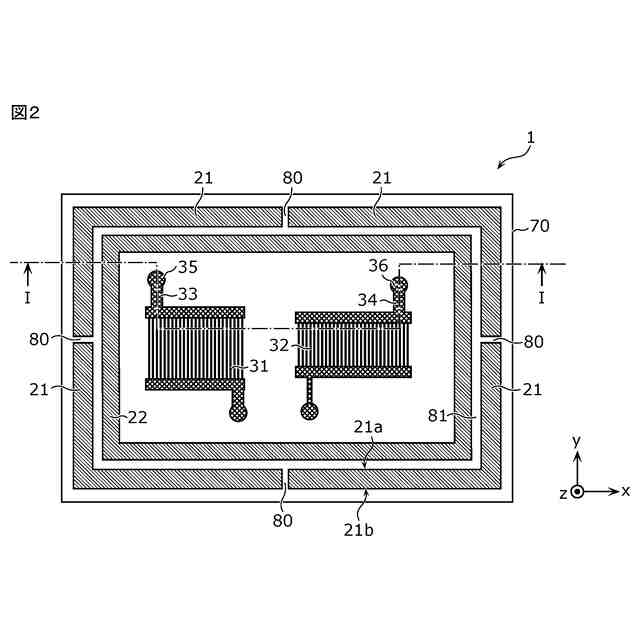
【課題】放熱性が向上した弾性波装置を提供する。
【解決手段】弾性波フィルタ1は、互いに対向する主面10aおよび10bを有する基板10と、主面10aと対面する主面70aを有する基板70と、主面70aに配置された機能電極31および32と、主面10aおよび70aの間に配置された枠体20と、を備え、枠体20は、主面10aおよび70aを平面視した場合に機能電極31および32を囲む壁体22と、上記平面視において、空隙81を介して壁体22の外周に配置された壁体21と、を含み、壁体21は、内周面21aと外周面21bとの間を貫通し、空隙81と通じる少なくとも1つの開口部80を有する。
【選択図】図2
特許請求の範囲
【請求項1】
互いに対向する第1主面および第2主面を有する第1基板と、
前記第1主面と対面する第3主面を有する第2基板と、
前記第3主面に配置された機能電極と、
前記第1主面および前記第3主面の間に配置された枠体と、を備え、
前記枠体は、
前記第1主面および前記第3主面を平面視した場合に前記機能電極を囲む第1壁体と、
前記平面視において、空隙を介して前記第1壁体の外周に配置された第2壁体と、を含み、
前記第2壁体は、内周面と外周面との間を貫通し、前記空隙と通じる少なくとも1つの開口部を有する、
弾性波装置。
続きを表示(約 920 文字)
【請求項2】
前記第2壁体は、前記平面視において前記空隙を介して前記第1壁体を囲むよう配置される、
請求項1に記載の弾性波装置。
【請求項3】
前記第2壁体は、前記空隙と通じる複数の前記開口部を有する、
請求項1に記載の弾性波装置。
【請求項4】
前記複数の開口部は、第1開口部および第2開口部を含み、
前記第1開口部と前記機能電極との距離は、前記第2開口部と前記機能電極との距離よりも小さく、
前記第1開口部の開口径は、前記第2開口部の開口径よりも大きい、
請求項3に記載の弾性波装置。
【請求項5】
互いに対向する第1主面および第2主面を有する第1基板と、
前記第1主面と対面する第3主面を有する第2基板と、
前記第3主面に配置された機能電極と、
前記第1主面および前記第3主面の間に配置された枠体と、を備え、
前記枠体は、
前記第1主面および前記第3主面を平面視した場合に前記機能電極を囲む第1壁体と、
前記平面視において、前記第1壁体の外周に、空隙を介して前記第1壁体の一部に沿って配置された第2壁体と、を含み、
前記平面視において、前記空隙は前記第2壁体の両端を介して前記第2壁体の外周領域と通じる、
弾性波装置。
【請求項6】
前記第1壁体の外側表面の方が前記第1壁体の内側表面よりも粗い、
請求項1~5のいずれか1項に記載の弾性波装置。
【請求項7】
前記第1壁体は、金属からなる導体部を含む、
請求項6に記載の弾性波装置。
【請求項8】
前記導体部は、アルミニウムからなる、
請求項7に記載の弾性波装置。
【請求項9】
前記第1壁体の外側表面は、アルミニウム酸化物を含む、
請求項8に記載の弾性波装置。
【請求項10】
前記第1壁体の外側表面は、ベーマイトを含む、
請求項9に記載の弾性波装置。
(【請求項11】以降は省略されています)
発明の詳細な説明
【技術分野】
【0001】
本発明は、弾性波装置に関する。
続きを表示(約 1,700 文字)
【背景技術】
【0002】
特許文献1には、上側基板および下側基板の間に配置された薄膜圧電素子と、当該薄膜圧電素子を囲むように配置された、多重リング構造を有する封止リングと、を備えた微小電気機械装置(弾性波装置)が開示されている。上記構成により確実な封止(気密性)が可能であるとしている。
【先行技術文献】
【特許文献】
【0003】
特開2008-288497号公報
【発明の概要】
【発明が解決しようとする課題】
【0004】
移動体通信の高出力化要求に伴い、気密性とともに放熱性が向上した弾性波装置が求められている。
【0005】
そこで、本発明は、放熱性が向上した弾性波装置を提供することを目的とする。
【課題を解決するための手段】
【0006】
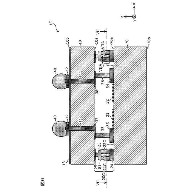
上記目的を達成するために、本発明の一態様に係る弾性波装置は、互いに対向する第1主面および第2主面を有する第1基板と、第1主面と対面する第3主面を有する第2基板と、第3主面に配置された機能電極と、第1主面および第3主面の間に配置された枠体と、を備え、枠体は、第1主面および第3主面を平面視した場合に機能電極を囲む第1壁体と、上記平面視において、空隙を介して第1壁体の外周に配置された第2壁体と、を含み、第2壁体は、内周面と外周面との間を貫通し、空隙と通じる少なくとも1つの開口部を有する。
【0007】
また、本発明の一態様に係る弾性波装置は、互いに対向する第1主面および第2主面を有する第1基板と、第1主面と対面する第3主面を有する第2基板と、第3主面に配置された機能電極と、第1主面および第3主面の間に配置された枠体と、を備え、枠体は、第1主面および第3主面を平面視した場合に機能電極を囲む第1壁体と、上記平面視において、第1壁体の外周に、空隙を介して第1壁体の一部に沿って配置された第2壁体と、を含み、上記平面視において、空隙は第2壁体の両端を介して第2壁体の外周領域と通じる。
【発明の効果】
【0008】
本発明によれば、放熱性が向上した弾性波装置を提供することが可能となる。
【図面の簡単な説明】
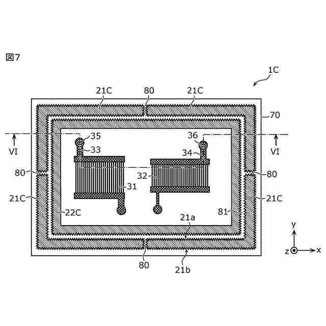
【0009】
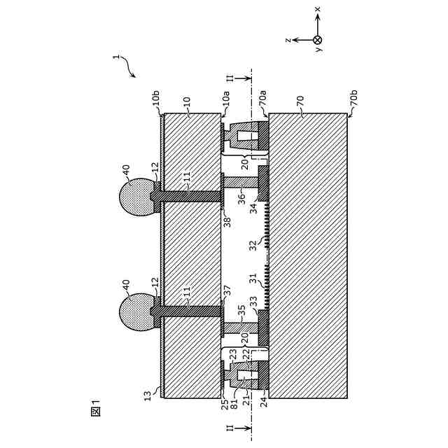
実施の形態に係る弾性波フィルタの断面図である。
実施の形態に係る弾性波フィルタの平面図である。
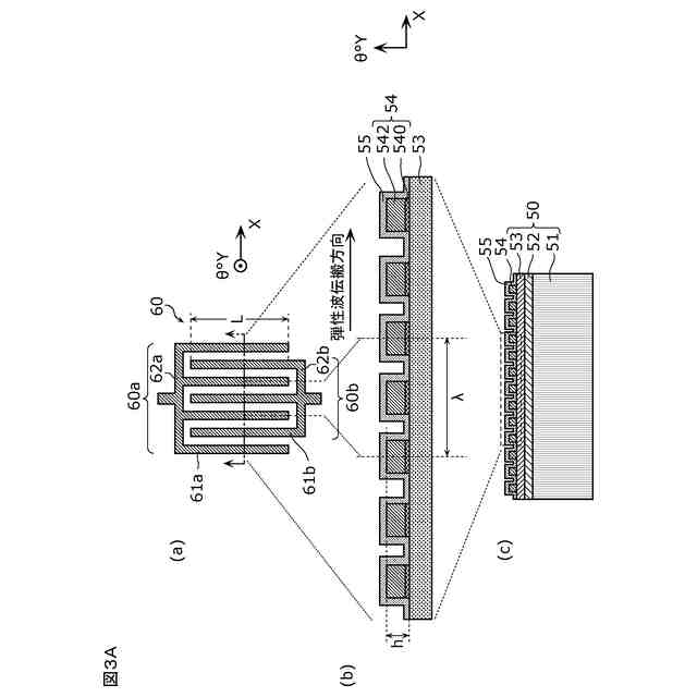
実施の形態に係る弾性波フィルタを構成する弾性波共振子の第1例を模式的に表す平面図および断面図である。
実施の形態に係る弾性波フィルタを構成する弾性波共振子の第2例を模式的に表す断面図である。
実施の形態に係る弾性波フィルタを構成する弾性波共振子の第3例を模式的に表す断面図である。
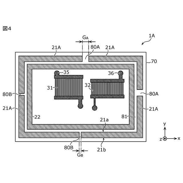
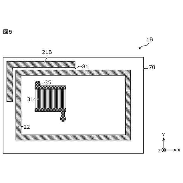
実施の形態の変形例1に係る弾性波フィルタの平面図である。
実施の形態の変形例2に係る弾性波フィルタの平面図である。
実施の形態の変形例3に係る弾性波フィルタの断面図である。
実施の形態の変形例3に係る弾性波フィルタの平面図である。
実施の形態の変形例3に係る第1壁体の外側断面および外側表面の電子顕微鏡画像を表す図である。
実施の形態の変形例3に係る第1壁体の内側断面および内側表面の電子顕微鏡画像を表す図である。
実施の形態の変形例3に係る第1壁体の表面積の評価方法を示す図である。
【発明を実施するための形態】
【0010】
以下、本開示の実施の形態について、図面を用いて詳細に説明する。なお、以下で説明する実施の形態は、いずれも包括的または具体的な例を示すものである。以下の実施の形態で示される数値、形状、材料、構成要素、構成要素の配置および接続形態などは、一例であり、本発明を限定する主旨ではない。以下の実施の形態における構成要素のうち、独立請求項に記載されていない構成要素については、任意の構成要素として説明される。また、図面に示される構成要素の大きさまたは大きさの比は、必ずしも厳密ではない。
(【0011】以降は省略されています)
この特許をJ-PlatPat(特許庁公式サイト)で参照する
関連特許
株式会社蜂鳥
増幅器
1日前
エイブリック株式会社
増幅器
1か月前
エイブリック株式会社
増幅器
1か月前
エイブリック株式会社
増幅回路
1か月前
日本電波工業株式会社
圧電振動片
1か月前
日本電波工業株式会社
水晶振動子
20日前
京セラ株式会社
差動信号フィルタデバイス
7日前
台灣晶技股ふん有限公司
水晶発振器
28日前
京セラ株式会社
差動信号フィルタデバイス
7日前
富士電機株式会社
半導体装置
今日
株式会社半導体エネルギー研究所
駆動回路
1か月前
株式会社村田製作所
弾性波装置
今日
台灣晶技股ふん有限公司
水晶発振素子
28日前
TDK株式会社
電子部品
1か月前
TDK株式会社
電子部品
1か月前
ローム株式会社
自己診断システム
1か月前
三菱電機株式会社
高周波増幅器モジュール
1か月前
国立大学法人東北大学
弾性表面波デバイス
20日前
日清紡マイクロデバイス株式会社
演算増幅器
1か月前
エイブリック株式会社
電流制限回路及び電流制限装置
1か月前
エイブリック株式会社
出力制御回路及び電圧出力回路
1か月前
太陽誘電株式会社
フィルタ及びマルチプレクサ
1か月前
台灣晶技股ふん有限公司
発振装置
1か月前
日本電波工業株式会社
温度センサ内蔵型の水晶振動子
20日前
アルプスアルパイン株式会社
センサ装置
1か月前
株式会社NTTドコモ
リニアライザ
1か月前
ローム株式会社
発振回路
1か月前
ローム株式会社
発振回路
1か月前
三安ジャパンテクノロジー株式会社
弾性波デバイス
20日前
ローム株式会社
信号伝達装置
15日前
セイコーエプソン株式会社
振動デバイス
22日前
ローム株式会社
半導体装置
1か月前
株式会社村田製作所
高周波回路および通信装置
1か月前
台灣晶技股ふん有限公司
共振装置
13日前
ローム株式会社
半導体装置
1か月前
株式会社デンソー
差動リングオシレータ
7日前
続きを見る
他の特許を見る