TOP
|
特許
|
意匠
|
商標
特許ウォッチ
Twitter
他の特許を見る
10個以上の画像は省略されています。
公開番号
2025152997
公報種別
公開特許公報(A)
公開日
2025-10-10
出願番号
2024055242
出願日
2024-03-29
発明の名称
圧電振動片
出願人
日本電波工業株式会社
代理人
主分類
H03H
9/19 20060101AFI20251002BHJP(基本電子回路)
要約
【課題】不要振動の抑制を従来に比べ良好に行える新規な構造を有した水晶振動片を提供する。
【解決手段】水晶振動片10は、平面視で矩形状のATカットの水晶振動片である。然も、水晶振動片の4つの側面のうちの、少なくとも厚み滑り振動の変位方向と交差する2つの側面各々の一部又は全部が、その側面を含む辺に沿って連続する凹凸面10aとなっている。然も、凹凸はランダムな凹凸であり、かつ、凹凸の少なくとも一部の凹凸の高低差hが、圧電振動片で生じる可能性のある屈曲振動の波長λに対しλ/3以上である。
【選択図】図1
特許請求の範囲
【請求項1】
平面視で矩形状であり、厚み滑り振動する圧電振動片であって、
圧電振動片の4つの側面のうちの、少なくとも厚み滑り振動の変位方向と交差する2つの側面各々の一部又は全部が、その側面を含む辺に沿って連続する凹凸面となっており、
前記凹凸はランダムな凹凸であり、かつ、前記凹凸の少なくとも一部の凹凸の高低差が、当該圧電振動片で生じる可能性のある屈曲振動の波長λに対しλ/3以上であることを特徴とする圧電振動片。
続きを表示(約 920 文字)
【請求項2】
前記圧電振動片は、ATカットの水晶振動片であることを特徴とする請求項1に記載の圧電振動片。
【請求項3】
前記圧電振動片は、辺比X/tが30以上のATカットの水晶振動片であることを特徴とする請求項1に記載の圧電振動片(ただし、Xは前記水晶振動片の水晶のX軸に平行な寸法、tは前記水晶振動片の厚みである)。
【請求項4】
前記圧電振動片は、辺比X/tが41以上のATカットの水晶振動片であることを特徴とする請求項1に記載の圧電振動片(ただし、Xは、当該水晶振動片の水晶のX軸に平行な寸法、tは、当該水晶振動片の厚みである)。
【請求項5】
前記圧電振動片は、辺比X/tが30以上40以下のATカットの水晶振動片であり、前記凹凸の少なくとも一部の凹凸の高低差がλ/3~λ/2.5であることを特徴とする請求項1に記載の圧電振動片(ただし、Xは前記水晶振動片の水晶のX軸に平行な寸法、tは前記水晶振動片の厚みである)。
【請求項6】
前記圧電振動片は、辺比X/tが30以上のATカットの水晶振動片であり、
高低差がλ/3以上の凹凸を20~30%の割合で含むことを特徴とする請求項1に記載の圧電振動片(ただし、Xは前記水晶振動片の水晶のX軸に平行な寸法、tは前記水晶振動片の厚みである)。
【請求項7】
請求項1~6のいずれか1項に記載の圧電振動片と、前記圧電振動片を収容する容器と、を備えたことを特徴とする圧電デバイス。
【請求項8】
前記圧電振動片がATカットの水晶振動片であり、前記圧電デバイスが水晶振動子又は水晶発振器であることを特徴とする請求項7に記載の圧電デバイス。
【請求項9】
請求項1~6のいずれか1項に記載の圧電振動片をマトリクス状に多数備えた圧電ウエハから成ることを特徴とする圧電振動片製造用の中間体ウエハ。
【請求項10】
前記圧電振動片がATカットの水晶振動片であり、前記圧電ウエハが水晶ウエハであることを特徴とする請求項9に記載の圧電振動片製造用の中間体ウエハ。
発明の詳細な説明
【技術分野】
【0001】
本発明は、厚み滑り振動する圧電振動片、これを用いた圧電デバイス、前記圧電振動片製造用の中間体ウエハに関する。
続きを表示(約 3,200 文字)
【背景技術】
【0002】
厚み滑りモードで振動する圧電振動片の特性向上を図るためには、不要振動の抑制が重要である。例えば特許文献1には、不要振動の抑制を図るため(特許文献1の例えば段落27,29)、縁部に沿って複数の切り込みを連続して備えた圧電振動片が記載されている(特許文献1の例えば請求項1、図3)。具体的には、平面視で矩形形状のATカットの水晶振動片であって、側面が当該水晶振動片の辺に沿って所定の曲率半径で連続する凹凸面となっているATカット水晶振動片が記載されている(特許文献1の図4)。
【0003】
この圧電振動片の場合、側面が上記所定の凹凸面となっているため、不要振動、例えば屈曲振動や輪郭振動が一定の周波数で大きくなることを低減できるので、不要振動が厚み滑り振動に結合するおそれを低減でき、従って圧電振動片の電気的特性の低下のおそれを低減できるという(特許文献1の例えば段落28,30)。
【先行技術文献】
【特許文献】
【0004】
特開2019-145948号公報
【発明の概要】
【発明が解決しようとする課題】
【0005】
しかし、この出願に係る発明者の研究によれば、圧電振動片の側面に凹凸面を設けることによって不要振動の抑制を図るためには、さらなる構造の工夫が必要なことが分かった。
この出願は上記の点に鑑みなされたものであり、従って、この出願の目的は、圧電振動片の側面に凹凸面を備える圧電振動片であって、不要振動の抑制を従来に比べ良好に行える新規な構造を有した圧電振動片、これを用いた圧電デバイス、前記圧電振動片製造用の中間体ウエハを提供することにある。
【0006】
この目的の達成を図るため、この出願の第1発明によれば、平面視で矩形状であり、厚み滑り振動する圧電振動片であって、
圧電振動片の4つの側面のうちの、少なくとも厚み滑り振動の変位方向と交差する2つの側面各々の一部又は全部が、その側面を含む辺に沿って連続する凹凸面となっており、
前記凹凸はランダムな凹凸であり、かつ、前記凹凸の少なくとも一部の凹凸の高低差は、当該圧電振動片で生じる可能性のある屈曲振動の波長λに対しλ/3以上であることを特徴とする。
この第1発明を実施するに当たり、前記圧電振動片は、厚み滑りモードで振動する任意好適な圧電材料のもので良い。具体的には、ATカットの水晶振動片、SCカット等に代表される2回回転カットの水晶振動片、圧電性セラミックを用いた振動片、タンタル酸リチウムを用いた振動片、ニオブ酸リチウムを用いた振動片等を挙げることができる。ただし、好ましくは、圧電振動片はATカットの水晶振動片であるのが良い。産業上で多用されているATカットの水晶振動片に本発明を適用すると、ATカットの水晶振動片の特性向上が図れて、ATカットの水晶振動片の産業上の利用性がさらに高まるからである。
【0007】
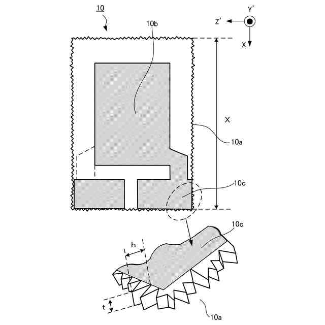
ここで、凹凸を側面の一部に設けるとは、例えば、圧電振動片の励振電極を設けた領域のように実際に振動が主に生じる領域に対応する側面部分のみに設ける場合があっても良い趣旨であり、換言すれば例えば圧電振動片の端の辺りの側面は凹凸を設けない場合があっても良い趣旨である。なお、凹凸を設ける側面は、厚み滑り振動の変位方向と交差する2つの側面に限らず、3つの辺それぞれの側面の一部又は全部とする場合、さらに4つの辺それぞれの一部又は全部とする場合があっても良い。
【0008】
また、少なくとも一部の凹凸の高低差がλ/3以上とは、全部の凹凸が、高低差λ/3以上であっても良い趣旨である。
高低差がλ/3以上の凹凸の高さの上限(最大高低差)や、全凹凸に対する割合は、例えば次のように決めるのが良い。
高低差がλ/3以上の凹凸の高さ(最大高低差)が高すぎると、圧電振動片の損失である例えばクリスタルインピダンスが増加する等の不具合が生じる。然も、この傾向は、図8を用いて後述するように、圧電振動片の辺比X/tによっても変わる。なお、tは圧電振動片の厚み、典型的に水晶振動片の厚み、Xは、水晶振動片の水晶のX軸に平行な方向の寸法である。具体的には、後述する実施形態の項に示したシミュレーション結果や図8の特性図に照らすと、辺比が小さい圧電振動片ほど、高低差がλ/3以上の凹凸の高さ(最大高低差)が高くなると損失が悪化する(図8の辺比21や30参照)。一方、辺比が大きい場合は、高低差がλ/3以上の凹凸の高さ(最大高低差)が高くなっても損失は横ばいである(図8の辺比41、53、68)。従って、図8の例えば辺比が30の圧電振動片の場合のシミュレーション結果では、屈曲振動の波長で正規化した凹凸の高低差(最大高低差)が0.4付近を超える辺りから損失が増え始めるので、辺比が30や30~40の圧電振動片にも本発明を適用することを考えると、高低差がλ/3以上の凹凸の上限(最大高低差)は、屈曲振動の波長で正規化した凹凸の高低差で言って0.4(すなわちλ/2.5)が良いと考える。
【0009】
また、全凹凸に対する高低差がλ/3以上の凹凸の割合であるが、この割合が高すぎると圧電振動片の損失が悪化し、この割合が低すぎると不要振動の抑制効果が得られない。後述する実施形態のシミュレーションでは、高低差がλ/3以上の凹凸の割合を25%としており、このシミュレーションでは不要振動の低減及び損失の増加を問題ない範囲にできているので、高低差がλ/3以上の凹凸の全凹凸に対する割合を、25%を含む適正な範囲にすることが好ましい。この適正範囲については、後述する実勢形態の項にて詳細に説明するが、例えば20~30%が好ましい。
また、高低差がλ/3以上の凹凸は、全凹凸中に分散して存在するすなわちランダムに存在するのが良い。
【0010】
この第1発明を実施するに当たり、前記圧電振動片としてATカットの水晶振動片を用いる場合、好ましくは、辺比X/tがX/t≧30の水晶振動片を用いるのが良い。ただし、tは水晶振動片の厚み、Xは、水晶振動片の水晶のX軸に平行な方向の寸法である。X/t≧30の水晶振動片を用いることが好ましい理由は下記である。
水晶振動片の側面にランダムな凹凸でかつ凹凸高さがλ/3以上の凹凸を設けると、主振動の近くに不要振動が生じる密度を低減できる(後述の図3~6参照)。その反面、凹凸を高くしてゆくと、水晶振動片の辺比によっては、水晶振動片の損失(クリスタルインピダンス)が増加する(後述の図8)。しかし、辺比X/tがX/t≧30である水晶振動片であると、凹凸を高くした場合の水晶振動片の損失の増加は少なくて済むことが判明した(後述の図8参照)。従って、圧電振動片としてATカットの水晶振動片を用いる場合、X/t≧30の水晶振動片を用いることが好ましい。
ここで、X/t≧30のATカットの水晶振動片とは、典型的には、昨今又は今後利用が進む高周波の水晶振動片であり、例えば周波数が38MHz以上の水晶振動片である。従って、X/t≧30のATカットの水晶振動片に本発明を適用すると、凹凸高さをλ/3とする利点を備えかつ時代要請に合った高周波用の水晶振動片を提供できる。
なお、屈曲振動の波長λに対し、凹凸の高低差をλ/3以上とすると述べたがその上限は、圧電振動片の辺比に応じて任意好適な値に決めるのが良い。すなわち、後に図8を用いて説明するように圧電振動片の損失と圧電振動片の辺比とを考慮して決めるのが良い。この点についても実施形態にて説明する。
(【0011】以降は省略されています)
この特許をJ-PlatPat(特許庁公式サイト)で参照する
関連特許
日本電波工業株式会社
圧電振動片
1か月前
日本電波工業株式会社
水晶振動子
21日前
日本電波工業株式会社
温度センサ内蔵型の水晶振動子
21日前
日本電波工業株式会社
圧電デバイス、圧電振動片及び圧電ウエハ
21日前
日本電波工業株式会社
水晶振動子
8日前
日本電波工業株式会社
水晶振動子
21日前
日本電波工業株式会社
温度センサ内蔵型の水晶振動子
21日前
株式会社蜂鳥
増幅器
2日前
エイブリック株式会社
増幅器
1か月前
エイブリック株式会社
増幅器
1か月前
エイブリック株式会社
増幅回路
1か月前
日本電波工業株式会社
圧電振動片
1か月前
エイブリック株式会社
電圧検出器
3か月前
日本電波工業株式会社
水晶振動子
21日前
株式会社トーキン
ノイズフィルタ
2か月前
株式会社村田製作所
増幅回路
3か月前
京セラ株式会社
差動信号フィルタデバイス
8日前
京セラ株式会社
差動信号フィルタデバイス
8日前
台灣晶技股ふん有限公司
水晶発振器
29日前
富士電機株式会社
半導体装置
1日前
株式会社半導体エネルギー研究所
駆動回路
2か月前
台灣晶技股ふん有限公司
水晶発振素子
29日前
TDK株式会社
電子部品
1か月前
株式会社村田製作所
高周波回路
3か月前
ローム株式会社
半導体集積回路
3か月前
TDK株式会社
電子部品
1か月前
株式会社村田製作所
弾性波装置
1日前
ローム株式会社
自己診断システム
1か月前
住友電気工業株式会社
高周波増幅器
2か月前
株式会社村田製作所
弾性波フィルタ
2か月前
三菱電機株式会社
高周波増幅器モジュール
1か月前
国立大学法人東北大学
弾性表面波デバイス
21日前
ローム株式会社
駆動回路
3か月前
日清紡マイクロデバイス株式会社
演算増幅器
1か月前
ローム株式会社
遅延回路
3か月前
ローム株式会社
駆動回路
3か月前
続きを見る
他の特許を見る