TOP
|
特許
|
意匠
|
商標
特許ウォッチ
Twitter
他の特許を見る
公開番号
2025171674
公報種別
公開特許公報(A)
公開日
2025-11-20
出願番号
2024077256
出願日
2024-05-10
発明の名称
差動リングオシレータ
出願人
株式会社デンソー
代理人
弁理士法人サトー
主分類
H03K
3/014 20060101AFI20251113BHJP(基本電子回路)
要約
【課題】リセット解除後に高速で発振開始できると共に動作の安定性を向上できるようにした差動リングオシレータを提供する。
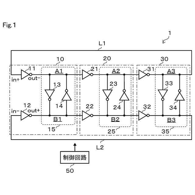
【解決手段】クロスカップルドラッチ15、25、35は、第1インバータ11、21、31の複数出力A1~A3と第2インバータ12、22、32の複数出力B1~B3との間にそれぞれ対向接続されている。制御回路50により制御されると、第1ループL1のうちある第1インバータ11の第1出力A1をLレベルにプルダウンすると共に、第2ループL2の第2インバータ22の第2出力B2をLレベルにプルダウンすることで初期リセット状態にする。
【選択図】図1
特許請求の範囲
【請求項1】
複数のn個の第1インバータと前記n個の第2インバータとが差動対をなすように構成されると共に正帰還して構成されるループ(L1、L2;L1a、L2a)と、
前記n個の第1インバータの複数出力と前記n個の第2インバータの複数出力との間にそれぞれ対向接続される対向接続回路(15、25、35;15、25、35、45)と、を備え、
制御回路(50)により制御されると、前記ループのうちある前記第1インバータの第1出力(A1)をLレベルにプルダウンすると共に、前記第1インバータの第1出力(A1)の次段の前記第1インバータに差動対となる前記第2インバータの第2出力(B2)をLレベルにプルダウンすることで初期リセット状態にする差動リングオシレータ。
続きを表示(約 890 文字)
【請求項2】
前記対向接続回路は、前記第1インバータの第1出力(A1)をプルダウンする第1スイッチ(13のM3n)を備えると共に、前記第1スイッチに差動対に接続された第2スイッチ(14のM4n)を備える請求項1記載の差動リングオシレータ。
【請求項3】
前記制御回路により制御されると、前記第1スイッチ(13のM3n)により前記第1インバータの第1出力(A1)をプルダウンさせる際に前記第1インバータに差動対となる前記第2インバータの第1出力(B1)を前記第2スイッチ(14のM4n)によりプルダウンさせる請求項2記載の差動リングオシレータ。
【請求項4】
第3スイッチ(23のM3na)と、
第4スイッチ(34のM4n)と、を備え、
前記制御回路により制御されると、前記第1インバータの第1出力(A1)の次段の第1インバータの第2出力(A2)を前記第3スイッチによりHレベルにプルアップすると共に、前記第2インバータの第2出力(B2)の次段の前記第2インバータの第3出力(B3)を前記第4スイッチによりHレベルにプルアップする請求項1記載の差動リングオシレータ。
【請求項5】
第5スイッチ(23のM3na)と、
第6スイッチ(33のM3n)と、を備え、
前記制御回路により制御されると、前記第1インバータの第1出力(A1)の次段の第1インバータの第2出力(A2)を前記第5スイッチによりHレベルにプルアップする際に前記第1インバータの第2出力の次段の第1インバータの第3出力(A3)を前記第6スイッチによりLレベルにプルダウンする請求項4記載の差動リングオシレータ。
【請求項6】
第7スイッチ(44のM4n)を備え、
前記制御回路により制御されると、前記第2インバータの第3出力(B3)をHレベルにプルアップする際に前記第2インバータの第3出力の次段の第2インバータの第4出力(B4)を前記第7スイッチによりLレベルにプルダウンする請求項4記載の差動リングオシレータ。
発明の詳細な説明
【技術分野】
【0001】
本発明は、差動リングオシレータに関する。
続きを表示(約 1,900 文字)
【背景技術】
【0002】
リングオシレータは、CMOSインバータをリング状に縦続接続して自己発振させる回路である。リングオシレータは、供給電流を入力して変化させると発振周波数を可変制御でき、CCO(Current-Controlled Oscillator:電流制御発振器)として動作する。さらに、リングオシレータの前段に電圧入力電流出力アンプを設置し、入力電圧により入力電流を可変して発振周波数を制御すれば、VCO(Voltage-Controlled Oscillator:電圧制御発振器)として機能する。一定時間の発振出力をデジタルカウンタで計測すると発振周波数をデジタル値に変換できる。入力を電圧、発振周波数をデジタル出力すれば、シンプルなA/D変換器として動作することになり、これはVCO―based量子化器(VCO-based Quantizer)と称される。
【0003】
独立したA/D変換器としては、リニアに変換可能な範囲が狭く分解能も高くはないが、小型、高速、低電力という特徴がある。このため、他の回路方式と組み合わせて、例えば逐次比較型A/D変換器やΔΣ型A/D変換器の内部の要素回路としてしばしば用いられる。リングオシレータの発振周波数を正確に計測するため、初期リセット機能が求められることがある。初期リセット時は、リングオシレータの動作開始前に各部のH/L状態をあらかじめ決められた状態に設定して発振を停止させ、リセット解除後には安定して発振動作を開始する。
【0004】
従来、リングオシレータを初期リセットする方法として、ループ内にNANDゲートまたはNORゲートなどの論理回路を挿入して出力を確定してリセットするという方法がある(例えば、特許文献1参照)。
【先行技術文献】
【特許文献】
【0005】
特開2006-217455号公報
【発明の概要】
【発明が解決しようとする課題】
【0006】
背景技術欄に示したように、論理回路を用いてリングオシレータの出力H/Lレベルを確定してリセットすると、リングオシレータの静的電流がゼロになる。例えば、供給可能な電源電流が制限されていると、リングオシレータの静的電流がリセット時にゼロになることで、電源電圧Vddの動作点が供給電流Iddの上限まで振り切ってしまう。このため、リングオシレータは、リセット解除後に発振動作を開始した直後に電源電圧Vdd-供給電流Iddの動作点が安定するまで動作不安定になる、という欠点がある。
【0007】
本開示の目的は、リセット解除後にリセット前後のVdd変動を小さく抑え、リセット解除して直ちに安定発振起動できるようにした差動リングオシレータを提供することにある。
【課題を解決するための手段】
【0008】
請求項1記載の発明によれば、ループが、複数のn個の第1インバータとn個の第2インバータとが差動対をなすように構成されると共に正帰還して構成される。対向接続回路は、n個の第1インバータの複数出力とn個の第2インバータの複数出力との間にそれぞれ対向接続される。制御回路により制御されると、第1ループのうちある第1インバータの第1出力をLレベルにプルダウンすると共に、第1インバータの第1出力の次段の第1インバータに差動対となる第2ループの第2インバータの第2出力をLレベルにプルダウンすることで初期リセット状態にしている。
【0009】
請求項1記載の発明によれば、初期リセット状態においても、リセット解除後に供給電流と電源電圧の動作点を大きく変動させず、動作の安定性を向上できる。
【図面の簡単な説明】
【0010】
第1実施形態に係る差動リングオシレータの電気的構成図
第1実施形態に係る差動インバータセル回路の構成例その1
第1実施形態に係る差動インバータセル回路の構成例その2
第1実施形態に係る差動インバータセル回路の構成例その3
第1実施形態のリセット時における各ノードのH/Lレベル
第2実施形態に係る差動リングオシレータの電気的構成図
第2実施形態に係る差動インバータセル回路の構成例その4
第2実施形態のリセット時における各ノードのH/Lレベル
【発明を実施するための形態】
(【0011】以降は省略されています)
この特許をJ-PlatPat(特許庁公式サイト)で参照する
関連特許
株式会社蜂鳥
増幅器
16日前
エイブリック株式会社
増幅器
2か月前
エイブリック株式会社
増幅器
2か月前
エイブリック株式会社
増幅回路
2か月前
日本電波工業株式会社
水晶振動子
1か月前
日本電波工業株式会社
圧電振動片
2か月前
株式会社大真空
圧電振動デバイス
3日前
台灣晶技股ふん有限公司
水晶発振器
1か月前
富士電機株式会社
半導体装置
15日前
三菱電機株式会社
半導体装置
1日前
京セラ株式会社
差動信号フィルタデバイス
22日前
京セラ株式会社
差動信号フィルタデバイス
22日前
TDK株式会社
電子部品
2か月前
京セラ株式会社
弾性波共振子および通信装置
2日前
TDK株式会社
電子部品
2か月前
株式会社村田製作所
弾性波装置
15日前
台灣晶技股ふん有限公司
水晶発振素子
1か月前
住友電気工業株式会社
歪補償装置
9日前
ローム株式会社
自己診断システム
1か月前
三菱電機株式会社
高周波増幅器モジュール
1か月前
国立大学法人東北大学
弾性表面波デバイス
1か月前
株式会社村田製作所
高周波電力増幅器
14日前
株式会社村田製作所
高周波電力増幅器
14日前
日清紡マイクロデバイス株式会社
演算増幅器
2か月前
台灣晶技股ふん有限公司
発振装置
1か月前
太陽誘電株式会社
フィルタ及びマルチプレクサ
2か月前
日本電波工業株式会社
温度センサ内蔵型の水晶振動子
1か月前
アルプスアルパイン株式会社
センサ装置
2か月前
エイブリック株式会社
出力制御回路及び電圧出力回路
2か月前
エイブリック株式会社
電流制限回路及び電流制限装置
2か月前
株式会社NTTドコモ
リニアライザ
2か月前
ローム株式会社
発振回路
2か月前
三安ジャパンテクノロジー株式会社
弾性波デバイス
1か月前
三安ジャパンテクノロジー株式会社
弾性波デバイス
1日前
三安ジャパンテクノロジー株式会社
弾性波デバイス
1日前
株式会社デンソー
差動リングオシレータ
22日前
続きを見る
他の特許を見る