TOP
|
特許
|
意匠
|
商標
特許ウォッチ
Twitter
他の特許を見る
10個以上の画像は省略されています。
公開番号
2025149117
公報種別
公開特許公報(A)
公開日
2025-10-08
出願番号
2024049572
出願日
2024-03-26
発明の名称
フィルタ及びマルチプレクサ
出願人
太陽誘電株式会社
代理人
個人
主分類
H03H
9/145 20060101AFI20251001BHJP(基本電子回路)
要約
【課題】減衰特性を改善することが可能なフィルタを提供する。
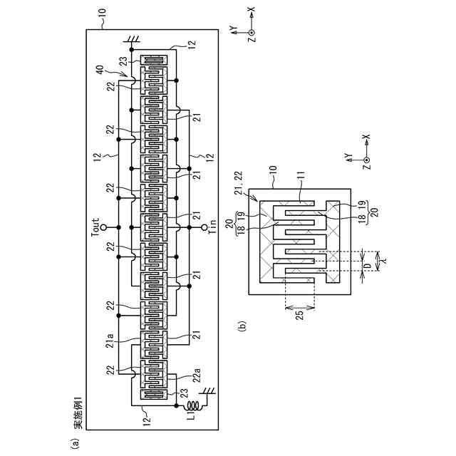
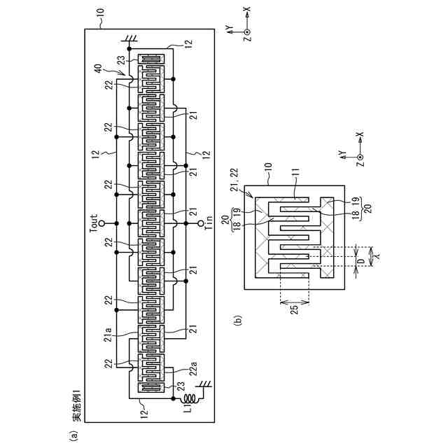
【解決手段】フィルタは、圧電基板10と、圧電基板10上に設けられ、入力端子Tinに接続された複数の入力IDT21と、出力端子Toutに接続され、複数の入力IDT21と交互に並んで配置された複数の出力IDT22と、を含む多重モード型フィルタ40と、一端が複数の入力IDT21のうちの少なくとも1つの入力IDT21aと複数の出力IDT22のうちの少なくとも1つの出力IDT22aとを含んで複数の入力IDT21及び複数の出力IDT22のうち2つ以上かつ半分以下に接続され、他端がグランドに接続されるインダクタL1とを備える。
【選択図】図1
特許請求の範囲
【請求項1】
圧電基板と、
前記圧電基板上に設けられ、入力端子に接続された複数の入力IDTと、出力端子に接続され、前記複数の入力IDTと交互に並んで配置された複数の出力IDTと、を含む多重モード型フィルタと、
一端が前記複数の入力IDTのうちの少なくとも1つの入力IDTと前記複数の出力IDTのうちの少なくとも1つの出力IDTとを含んで前記複数の入力IDT及び前記複数の出力IDTのうち2つ以上かつ半分以下に接続され、他端がグランドに接続されるインダクタと、を備えるフィルタ。
続きを表示(約 750 文字)
【請求項2】
前記インダクタの前記一端は、前記複数の入力IDT及び前記複数の出力IDTのうち2つ以上かつ3つ以下のIDTに接続され、残りのIDTには接続されない、請求項1に記載のフィルタ。
【請求項3】
前記インダクタの前記一端は、前記複数の入力IDTと前記複数の出力IDTが並んだ方向において、前記複数の入力IDT及び前記複数の出力IDTのうち最も外側に位置するIDTと前記最も外側に位置するIDTの隣に位置するIDTとに接続され、残りのIDTには接続されない、請求項1に記載のフィルタ。
【請求項4】
前記インダクタのインダクタンスは3nH以下である、請求項2または3に記載のフィルタ。
【請求項5】
前記圧電基板上に設けられ、前記複数の入力IDTのうち前記少なくとも1つの入力IDT以外の入力IDTをグランドに接続する第1配線と、
前記圧電基板上に設けられ、前記圧電基板上において前記第1配線と分離し、前記複数の出力IDTのうち前記少なくとも1つの出力IDT以外の出力IDTをグランドに接続する第2配線と、を備える、請求項1または2に記載のフィルタ。
【請求項6】
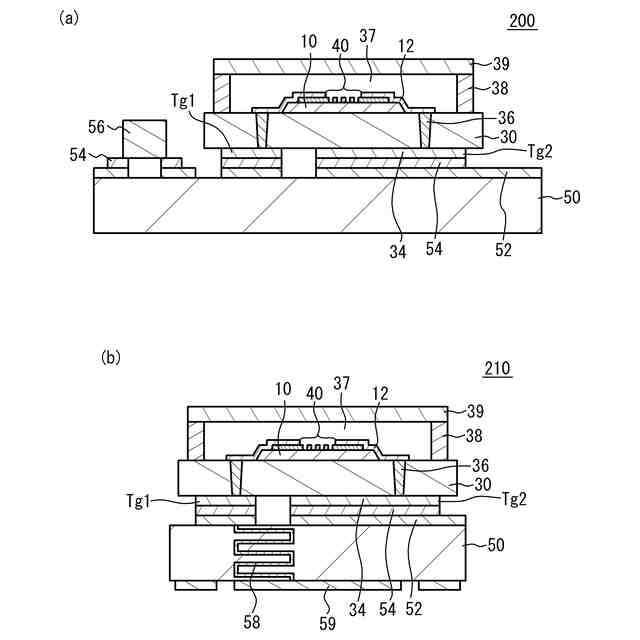
前記多重モード型フィルタが実装された実装基板と、
前記実装基板上に実装され、前記インダクタが形成されたチップと、を備える、請求項1または2に記載のフィルタ。
【請求項7】
前記多重モード型フィルタが実装された実装基板と、
前記実装基板に設けられ、前記インダクタを形成する線路と、を備える、請求項1または2に記載のフィルタ。
【請求項8】
請求項1または2に記載のフィルタを含むマルチプレクサ。
発明の詳細な説明
【技術分野】
【0001】
本発明は、フィルタ及びマルチプレクサに関する。
続きを表示(約 1,400 文字)
【背景技術】
【0002】
弾性表面波(SAW:Surface Acoustic Wave)の伝搬方向に複数のIDT(Interdigital Transducer)を配置した多重モード型フィルタが知られている。多重モード型フィルタとして縦結合二重モードSAWフィルタ(DMS:Dual Mode SAW)が知られている(例えば特許文献1から4)。例えば、多重モード型フィルタの複数のIDTとグランドとの間にインダクタを接続することで、通過帯域の高周波側の減衰極の周波数が変化することが知られている(例えば特許文献1)。
【先行技術文献】
【特許文献】
【0003】
特開2013-118584号公報
国際公開第2019/131533号
特開2010-109694号公報
特開2007-181195号公報
【発明の概要】
【発明が解決しようとする課題】
【0004】
特許文献1に記載のように複数のIDTとグランドとの間にインダクタを接続する場合、通過帯域の高周波側のみならず低周波側の減衰極の周波数も変化する。しかしながら、インダクタンスの変化に対する減衰極の周波数の変化量が大きく、減衰極の周波数の調整が難しい。このため、通過帯域の低周波側の減衰特性を所望の特性にできない場合がある。
【0005】
本発明は、上記課題に鑑みなされたものであり、減衰特性を改善することを目的とする。
【課題を解決するための手段】
【0006】
本発明は、圧電基板と、前記圧電基板上に設けられ、入力端子に接続された複数の入力IDTと、出力端子に接続され、前記複数の入力IDTと交互に並んで配置された複数の出力IDTと、を含む多重モード型フィルタと、一端が前記複数の入力IDTのうちの少なくとも1つの入力IDTと前記複数の出力IDTのうちの少なくとも1つの出力IDTとを含んで前記複数の入力IDT及び前記複数の出力IDTのうち2つ以上かつ半分以下に接続され、他端がグランドに接続されるインダクタと、を備えるフィルタである。
【0007】
上記構成において、前記インダクタの前記一端は、前記複数の入力IDT及び前記複数の出力IDTのうち2つ以上かつ3つ以下のIDTに接続され、残りのIDTには接続されない構成とすることができる。
【0008】
上記構成において、前記インダクタの前記一端は、前記複数の入力IDTと前記複数の出力IDTが並んだ方向において、前記複数の入力IDT及び前記複数の出力IDTのうち最も外側に位置するIDTと前記最も外側に位置するIDTの隣に位置するIDTとに接続され、残りのIDTには接続されない構成とすることができる。
【0009】
上記構成において、前記インダクタのインダクタンスは3nH以下である構成とすることができる。
【0010】
上記構成において、前記圧電基板上に設けられ、前記複数の入力IDTのうち前記少なくとも1つの入力IDT以外の入力IDTをグランドに接続する第1配線と、前記圧電基板上に設けられ、前記圧電基板上において前記第1配線と分離し、前記複数の出力IDTのうち前記少なくとも1つの出力IDT以外の出力IDTをグランドに接続する第2配線と、を備える構成とすることができる。
(【0011】以降は省略されています)
この特許をJ-PlatPat(特許庁公式サイト)で参照する
関連特許
太陽誘電株式会社
コイル部品
8日前
太陽誘電株式会社
コイル部品
9日前
太陽誘電株式会社
コイル部品
4日前
太陽誘電株式会社
コイル部品
8日前
太陽誘電株式会社
生体情報測定装置
8日前
太陽誘電株式会社
セラミック電子部品
8日前
太陽誘電株式会社
積層セラミック電子部品
4日前
太陽誘電株式会社
グルコース濃度推定装置
9日前
太陽誘電株式会社
積層セラミック電子部品
8日前
太陽誘電株式会社
センサ装置および取付方法
9日前
太陽誘電株式会社
コイル部品および実装基板
9日前
太陽誘電株式会社
血圧測定装置および血圧測定方法
9日前
太陽誘電株式会社
コイル部品、コイル部品の製造方法
8日前
太陽誘電株式会社
コイル部品、コイル部品の製造方法
8日前
太陽誘電株式会社
コイル部品及びコイル部品の製造方法
8日前
太陽誘電株式会社
積層セラミック電子部品及びその製造方法
8日前
太陽誘電株式会社
磁性基体及び磁性基体を備えるコイル部品
8日前
太陽誘電株式会社
積層セラミック電子部品およびその製造方法
8日前
太陽誘電株式会社
積層セラミック電子部品およびその製造方法
8日前
太陽誘電株式会社
心拍検出システム、心拍検出方法およびプログラム
8日前
太陽誘電株式会社
積層セラミック電子部品、積層セラミック電子部品の製造方法
8日前
太陽誘電株式会社
積層セラミック電子部品、積層セラミック電子部品の製造方法
8日前
太陽誘電株式会社
積層セラミック電子部品、及び積層セラミック電子部品の製造方法
8日前
太陽誘電株式会社
心拍検出装置、心拍検出システム、心拍検出方法およびプログラム
8日前
太陽誘電株式会社
心拍検出装置、心拍検出システム、心拍検出方法およびプログラム
8日前
太陽誘電株式会社
積層セラミックコンデンサ、及び積層セラミックコンデンサの製造方法
8日前
太陽誘電株式会社
積層セラミックコンデンサ、および積層セラミックコンデンサの製造方法
8日前
太陽誘電株式会社
積層セラミック電子部品及びその製造方法、並びに、回路モジュール、及び電子機器
8日前
太陽誘電株式会社
積層セラミック電子部品及びその製造方法、並びに、回路モジュール、及び電子機器
8日前
太陽誘電株式会社
積層セラミック電子部品および誘電体磁器組成物
4日前
太陽誘電株式会社
積層セラミック電子部品および誘電体磁器組成物
4日前
エイブリック株式会社
増幅器
16日前
エイブリック株式会社
増幅器
9日前
エイブリック株式会社
増幅回路
10日前
エイブリック株式会社
電圧検出器
1か月前
株式会社大真空
圧電振動デバイス
2か月前
続きを見る
他の特許を見る