TOP
|
特許
|
意匠
|
商標
特許ウォッチ
Twitter
他の特許を見る
10個以上の画像は省略されています。
公開番号
2025154091
公報種別
公開特許公報(A)
公開日
2025-10-10
出願番号
2024056900
出願日
2024-03-29
発明の名称
セラミック電子部品
出願人
太陽誘電株式会社
代理人
個人
主分類
H01G
4/30 20060101AFI20251002BHJP(基本的電気素子)
要約
【課題】 低電圧で高周波数の領域で静電容量を高めることができるセラミック電子部品を提供する。
【解決手段】 セラミック電子部品は、複数の誘電体層と複数の内部電極層とが積層された積層部分を含む積層チップを備え、前記複数の内部電極層は、前記積層チップの対向する2端面に交互に引き出され、前記積層チップは、前記複数の内部電極層が互いに対向する第1方向と、前記2端面が互いに対向する第2方向と、に直交する第3方向において、前記複数の誘電体層と前記複数の内部電極層とが対向する領域である容量部の外側にサイドマージンを備え、前記複数の内部電極層は、300層以上設けられており、前記複数の内部電極層の厚さは、前記複数の誘電体層の厚さの1.5倍以上である。
【選択図】 図7
特許請求の範囲
【請求項1】
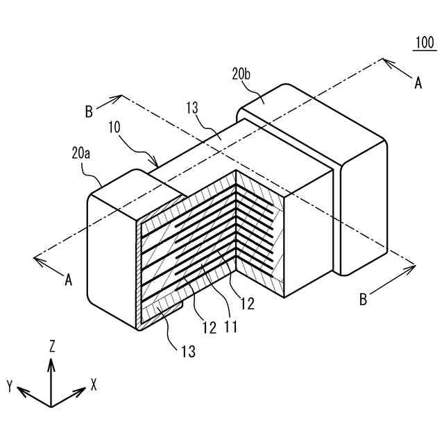
複数の誘電体層と複数の内部電極層とが積層された積層部分を含む積層チップを備え、
前記複数の内部電極層は、前記積層チップの対向する2端面に交互に引き出され、
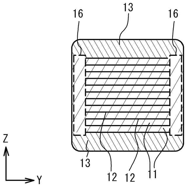
前記積層チップは、前記複数の内部電極層が互いに対向する第1方向と、前記2端面が互いに対向する第2方向と、に直交する第3方向において、前記複数の誘電体層と前記複数の内部電極層とが対向する領域である容量部の外側にサイドマージンを備え、
前記複数の内部電極層は、300層以上設けられており、
前記複数の内部電極層の厚さは、前記複数の誘電体層の厚さの1.5倍以上である、セラミック電子部品。
続きを表示(約 1,100 文字)
【請求項2】
前記複数の誘電体層において、前記容量部の前記第3方向における寸法のそれぞれ外側の10%の領域を外側領域とし、残りの80%の領域を内側領域とした場合に、前記内側領域におけるセラミックグレイン粒度分布のD50%粒径よりも、前記外側領域におけるセラミックグレイン粒度分布のD50%粒径の方が大きい、請求項1に記載のセラミック電子部品。
【請求項3】
前記複数の誘電体層において、前記容量部の前記第3方向における寸法のそれぞれ外側の10%の領域を外側領域とし、残りの80%の領域を内側領域とした場合に、前記内側領域におけるセラミックグレイン粒度分布のD50%粒径は、50nm以上200nm以下である、請求項1に記載のセラミック電子部品。
【請求項4】
前記複数の誘電体層において、前記容量部の前記第3方向における寸法のそれぞれ外側の10%の領域を外側領域とし、残りの80%の領域を内側領域とした場合に、前記内側領域におけるセラミックグレイン粒度分布のD90%粒径は、300nm以下である、請求項1に記載のセラミック電子部品。
【請求項5】
前記容量部における前記複数の誘電体層のSi/Ti元素数比よりも、前記サイドマージンにおけるSi/Ti元素数比の方が大きい、請求項1に記載のセラミック電子部品。
【請求項6】
前記サイドマージンにおけるSi/Ti元素数比は、0.01以上である、請求項5に記載のセラミック電子部品。
【請求項7】
前記第2方向において前記積層チップの前記容量部よりも外側の領域であって、前記2端面のうち一方の端面に引き出された内部電極層同士が、他方の端面に引き出された内部電極層を介さずに対向する領域をエンドマージンとし、
前記容量部における前記複数の誘電体層のSi/Ti元素数比よりも、前記エンドマージンにおけるSi/Ti元素数比の方が大きい、請求項1に記載のセラミック電子部品。
【請求項8】
前記エンドマージンにおけるSi/Ti元素数比は、0.01以上である、請求項7に記載のセラミック電子部品。
【請求項9】
前記セラミック電子部品は、0603形状以上のサイズを有する、請求項1に記載のセラミック電子部品。
【請求項10】
前記複数の内部電極層は、500層以上設けられており、
前記セラミック電子部品は、1005形状以上のサイズを有する、請求項1に記載のセラミック電子部品。
(【請求項11】以降は省略されています)
発明の詳細な説明
【技術分野】
【0001】
本発明は、セラミック電子部品に関する。
続きを表示(約 1,300 文字)
【背景技術】
【0002】
積層セラミックコンデンサなどのセラミック電子部品は、内部電極層が誘電体層を挟んで積層された構造を有している(例えば、特許文献1~3参照)。
【先行技術文献】
【特許文献】
【0003】
特開2014-204117号公報
米国特許公開第2022/0157530号
特開2022-073955号公報
【発明の概要】
【発明が解決しようとする課題】
【0004】
一般に、誘電体層において、グレイン径が大きいほど誘電率が高くなり、誘電率が高いほどセラミック電子部品全体の静電容量を高くすることができる。しかしながら、高誘電率の誘電体は、低電圧かつ高周波数の領域では、低誘電率の誘電体に静電容量を逆転されることがある。
【0005】
本発明は、上記課題に鑑みなされたものであり、低電圧で高周波数の領域で静電容量を高めることができるセラミック電子部品を提供することを目的とする。
【課題を解決するための手段】
【0006】
本発明に係るセラミック電子部品は、複数の誘電体層と複数の内部電極層とが積層された積層部分を含む積層チップを備え、前記複数の内部電極層は、前記積層チップの対向する2端面に交互に引き出され、前記積層チップは、前記複数の内部電極層が互いに対向する第1方向と、前記2端面が互いに対向する第2方向と、に直交する第3方向において、前記複数の誘電体層と前記複数の内部電極層とが対向する領域である容量部の外側にサイドマージンを備え、前記複数の内部電極層は、300層以上設けられており、前記複数の内部電極層の厚さは、前記複数の誘電体層の厚さの1.5倍以上である。
【0007】
上記セラミック電子部品の前記複数の誘電体層において、前記容量部の前記第3方向における寸法のそれぞれ外側の10%の領域を外側領域とし、残りの80%の領域を内側領域とした場合に、前記内側領域におけるセラミックグレイン粒度分布のD50%粒径よりも、前記外側領域におけるセラミックグレイン粒度分布のD50%粒径の方が大きくてもよい。
【0008】
上記セラミック電子部品の複数の誘電体層において、前記容量部の前記第3方向における寸法のそれぞれ外側の10%の領域を外側領域とし、残りの80%の領域を内側領域とした場合に、前記内側領域におけるセラミックグレイン粒度分布のD50%粒径は、50nm以上200nm以下であってもよい。
【0009】
上記セラミック電子部品の前記複数の誘電体層において、前記容量部の前記第3方向における寸法のそれぞれ外側の10%の領域を外側領域とし、残りの80%の領域を内側領域とした場合に、前記内側領域におけるセラミックグレイン粒度分布のD90%粒径は、300nm以下であってもよい。
【0010】
上記セラミック電子部品において、前記容量部における前記複数の誘電体層のSi/Ti元素数比よりも、前記サイドマージンにおけるSi/Ti元素数比の方が大きくてもよい。
(【0011】以降は省略されています)
この特許をJ-PlatPat(特許庁公式サイト)で参照する
関連特許
太陽誘電株式会社
表示装置
12日前
太陽誘電株式会社
コイル部品
27日前
太陽誘電株式会社
コイル部品
26日前
太陽誘電株式会社
コイル部品
22日前
太陽誘電株式会社
コイル部品
26日前
太陽誘電株式会社
生体情報測定装置
26日前
太陽誘電株式会社
セラミック電子部品
26日前
太陽誘電株式会社
積層セラミック電子部品
26日前
太陽誘電株式会社
積層セラミック電子部品
22日前
太陽誘電株式会社
グルコース濃度推定装置
27日前
太陽誘電株式会社
コイル部品および実装基板
27日前
太陽誘電株式会社
積層セラミックコンデンサ
27日前
太陽誘電株式会社
センサ装置および取付方法
27日前
太陽誘電株式会社
血圧測定装置および血圧測定方法
27日前
太陽誘電株式会社
コイル部品、コイル部品の製造方法
26日前
太陽誘電株式会社
コイル部品、コイル部品の製造方法
26日前
太陽誘電株式会社
コイル部品及びコイル部品の製造方法
26日前
太陽誘電株式会社
積層セラミックコンデンサ及び回路基板
14日前
太陽誘電株式会社
積層セラミック電子部品及びその製造方法
26日前
太陽誘電株式会社
磁性基体及び磁性基体を備えるコイル部品
26日前
太陽誘電株式会社
積層セラミック電子部品およびその製造方法
26日前
太陽誘電株式会社
積層セラミック電子部品およびその製造方法
27日前
太陽誘電株式会社
積層セラミック電子部品およびその製造方法
26日前
太陽誘電株式会社
心拍検出システム、心拍検出方法およびプログラム
26日前
太陽誘電株式会社
積層セラミック電子部品、積層セラミック電子部品の製造方法
26日前
太陽誘電株式会社
積層セラミック電子部品、積層セラミック電子部品の製造方法
26日前
太陽誘電株式会社
積層セラミック電子部品、及び積層セラミック電子部品の製造方法
26日前
太陽誘電株式会社
心拍検出装置、心拍検出システム、心拍検出方法およびプログラム
26日前
太陽誘電株式会社
心拍検出装置、心拍検出システム、心拍検出方法およびプログラム
26日前
太陽誘電株式会社
セラミック電子部品
6日前
太陽誘電株式会社
積層セラミックコンデンサ、及び積層セラミックコンデンサの製造方法
26日前
太陽誘電株式会社
積層セラミックコンデンサ、および積層セラミックコンデンサの製造方法
26日前
太陽誘電株式会社
積層セラミック電子部品及びその製造方法、並びに、回路モジュール、及び電子機器
26日前
太陽誘電株式会社
積層セラミック電子部品及びその製造方法、並びに、回路モジュール、及び電子機器
26日前
太陽誘電株式会社
積層セラミック電子部品および誘電体磁器組成物
22日前
太陽誘電株式会社
積層セラミック電子部品および誘電体磁器組成物
22日前
続きを見る
他の特許を見る