TOP
|
特許
|
意匠
|
商標
特許ウォッチ
Twitter
他の特許を見る
10個以上の画像は省略されています。
公開番号
2025152795
公報種別
公開特許公報(A)
公開日
2025-10-10
出願番号
2024054880
出願日
2024-03-28
発明の名称
積層セラミック電子部品、積層セラミック電子部品の製造方法
出願人
太陽誘電株式会社
代理人
個人
,
個人
主分類
H01G
4/30 20060101AFI20251002BHJP(基本的電気素子)
要約
【課題】寿命特性に優れた積層セラミック電子部品を提供する。
【解決手段】積層セラミック電子部品100は、一般式ABO
3-α
ペロブスカイト構造の誘電体を含む誘電体層11と、主成分としてニッケルを含む内部電極層12a、12bと、銅を含有する第1中間領域401を有し、Z軸に沿って分析を行った場合、第1中間領域は、ニッケル濃度が70at%未満かつBサイト元素の濃度が20at%以上になる領域のうちBサイト元素の濃度が20at%になる第1境界部と、銅濃度のピークである第2境界部とで挟まれた領域であり、銅濃度のピークにおける銅濃度が1.0at%以上5.0at%以下、銅濃度のピーク位置における銅濃度をC(Cu)、Bサイト元素の濃度をC(B)、Aサイト元素の濃度をC(A)とした場合に、式(1)で求められる濃度Cが10at%以上35at%未満である。
C=C(Cu)+C(B)-C(A)・・・(1)
【選択図】図4
特許請求の範囲
【請求項1】
第1軸に沿って積層された、一般式ABO
3-α
(0≦α≦1)で表されるペロブスカイト構造の誘電体を含む複数の誘電体層と、
前記第1軸に沿って隣接する前記誘電体層の間にそれぞれ配置された、主成分としてニッケルを含む複数の内部電極層と、
前記誘電体層と、前記内部電極層との間に配置され、銅を含有する第1中間領域と、を有し、
前記第1軸に沿って前記内部電極層から前記誘電体層にかけて3次元原子プローブ分析を行った場合に、
前記内部電極層は、ニッケル濃度が70at%以上となる領域であり、
前記第1中間領域は、ニッケル濃度が70at%未満、かつ前記一般式ABO
3-α
(0≦α≦1)におけるBサイト元素の濃度が20at%以上になる領域のうち、前記Bサイト元素の濃度が20at%になる第1境界部と、銅濃度のピークである第2境界部と、で挟まれた領域であり、
前記銅濃度のピークにおける銅濃度が1.0at%以上5.0at%以下であり、
前記銅濃度のピーク位置における銅濃度をC(Cu)、前記Bサイト元素の濃度をC(B)、前記一般式ABO
3-α
(0≦α≦1)におけるAサイト元素の濃度をC(A)とした場合に、
以下の式(1)で求められる濃度Cが10at%以上35at%未満である、積層セラミック電子部品。
C=C(Cu)+C(B)-C(A) ・・・(1)
続きを表示(約 1,100 文字)
【請求項2】
前記銅濃度のピークにおける銅濃度は、前記第1境界部から前記誘電体層の方向に0.5nm以上2nm以下離れた領域内での銅濃度の平均値の1.5倍以上である、請求項1に記載の積層セラミック電子部品。
【請求項3】
前記第1中間領域と、前記内部電極層との間に第2中間領域をさらに有する、請求項1または請求項2に記載の積層セラミック電子部品。
【請求項4】
前記誘電体層はチタン酸バリウム含有する、請求項1または請求項2に記載の積層セラミック電子部品。
【請求項5】
一般式ABO
3-α
(0≦α≦1)で表されるペロブスカイト構造の誘電体を含有する誘電体グリーンシートを形成する誘電体グリーンシート形成工程と、
前記誘電体グリーンシートの表面に、スパッタリングまたは蒸着により銅を含有する薄膜層を形成し、誘電体-薄膜層シートとする薄膜層形成工程と、
前記誘電体-薄膜層シートの前記薄膜層上に、ニッケルを主成分として含有する内部電極層パターンを形成し、セラミックグリーンシートを作製する、内部電極層パターン形成工程と、
前記セラミックグリーンシートを積層した積層体を、酸素分圧が2.7×10
―9
atm以上5.0×10
-8
atm以下の弱還元雰囲気で、15000℃/h以上18000℃/h未満の昇温速度で、1150℃以上1350℃以下の焼成温度まで昇温し、前記焼成温度で5分間以上10分間以下保持する焼成工程と、を有する、積層セラミック電子部品の製造方法。
【請求項6】
前記薄膜層は、銅とニッケルとを含有している、請求項5に記載の積層セラミック電子部品の製造方法。
【請求項7】
前記内部電極層パターンが含有するニッケルに対する、前記薄膜層が含有する銅の濃度が1at%以上6at%以下である、請求項5または請求項6に記載の積層セラミック電子部品の製造方法。
【請求項8】
前記誘電体グリーンシートは、前記ペロブスカイト構造の誘電体以外に、チタン含有化合物も含有する、請求項5または請求項6に記載の積層セラミック電子部品の製造方法。
【請求項9】
前記誘電体グリーンシートが含有する前記ペロブスカイト構造の誘電体のAサイト元素の物質量に対する、前記ペロブスカイト構造の誘電体のBサイト元素の物質量の比が1.001以上1.005以下である、請求項5または請求項6に記載の積層セラミック電子部品の製造方法。
発明の詳細な説明
【技術分野】
【0001】
本開示は、積層セラミック電子部品、積層セラミック電子部品の製造方法に関する。
続きを表示(約 2,000 文字)
【背景技術】
【0002】
積層セラミック電子部品は、誘電体層と、内部電極層とが交互に積層された構造を有している。積層セラミック電子部品としては、積層セラミックコンデンサ(MLCC:multilayer ceramic capacitor)等が挙げられる。
【0003】
積層セラミックコンデンサ等の積層セラミック電子部品は、携帯電話を代表とする高周波通信システムや、車載電子制御装置など、様々な電子機器等に実装されて用いられている。このため、積層セラミック電子部品には、繰り返し電圧を印加して使用した場合の耐久性、すなわち寿命を向上することも求められており、従来から検討がなされている(例えば特許文献1を参照)。
【先行技術文献】
【特許文献】
【0004】
特開2010-052964号公報
【発明の概要】
【発明が解決しようとする課題】
【0005】
本開示は、寿命特性に優れた積層セラミック電子部品を提供することを目的とする。
【課題を解決するための手段】
【0006】
本開示の積層セラミック電子部品は、
第1軸に沿って積層された、一般式ABO
3-α
(0≦α≦1)で表されるペロブスカイト構造の誘電体を含む複数の誘電体層と、
前記第1軸に沿って隣接する前記誘電体層の間にそれぞれ配置された、主成分としてニッケルを含む複数の内部電極層と、
前記誘電体層と、前記内部電極層との間に配置され、銅を含有する第1中間領域と、を有し、
前記第1軸に沿って前記内部電極層から前記誘電体層にかけて3次元原子プローブ分析を行った場合に、
前記内部電極層は、ニッケル濃度が70at%以上となる領域であり、
前記第1中間領域は、ニッケル濃度が70at%未満、かつ前記一般式ABO
3-α
(0≦α≦1)におけるBサイト元素の濃度が20at%以上になる領域のうち、前記Bサイト元素の濃度が20at%になる第1境界部と、銅濃度のピークである第2境界部と、で挟まれた領域であり、
前記銅濃度のピークにおける銅濃度が1.0at%以上5.0at%以下であり、
前記銅濃度のピーク位置における銅濃度をC(Cu)、前記Bサイト元素の濃度をC(B)、前記一般式ABO
3-α
(0≦α≦1)におけるAサイト元素の濃度をC(A)とした場合に、
以下の式(1)で求められる濃度Cが10at%以上35at%未満である。
【0007】
C=C(Cu)+C(B)-C(A) ・・・(1)
【発明の効果】
【0008】
本開示によれば、寿命特性に優れた積層セラミック電子部品を提供することができる。
【図面の簡単な説明】
【0009】
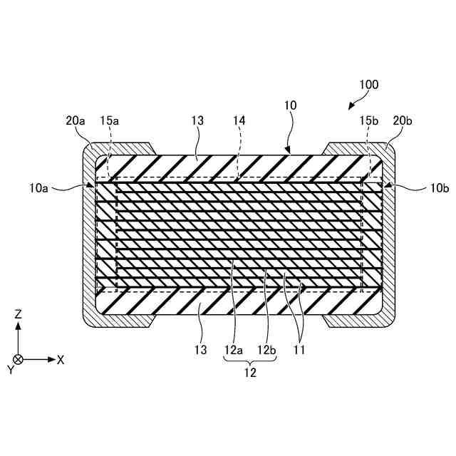
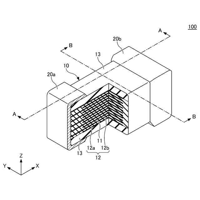
図1は、本開示の一態様に係る積層セラミックコンデンサを例示する部分断面斜視図である。
図2は、本開示の一態様に係る積層セラミックコンデンサを例示する断面図である。
図3は、本開示の一態様に係る積層セラミックコンデンサを例示する断面図である。
図4は、本開示の一態様に係る素体の詳細を例示する断面図である。
図5は、本開示の一態様に係る積層セラミックコンデンサの製造方法のフローチャートである。
図6は、本開示の一態様に係る積層セラミックコンデンサの製造方法を例示する図である。
図7は、実施例2で得られた積層セラミックコンデンサについての、3次元原子プローブ分析の測定結果の例である。
図8は、実施例9で得られた積層セラミックコンデンサについての、3次元原子プローブ分析の測定結果の例である。
【発明を実施するための形態】
【0010】
以下、本開示の実施形態について詳細に説明するが、本開示はこれらに限定されるものではない。なお、本明細書および図面において、実質的に同一の機能構成を有する構成要素については、同一の符号を付すことにより重複した説明を省くことがある。また、図面には、適宜、相互に直交するX軸、Y軸、およびZ軸が示されている。X軸、Y軸、およびZ軸は、積層セラミック電子部品の一例である、積層セラミックコンデンサに対して固定された固定座標系を規定するものである。X軸、Y軸、およびZ軸は、積層セラミック電子部品の一例である、積層セラミックコンデンサの外形が略直方体である場合、その長さ、幅、高さに相当することができる。以下、積層セラミック電子部品の一例である積層セラミックコンデンサを用いて、本実施形態の積層セラミック電子部品を説明する。
(【0011】以降は省略されています)
この特許をJ-PlatPat(特許庁公式サイト)で参照する
関連特許
太陽誘電株式会社
表示装置
14日前
太陽誘電株式会社
コイル部品
29日前
太陽誘電株式会社
コイル部品
28日前
太陽誘電株式会社
コイル部品
24日前
太陽誘電株式会社
コイル部品
28日前
太陽誘電株式会社
生体情報測定装置
28日前
太陽誘電株式会社
セラミック電子部品
28日前
太陽誘電株式会社
積層セラミック電子部品
24日前
太陽誘電株式会社
積層セラミック電子部品
28日前
太陽誘電株式会社
コイル部品および実装基板
29日前
太陽誘電株式会社
コイル部品、コイル部品の製造方法
28日前
太陽誘電株式会社
コイル部品、コイル部品の製造方法
28日前
太陽誘電株式会社
コイル部品及びコイル部品の製造方法
28日前
太陽誘電株式会社
積層セラミックコンデンサ及び回路基板
16日前
太陽誘電株式会社
磁性基体及び磁性基体を備えるコイル部品
28日前
太陽誘電株式会社
電子デバイス及び電子デバイスの製造方法
今日
太陽誘電株式会社
積層セラミック電子部品及びその製造方法
28日前
太陽誘電株式会社
積層セラミック電子部品およびその製造方法
28日前
太陽誘電株式会社
積層セラミック電子部品およびその製造方法
28日前
太陽誘電株式会社
弾性波デバイス及び弾性波デバイスの製造方法
今日
太陽誘電株式会社
弾性波デバイスの製造方法及び弾性波デバイス
今日
太陽誘電株式会社
弾性波デバイスの製造方法及び弾性波デバイス
今日
太陽誘電株式会社
弾性波デバイス、フィルタ、及びマルチプレクサ
今日
太陽誘電株式会社
心拍検出システム、心拍検出方法およびプログラム
28日前
太陽誘電株式会社
積層セラミック電子部品、積層セラミック電子部品の製造方法
28日前
太陽誘電株式会社
積層セラミック電子部品、積層セラミック電子部品の製造方法
28日前
太陽誘電株式会社
心拍検出装置、心拍検出システム、心拍検出方法およびプログラム
28日前
太陽誘電株式会社
心拍検出装置、心拍検出システム、心拍検出方法およびプログラム
28日前
太陽誘電株式会社
積層セラミック電子部品、及び積層セラミック電子部品の製造方法
28日前
太陽誘電株式会社
セラミック電子部品
8日前
太陽誘電株式会社
積層セラミックコンデンサ、及び積層セラミックコンデンサの製造方法
28日前
太陽誘電株式会社
積層セラミックコンデンサ、および積層セラミックコンデンサの製造方法
28日前
太陽誘電株式会社
積層セラミック電子部品及びその製造方法、並びに、回路モジュール、及び電子機器
28日前
太陽誘電株式会社
積層セラミック電子部品及びその製造方法、並びに、回路モジュール、及び電子機器
28日前
太陽誘電株式会社
積層セラミック電子部品および誘電体磁器組成物
24日前
太陽誘電株式会社
積層セラミック電子部品および誘電体磁器組成物
24日前
続きを見る
他の特許を見る