TOP
|
特許
|
意匠
|
商標
特許ウォッチ
Twitter
他の特許を見る
10個以上の画像は省略されています。
公開番号
2025152572
公報種別
公開特許公報(A)
公開日
2025-10-10
出願番号
2024054521
出願日
2024-03-28
発明の名称
積層セラミックコンデンサ、及び積層セラミックコンデンサの製造方法
出願人
太陽誘電株式会社
代理人
個人
,
個人
主分類
H01G
4/30 20060101AFI20251002BHJP(基本的電気素子)
要約
【課題】誘電体層と内部電極層の密着性に優れ、デラミネーションを抑制することができる積層セラミックコンデンサを提供すること。
【解決手段】セラミックを主成分とする複数の誘電体層と、複数の内部電極層と、が交互に積層された積層構造を有する積層体を有し、前記積層体は、互いに対向する第1の側面および第2の側面と、互いに対向する第1の端面および第2の端面と、を有し、前記内部電極層は、第1の内部電極層と第2の内部電極層を含み、前記第1の内部電極層は、前記第1の側面および前記第2の側面が対向する方向である第1の方向の長さが、前記第2の内部電極層の前記第1の方向の長さよりも長く、少なくとも一つの前記第1の内部電極層は、前記第2の内部電極層に対向する一つの面に、少なくとも一つの凸部を有し、前記凸部は、前記第1の内部電極層において、前記第1の内部電極層と前記第2の内部電極層が積層方向に重ならない領域に存在する、積層セラミックコンデンサ。
【選択図】図3
特許請求の範囲
【請求項1】
セラミックを主成分とする複数の誘電体層と、複数の内部電極層と、が交互に積層された積層構造を有する積層体を有し、
前記積層体は、互いに対向する第1の側面および第2の側面と、互いに対向する第1の端面および第2の端面と、を有し、
前記内部電極層は、第1の内部電極層と第2の内部電極層を含み、
前記第1の内部電極層は、前記第1の側面および前記第2の側面が対向する方向である第1の方向の長さが、前記第2の内部電極層の前記第1の方向の長さよりも長く、
少なくとも一つの前記第1の内部電極層は、前記第2の内部電極層に対向する一つの面に、少なくとも一つの凸部を有し、
前記凸部は、前記第1の内部電極層において、前記第1の内部電極層と前記第2の内部電極層が積層方向に重ならない領域に存在する、積層セラミックコンデンサ。
続きを表示(約 860 文字)
【請求項2】
前記凸部は、前記積層方向及び前記第1の方向と直交する方向である第2の方向に連続して延びる、請求項1に記載の積層セラミックコンデンサ。
【請求項3】
前記第1の方向に連続して延びる凸部をさらに含む、請求項2に記載の積層セラミックコンデンサ。
【請求項4】
前記積層方向において、前記積層構造における前記内部電極層のうち最も端にある前記内部電極層が前記第2の内部電極層である、請求項1に記載の積層セラミックコンデンサ。
【請求項5】
前記凸部の前記積層方向の長さが、前記第1の内部電極層の平均厚さの1.02倍以上3.0倍以下である、請求項1に記載の積層セラミックコンデンサ。
【請求項6】
前記凸部の前記第1の方向の長さが前記第1の内部電極層の前記第1の方向の長さの6%以上30%以下である、請求項1に記載の積層セラミックコンデンサ。
【請求項7】
前記凸部の前記第1の方向の長さ及び前記第2の方向の長さのうち、最短となる長さが前記第1の内部電極層の前記第1の方向の長さの6%以上30%以下である、請求項2に記載の積層セラミックコンデンサ。
【請求項8】
前記積層体において、前記第1の内部電極層が前記積層方向に周期的に配置されている、請求項1から7のいずれか一項に記載の積層セラミックコンデンサ。
【請求項9】
第1セラミックグリーンシート上に第1の内部電極層を形成する工程と、
前記第1の内部電極層上に少なくとも一つの凸部を形成する工程と、
第2セラミックグリーンシート上に、前記第1の内部電極層よりも面積の小さい第2の内部電極層を形成する工程と、
前記第1の内部電極層と前記凸部が形成された前記第1セラミックグリーンシート上に、前記第2の内部電極層が形成された前記第2セラミックグリーンシートを積層する工程と、
を含む、積層セラミックコンデンサの製造方法。
発明の詳細な説明
【技術分野】
【0001】
本発明は、積層セラミックコンデンサ、及び積層セラミックコンデンサの製造方法に関する。
続きを表示(約 2,700 文字)
【背景技術】
【0002】
車載用コンピュータなどにおいて、大型で大容量かつ高信頼の積層セラミックコンデンサが求められている。特許文献1ではセラミックシートを介して対向して配置される内部電極の面積を各内部電極において変化させることにより、内部電極に対する電圧印加時にマージン部分に生じる引っ張り応力を分散させてクラックの発生を抑制する積層型セラミックコンデンサが記載されている。
【先行技術文献】
【特許文献】
【0003】
特開2000-124057号公報
【発明の概要】
【発明が解決しようとする課題】
【0004】
しかしながら、特許文献1の構成のように内部電極の面積を異ならせると、両者が積層方向に重ならない領域であって、面積の大きい内部電極層の端部付近と面積の小さい内部電極層の端部付近に、各内部電極から拡散した金属元素の量の疎密が発生してしまうため、誘電体層に組成の違いが生じてデラミネーションの起点となってしまうおそれがある。
【0005】
本発明の一態様は、誘電体層と内部電極層の密着性に優れ、デラミネーションを抑制することができる積層セラミックコンデンサを提供することを目的とする。
【課題を解決するための手段】
【0006】
上記課題を解決するために、本発明の一態様は、
セラミックを主成分とする複数の誘電体層と、複数の内部電極層と、が交互に積層された積層構造を有する積層体を有し、
前記積層体は、互いに対向する第1の側面および第2の側面と、互いに対向する第1の端面および第2の端面と、を有し、
前記内部電極層は、第1の内部電極層と第2の内部電極層を含み、
前記第1の内部電極層は、前記第1の側面および前記第2の側面が対向する方向である第1の方向の長さが、前記第2の内部電極層の前記第1の方向の長さよりも長く、
少なくとも一つの前記第1の内部電極層は、前記第2の内部電極層に対向する一つの面に、少なくとも一つの凸部を有し、
前記凸部は、前記第1の内部電極層において、前記第1の内部電極層と前記第2の内部電極層が積層方向に重ならない領域に存在する、積層セラミックコンデンサを提供する。
【発明の効果】
【0007】
本発明によれば、誘電体層と内部電極層の密着性に優れ、デラミネーションを抑制することができる積層セラミックコンデンサを提供することができる。
【図面の簡単な説明】
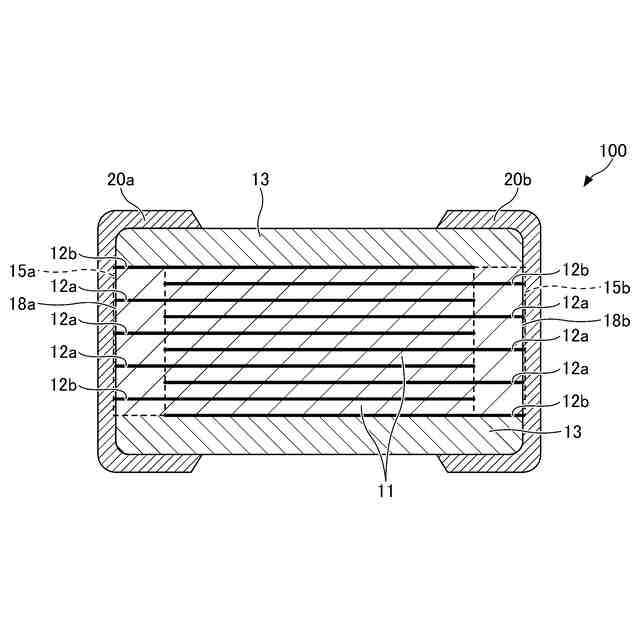
【0008】
本開示の一態様に係る積層セラミックコンデンサの一例の部分断面斜視図である。
図1の積層セラミックコンデンサのA-A線に沿った断面図である。
図1の積層セラミックコンデンサのB-B線に沿った断面図である。
図4(A)は、凸部を有しない積層セラミックコンデンサの部分断面斜視図であり、図4(B)は、図4(A)のA-A線に沿った断面図であり、図4(C)は、図4(A)のB-B線に沿った断面図である。
図4(C)の領域M1を拡大した模式図である。
図3の領域M1を拡大した模式図である。
本開示の一態様に係る積層セラミックコンデンサの一例の部分断面斜視図である。
図7の積層セラミックコンデンサのA-A線に沿った断面図である。
図7の積層セラミックコンデンサのB-B線に沿った断面図である。
本開示の一態様に係る積層セラミックコンデンサの製造方法の一例を示すフローチャートである。
本開示の一態様に係る積層セラミックコンデンサの製造方法の積層工程の一例を示す図である。
本開示の一態様に係る積層セラミックコンデンサの製造方法の積層工程の一例を示す図である。
本開示の一態様に係る積層セラミックコンデンサの製造方法の積層工程の一例を示す図である。
本開示の一態様に係る積層セラミックコンデンサにおける、凸部を形成させた第1の内部電極層の模式図と、それを第1の方向に表面形状分析した結果を示す図である。
本開示の一態様に係る積層セラミックコンデンサにおける、凸部を形成させた第1の内部電極層の模式図と、それを第1の方向に表面形状分析した結果を示す図である。
【発明を実施するための形態】
【0009】
以下、本開示の態様について詳細に説明するが、本開示はこれらに限定されるものではない。なお、本明細書および図面において、実質的に同一の機能構成を有する構成要素については、同一の符号を付することにより重複した説明を省くことがある。また、本明細書において、「直交」とは、「直交」及び「略直交」を意味する。以下、積層セラミックコンデンサについて、図面を参照しながら説明する。
【0010】
(積層セラミックコンデンサ)
図1は、本開示の一態様に係る積層セラミックコンデンサの一例の部分断面斜視図である。図2は、図1のA-A線断面図である。図3は、図1のB-B線断面図である。図1~図3で例示するように、積層セラミックコンデンサ100は、略直方体形状を有する積層チップ10と、積層チップ10のいずれかの対向する2端面に設けられた外部電極20a,20bとを備える。なお、積層チップ10の上記2端面のうち、一方を第1の端面と称し、もう一方を第2の端面と称する。第1の端面および第2の端面は、積層チップ10の端面のうちの1端面であれば、どちらの面が第1の端面18aまたは第2の端面18bであってもよい。第1の端面18aおよび第2の端面18b以外の4面のうち、積層方向の上面および下面以外の2面を側面と称し、一方を第1の側面と称し、もう一方を第2の側面と称する。第1の側面および第2の側面は、積層チップ10の側面であれば、どちらの面が第1の側面19aまたは第2の側面19bであってもよい。なお、積層方向にある端の面を上面又は下面としているため、積層チップ10の上面は上側に特定されるものでなく、積層方向にある端の面であれば、どちらの面が上面であっても下面であってもよい。外部電極20a,20bは、積層チップ10の積層方向の上面、下面、第1の側面19aおよび第2の側面19bに延在している。ただし、外部電極20a,20bは、互いに離間している。
(【0011】以降は省略されています)
この特許をJ-PlatPat(特許庁公式サイト)で参照する
関連特許
太陽誘電株式会社
コイル部品
10日前
太陽誘電株式会社
コイル部品
11日前
太陽誘電株式会社
コイル部品
6日前
太陽誘電株式会社
コイル部品
10日前
太陽誘電株式会社
生体情報測定装置
10日前
太陽誘電株式会社
セラミック電子部品
10日前
太陽誘電株式会社
積層セラミック電子部品
6日前
太陽誘電株式会社
積層セラミック電子部品
12日前
太陽誘電株式会社
積層セラミック電子部品
10日前
太陽誘電株式会社
グルコース濃度推定装置
11日前
太陽誘電株式会社
センサ装置および取付方法
11日前
太陽誘電株式会社
積層セラミックコンデンサ
11日前
太陽誘電株式会社
コイル部品および実装基板
11日前
太陽誘電株式会社
フィルタ及びマルチプレクサ
12日前
太陽誘電株式会社
血圧測定装置および血圧測定方法
11日前
太陽誘電株式会社
コイル部品、コイル部品の製造方法
10日前
太陽誘電株式会社
コイル部品、コイル部品の製造方法
10日前
太陽誘電株式会社
コイル部品及びコイル部品の製造方法
10日前
太陽誘電株式会社
積層セラミックコンデンサ及び回路基板
11日前
太陽誘電株式会社
積層セラミックコンデンサ及び回路基板
13日前
太陽誘電株式会社
磁性基体及び磁性基体を備えるコイル部品
10日前
太陽誘電株式会社
積層セラミック電子部品及びその製造方法
10日前
太陽誘電株式会社
積層セラミック電子部品およびその製造方法
10日前
太陽誘電株式会社
積層セラミック電子部品およびその製造方法
11日前
太陽誘電株式会社
積層セラミック電子部品およびその製造方法
10日前
太陽誘電株式会社
弾性波デバイス、フィルタ、及びマルチプレクサ
17日前
太陽誘電株式会社
心拍検出システム、心拍検出方法およびプログラム
10日前
太陽誘電株式会社
位置情報システム、情報処理装置及び情報処理方法
12日前
太陽誘電株式会社
積層セラミック電子部品、積層セラミック電子部品の製造方法
10日前
太陽誘電株式会社
積層セラミック電子部品、積層セラミック電子部品の製造方法
10日前
太陽誘電株式会社
積層セラミック電子部品、及び積層セラミック電子部品の製造方法
10日前
太陽誘電株式会社
心拍検出装置、心拍検出システム、心拍検出方法およびプログラム
10日前
太陽誘電株式会社
心拍検出装置、心拍検出システム、心拍検出方法およびプログラム
10日前
太陽誘電株式会社
積層セラミック電子部品、及び積層セラミック電子部品の製造方法
17日前
太陽誘電株式会社
積層セラミックコンデンサ、及び積層セラミックコンデンサの製造方法
10日前
太陽誘電株式会社
積層セラミックコンデンサ、および積層セラミックコンデンサの製造方法
10日前
続きを見る
他の特許を見る