TOP
|
特許
|
意匠
|
商標
特許ウォッチ
Twitter
他の特許を見る
10個以上の画像は省略されています。
公開番号
2025167976
公報種別
公開特許公報(A)
公開日
2025-11-07
出願番号
2024073033
出願日
2024-04-26
発明の名称
電子デバイス及び電子デバイスの製造方法
出願人
太陽誘電株式会社
代理人
弁理士法人片山特許事務所
主分類
H03H
9/25 20060101AFI20251030BHJP(基本電子回路)
要約
【課題】デバイスの信頼性の低下を抑制することが可能な電子デバイスを提供する。
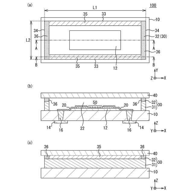
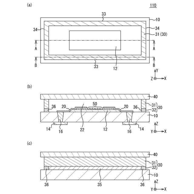
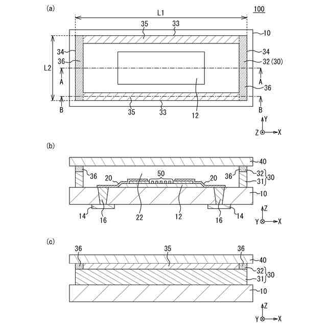
【解決手段】弾性波デバイス100は、基板10と、基板10上に設けられた弾性波素子50と、平面視において弾性波素子50を囲んで基板10上に設けられ、はんだにより形成され、平面視において第1接合部35と第1接合部35とは構成元素または組成比が異なる第2接合部36とを有する環状接合層32と、基板10とで空隙22を挟んで環状接合層32に接合され、空隙22内に弾性波素子50を封止するリッド40とを備える。
【選択図】図1
特許請求の範囲
【請求項1】
基板と、
前記基板上に設けられた機能素子と、
平面視において前記機能素子を囲んで前記基板上に設けられ、はんだにより形成され、前記平面視において第1接合部と前記第1接合部とは構成元素または組成比が異なる第2接合部とを有する環状接合層と、
前記基板とで空隙を挟んで前記環状接合層に接合され、前記空隙内に前記機能素子を封止するリッドと、を備える電子デバイス。
続きを表示(約 770 文字)
【請求項2】
前記第1接合部は前記第2接合部より融点が低く、
前記平面視において前記第1接合部の面積は前記第2接合部の面積より大きい、請求項1に記載の電子デバイス。
【請求項3】
前記第2接合部は前記第1接合部よりヤング率が大きく、
前記平面視において前記第2接合部の面積は前記第1接合部の面積より大きい、請求項1に記載の電子デバイス。
【請求項4】
前記空隙内において前記基板と前記リッドとの間に設けられ、接合層を有する柱状体を備え、
前記接合層および前記第2接合部は前記第1接合部よりヤング率が大きい、請求項1から3のいずれか一項に記載の電子デバイス。
【請求項5】
前記第1接合部は金錫であり、前記第2接合部は前記第1接合部とは組成比が異なる金錫である、請求項1から3のいずれか一項に記載の電子デバイス。
【請求項6】
基板上に機能素子を形成する工程と、
前記基板上またはリッド上に、第1接合部と前記第1接合部より融点が高くかつ厚い第2接合部とを有する環状接合層を形成する工程と、
前記第1接合部および前記第2接合部を前記第1接合部の融点以上かつ前記第2接合部の融点未満の第1温度に加熱し、前記リッドと前記第1接合部の間または前記基板と前記第1接合部の間に空隙が形成されるように前記リッドまたは前記基板を前記第2接合部に当接させる工程と、
前記当接させる工程の後、前記第1接合部および前記第2接合部を前記第2接合部の融点以上の第2温度に加熱して前記リッドまたは前記基板を前記第1接合部および前記第2接合部に接合し、前記基板と前記リッドとの間の空隙内に前記機能素子を封止する工程と、を備える電子デバイスの製造方法。
発明の詳細な説明
【技術分野】
【0001】
本発明は、電子デバイス及び電子デバイスの製造方法に関する。
続きを表示(約 1,000 文字)
【背景技術】
【0002】
基板とキャップ又はリッドとの間の空隙内に機能素子を封止した電子デバイスが知られている(例えば特許文献1から4)。基板とキャップ又はリッドとを接合するときに、ガスが空隙内に残留するとデバイスの信頼性が低下する。そこで、空隙内のガスを外部に放出させるために、接合層に切り込み又は凹部を設けることが知られている(例えば特許文献1から3)。
【先行技術文献】
【特許文献】
【0003】
特開平6-132413号公報
特開平6-232284号公報
特開平8-213496号公報
特表2007-516602号公報
【発明の概要】
【発明が解決しようとする課題】
【0004】
しかしながら、デバイスの信頼性の低下を抑制する点において改善の余地が残されている。
【0005】
本発明は、上記課題に鑑みなされたものであり、デバイスの信頼性の低下を抑制することを目的とする。
【課題を解決するための手段】
【0006】
本発明は、基板と、前記基板上に設けられた機能素子と、平面視において前記機能素子を囲んで前記基板上に設けられ、はんだにより形成され、前記平面視において第1接合部と前記第1接合部とは構成元素または組成比が異なる第2接合部とを有する環状接合層と、前記基板とで空隙を挟んで前記環状接合層に接合され、前記空隙内に前記機能素子を封止するリッドと、を備える電子デバイスである。
【0007】
上記構成において、前記第1接合部は前記第2接合部より融点が低く、前記平面視において前記第1接合部の面積は前記第2接合部の面積より大きい構成とすることができる。
【0008】
上記構成において、前記第2接合部は前記第1接合部よりヤング率が大きく、前記平面視において前記第2接合部の面積は前記第1接合部の面積より大きい構成とすることができる。
【0009】
上記構成において、前記空隙内において前記基板と前記リッドとの間に設けられ、接合層を有する柱状体を備え、前記接合層および前記第2接合部は前記第1接合部よりヤング率が大きい構成とすることができる。
【0010】
上記構成において、前記第1接合部は金錫であり、前記第2接合部は前記第1接合部とは組成比が異なる金錫である構成とすることができる。
(【0011】以降は省略されています)
この特許をJ-PlatPat(特許庁公式サイト)で参照する
関連特許
太陽誘電株式会社
積層セラミックコンデンサ及び回路基板
12日前
太陽誘電株式会社
電子デバイス及び電子デバイスの製造方法
1か月前
太陽誘電株式会社
弾性波デバイス及び弾性波デバイスの製造方法
1か月前
太陽誘電株式会社
弾性波デバイスの製造方法及び弾性波デバイス
1か月前
太陽誘電株式会社
弾性波デバイス、フィルタ、及びマルチプレクサ
1か月前
太陽誘電株式会社
非粘着性の機能膜を備える構造体及び当該構造体の製造方法
28日前
太陽誘電株式会社
積層セラミックコンデンサ
26日前
株式会社蜂鳥
増幅器
14日前
エイブリック株式会社
増幅器
2か月前
エイブリック株式会社
増幅器
2か月前
エイブリック株式会社
増幅回路
2か月前
日本電波工業株式会社
水晶振動子
1か月前
日本電波工業株式会社
圧電振動片
2か月前
株式会社大真空
圧電振動デバイス
1日前
株式会社トーキン
ノイズフィルタ
3か月前
京セラ株式会社
差動信号フィルタデバイス
20日前
株式会社半導体エネルギー研究所
駆動回路
2か月前
台灣晶技股ふん有限公司
水晶発振器
1か月前
京セラ株式会社
差動信号フィルタデバイス
20日前
富士電機株式会社
半導体装置
13日前
株式会社村田製作所
増幅回路
3か月前
京セラ株式会社
弾性波共振子および通信装置
今日
株式会社村田製作所
高周波回路
3か月前
台灣晶技股ふん有限公司
水晶発振素子
1か月前
TDK株式会社
電子部品
2か月前
TDK株式会社
電子部品
2か月前
株式会社村田製作所
弾性波装置
13日前
ローム株式会社
自己診断システム
1か月前
住友電気工業株式会社
歪補償装置
7日前
株式会社村田製作所
弾性波フィルタ
2か月前
三菱電機株式会社
高周波増幅器モジュール
1か月前
国立大学法人東北大学
弾性表面波デバイス
1か月前
住友電気工業株式会社
高周波増幅器
2か月前
株式会社村田製作所
高周波電力増幅器
12日前
日清紡マイクロデバイス株式会社
演算増幅器
2か月前
株式会社村田製作所
高周波電力増幅器
12日前
続きを見る
他の特許を見る