TOP
|
特許
|
意匠
|
商標
特許ウォッチ
Twitter
他の特許を見る
10個以上の画像は省略されています。
公開番号
2025151766
公報種別
公開特許公報(A)
公開日
2025-10-09
出願番号
2024053351
出願日
2024-03-28
発明の名称
グルコース濃度推定装置
出願人
太陽誘電株式会社
代理人
個人
,
個人
主分類
A61B
5/1455 20060101AFI20251002BHJP(医学または獣医学;衛生学)
要約
【課題】グルコースおよび水分の吸光度の差が比較的大きい複数種類の波長の近赤外光を用いて、低コストかつ高精度にグルコース濃度を推定する。
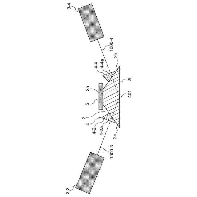
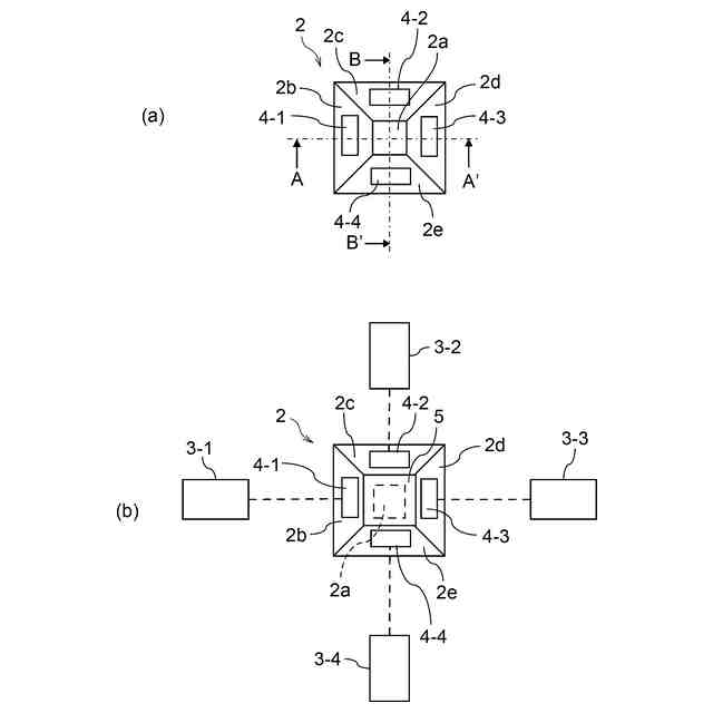
【解決手段】グルコース濃度推定装置1は、波長1384nmの光を含む第1の光を人体150に照射するための第1の光源3-1と、波長1582nmの光を含む第2の光を人体150に照射するための第2の光源3-2と、波長1847nmの光を含む第3の光を人体150に照射するための第3の光源3-3と、波長2216nmの光を含む第4の光を人体に照射するための第4の光源3-4と、第1から第4の光を人体150に照射して返ってきた光を受光する受光素子を有する受光モジュール5と、受光モジュール5の出力に基づいてグルコース濃度を推定する制御回路6とを備える。
【選択図】図4
特許請求の範囲
【請求項1】
1375nmから1395nmの波長範囲のうちのいずれか1波長を含む光である第1の光を生体に照射するための第1の光源と、
1575nmから1595nmの波長範囲のうちのいずれか1波長を含む光である第2の光を前記生体に照射するための第2の光源と、
1835nmから1855nmの波長範囲のうちのいずれか1波長を含む光である第3の光を前記生体に照射するための第3の光源と、を含む少なくとも3つの光源と、
少なくとも前記第1から第3の光を含む複数の波長の光を前記生体に照射して返ってきた光を受光する受光素子と、
前記受光素子の出力に基づいてグルコース濃度を推定する推定部と、
を備えるグルコース濃度推定装置。
続きを表示(約 1,500 文字)
【請求項2】
請求項1において、
2175nmから2255nmの波長範囲のうちのいずれか1波長を含む光である第4の光を前記生体に照射するための第4の光源をさらに含む少なくとも4つの光源を備え、
前記受光素子は、少なくとも前記第1から第4の光を含む複数の波長の光を前記生体に照射して返ってきた光を受光可能に構成されるグルコース濃度推定装置。
【請求項3】
請求項1または2において、
前記複数の波長の光を前記生体に入射した場合の反射光の情報とグルコース濃度との関係を予め学習して得た学習済みモデルを含む推定用情報を記憶する記憶部をさらに備え、
前記推定部は、前記記憶部に記憶された前記推定用情報を用いて前記受光素子の出力に対応するグルコース濃度を推定するグルコース濃度推定装置。
【請求項4】
請求項3において、
前記学習済みモデルは、人工皮膚に対して設定されたグルコース、水分および真皮層中の他の成分に対応する第3成分のそれぞれ異なる複数種類の濃度の組合せに対して学習を行ったモデルであるグルコース濃度推定装置。
【請求項5】
請求項3において、
被験者の属性に関する属性情報を取得する属性情報取得部をさらに備え、
前記学習済みモデルは、被験者の属性情報と、当該被験者の皮膚から反射される前記反射光の情報と、当該被験者のグルコース濃度の実測値とに基づいて、前記属性情報と前記反射光の情報と前記グルコース濃度との関係を学習したモデルであり、
前記推定部は、前記推定用情報を用いて、前記属性情報取得部で取得した一の被験者の属性情報と、前記一の被験者に対応する前記受光素子の出力とから、前記一の被験者のグルコース濃度を推定するグルコース濃度推定装置。
【請求項6】
請求項1または2において、
前記複数の波長の光を前記生体に入射した場合の反射光の情報とグルコース濃度との関係を予め学習して得た学習済みモデルを用いて生成された、前記反射光の情報とグルコース濃度との対応関係を示す情報を含む推定用情報を記憶する記憶部をさらに備え、
前記推定部は、前記記憶部に記憶された前記推定用情報に基づいて前記受光素子の出力に対応するグルコース濃度を推定するグルコース濃度推定装置。
【請求項7】
請求項6において、
前記学習済みモデルは、人工皮膚に対して設定されたグルコース、水分および真皮層中の他の成分に対応する第3成分のそれぞれ異なる複数種類の濃度の組合せに対して学習を行ったモデルであるグルコース濃度推定装置。
【請求項8】
請求項6において、
被験者の属性に関する属性情報を取得する属性情報取得部をさらに備え、
前記学習済みモデルは、被験者ごとに、当該被験者の皮膚から反射される前記反射光の情報と、当該被験者のグルコース濃度の実測値とに基づいて、前記反射光の情報と前記グルコース濃度との関係を学習したモデルであり、
前記対応関係を示す情報は、被験者の属性情報と、当該属性情報に対応する被験者の前記反射光の情報と、当該属性情報に対応する被験者のグルコース濃度との対応関係を示す情報であり、
前記推定部は、前記推定用情報を用いて、前記属性情報取得部で取得した一の被験者の属性情報と、前記一の被験者に対応する前記受光素子の出力とから、前記一の被験者のグルコース濃度を推定するグルコース濃度推定装置。
発明の詳細な説明
【技術分野】
【0001】
本発明は、光学式の検出手段を用いてグルコース濃度を推定するグルコース濃度推定装置に関する。
続きを表示(約 2,100 文字)
【背景技術】
【0002】
従来、医療機器、ヘルスケア製品において、グルコース濃度を始めとする血液成分の検査は、採血することが一般的であった。昨今では、患者への肉体的負担、感染症などに対する懸念を回避すべく、光学式の検出手段を用いることで非侵襲にて検出する方法が注目されている。
【0003】
特許文献1には、光源で発生した波長1.06μmの近赤外光の励起光を用いて光パラメトリック発振器(OPO)で波長9.26μmの中赤外光のレーザ光を発生し、発生したレーザ光を被験者の生体上皮に対して局所的に照射し、その拡散反射光を光検出器で検出する。さらに、モニター用光検出器と光検出器との信号比から算出される規格化された光強度を用いて間質液中のグルコース濃度を算出する技術が開示されている。グルコースは、波長9.26μmの中赤外光の波長域での吸収感度が高く、グルコース濃度検出においては高精度な検出が期待できる。
【0004】
特許文献2には、侵襲的に基準血糖値を測定する基準血糖値測定手段と、近赤外光を用いて非侵襲的に血糖値を推定する血糖値推定手段と、基準血糖値を用いて、血糖値推定手段により推定された推定血糖値の校正を自動的に行う校正手段と、を備える血糖値モニタリング装置が開示されている。
【0005】
特許文献3には、波長1300nmから1900nmの近赤外領域における光の吸収を利用して生体組織中あるいは体液中のグルコース濃度を定量するにあたり、1530nmから1560nmの波長範囲、1580nmから1640nmの波長範囲、1640nmから1720nmの波長範囲、1720nmから1750nmの波長範囲からなる4つの波長範囲からそれぞれ少なくとも1波長あるいは1波長領域を選択して、これらの少なくとも4波長あるいは4波長領域を用いて得た吸収信号を基にグルコースの定量を行う技術が開示されている。かかる技術では、グルコースの特異的な吸収波長として1580nmから1640nmの波長範囲から少なくとも1波長あるいは1波長領域を選択する。さらに、他の3つの波長範囲の波長の吸収信号を用いて、選択した1波長あるいは1波長領域のグルコースの吸光スペクトルに重畳するグルコース以外の生体成分による外乱を除去している。
【先行技術文献】
【特許文献】
【0006】
特許第6415606号公報
特開2011-62335号公報
特開2000-131322号公報
【発明の概要】
【発明が解決しようとする課題】
【0007】
しかしながら、上記特許文献1の技術では、YAG光源により近赤外光の励起光を発生するが、YAG光源は高価である。さらに、9.26μmの波長に対応した光学系は化合物系材料となり、こちらも高価である。そのため、装置の製造コストが高くなるといった不具合がある。
【0008】
また、上記特許文献2の技術では、近赤外光を用いることでコストを低減することができるが、近赤外光の波長は、人体の水分にも強い吸収反応がある。そのため、本方式では、近赤外光による検出結果だけではグルコース濃度、水分濃度の判別が不可能であり、血液採取による侵襲的な血糖値の検出結果を用いて近赤外光による血糖値の推定結果を校正する必要がある。
また、上記特許文献3の技術では、グルコース濃度以外の成分による重畳を除去するようになっているが、特許文献3で指定された波長範囲においては、外乱となる各成分の濃度判定を高精度で行うことは不可能である。
本発明は上記課題に鑑みなされたものであり、グルコースおよび水分の吸光度の差が比較的大きい複数種類の波長の近赤外光を用いて、低コストかつ高精度にグルコース濃度を推定できるグルコース濃度推定装置を提供することを目的とする。
【課題を解決するための手段】
【0009】
本発明は、1375nmから1395nmの波長範囲のうちのいずれか1波長を含む光である第1の光を生体に照射するための第1の光源と、1575nmから1595nmの波長範囲のうちのいずれか1波長を含む光である第2の光を前記生体に照射するための第2の光源と、1835nmから1855nmの波長範囲のうちのいずれか1波長を含む光である第3の光を前記生体に照射するための第3の光源と、を含む少なくとも3つの光源と、少なくとも前記第1から第3の光を含む複数の波長の光を前記生体に照射して返ってきた光を受光する受光素子と、前記受光素子の出力に基づいてグルコース濃度を推定する推定部と、
を備えるグルコース濃度推定装置である。
【0010】
上記構成において、2175nmから2255nmの波長範囲のうちのいずれか1波長を含む光である第4の光を前記生体に照射するための第4の光源をさらに含む少なくとも4つの光源を備え、前記受光素子は、少なくとも前記第1から第4の光を含む複数の波長の光を前記生体に照射して返ってきた光を受光可能に構成してもよい。
(【0011】以降は省略されています)
この特許をJ-PlatPat(特許庁公式サイト)で参照する
関連特許
太陽誘電株式会社
表示装置
10日前
太陽誘電株式会社
コイル部品
24日前
太陽誘電株式会社
コイル部品
25日前
太陽誘電株式会社
コイル部品
20日前
太陽誘電株式会社
コイル部品
24日前
太陽誘電株式会社
生体情報測定装置
24日前
太陽誘電株式会社
セラミック電子部品
24日前
太陽誘電株式会社
グルコース濃度推定装置
25日前
太陽誘電株式会社
積層セラミック電子部品
24日前
太陽誘電株式会社
積層セラミック電子部品
20日前
太陽誘電株式会社
積層セラミック電子部品
26日前
太陽誘電株式会社
センサ装置および取付方法
25日前
太陽誘電株式会社
積層セラミックコンデンサ
25日前
太陽誘電株式会社
コイル部品および実装基板
25日前
太陽誘電株式会社
フィルタ及びマルチプレクサ
26日前
太陽誘電株式会社
血圧測定装置および血圧測定方法
25日前
太陽誘電株式会社
コイル部品、コイル部品の製造方法
24日前
太陽誘電株式会社
コイル部品、コイル部品の製造方法
24日前
太陽誘電株式会社
コイル部品及びコイル部品の製造方法
24日前
太陽誘電株式会社
積層セラミックコンデンサ及び回路基板
25日前
太陽誘電株式会社
積層セラミックコンデンサ及び回路基板
27日前
太陽誘電株式会社
積層セラミックコンデンサ及び回路基板
12日前
太陽誘電株式会社
積層セラミック電子部品及びその製造方法
24日前
太陽誘電株式会社
磁性基体及び磁性基体を備えるコイル部品
24日前
太陽誘電株式会社
積層セラミック電子部品およびその製造方法
25日前
太陽誘電株式会社
積層セラミック電子部品およびその製造方法
24日前
太陽誘電株式会社
積層セラミック電子部品およびその製造方法
24日前
太陽誘電株式会社
弾性波デバイス、フィルタ、及びマルチプレクサ
1か月前
太陽誘電株式会社
位置情報システム、情報処理装置及び情報処理方法
26日前
太陽誘電株式会社
心拍検出システム、心拍検出方法およびプログラム
24日前
太陽誘電株式会社
積層セラミック電子部品、積層セラミック電子部品の製造方法
24日前
太陽誘電株式会社
積層セラミック電子部品、積層セラミック電子部品の製造方法
24日前
太陽誘電株式会社
積層セラミック電子部品、及び積層セラミック電子部品の製造方法
24日前
太陽誘電株式会社
心拍検出装置、心拍検出システム、心拍検出方法およびプログラム
24日前
太陽誘電株式会社
心拍検出装置、心拍検出システム、心拍検出方法およびプログラム
24日前
太陽誘電株式会社
積層セラミック電子部品、及び積層セラミック電子部品の製造方法
1か月前
続きを見る
他の特許を見る