TOP
|
特許
|
意匠
|
商標
特許ウォッチ
Twitter
他の特許を見る
10個以上の画像は省略されています。
公開番号
2025153779
公報種別
公開特許公報(A)
公開日
2025-10-10
出願番号
2024056411
出願日
2024-03-29
発明の名称
コイル部品及びコイル部品の製造方法
出願人
太陽誘電株式会社
代理人
個人
主分類
H01F
17/04 20060101AFI20251002BHJP(基本的電気素子)
要約
【課題】 実効透磁率を低下させることなく導体パターン間の絶縁性を向上させる。
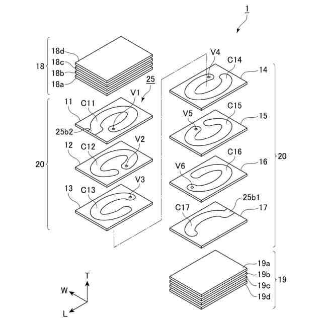
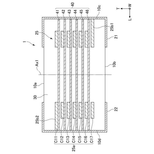
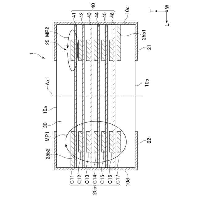
【解決手段】 一実施形態における磁性基体は、磁性基体と、磁性基体内にコイル軸の周りに延びるように設けられているコイル導体と、コイル導体の一端と電気的に接続される第1外部電極と、コイル導体の他端と電気的に接続される第2外部電極と、を備える。コイル導体は、第1導体パターンと、このコイル導体とコイル軸に沿う第1方向において対向する第2導体パターンと、を有する。磁性基体は、複数の金属磁性粒子を含む第1領域と、Fe、Ni、及びZnを含有する複合酸化物粒子を含む第2領域と、を含む。第2領域は、第1導体パターンと第2導体パターンとの間に介在するように配置されている。第2領域は、磁性を呈し、絶縁性である。
【選択図】 図4
特許請求の範囲
【請求項1】
磁性基体と、
前記磁性基体内にコイル軸の周りに延びるように設けられているコイル導体と、
前記コイル導体の一端と電気的に接続される第1外部電極と、
前記コイル導体の他端と電気的に接続される第2外部電極と、
を備え
前記コイル導体は、第1導体パターンと、前記コイル軸に沿う第1方向において前記第1導体パターンと対向する第2導体パターンと、を有し、
前記磁性基体は、複数の金属磁性粒子を含む第1領域と、Fe、Ni、及びZnを含有する複合酸化物粒子を含み、前記第1導体パターンと前記第2導体パターンとの間に介在するように配置されている、磁性を呈する絶縁性の第2領域と、を含む、
コイル部品。
続きを表示(約 800 文字)
【請求項2】
前記第2領域の体積抵抗率を示す第2抵抗率は、前記第1領域の体積抵抗率を示す第1抵抗率よりも大きい、
請求項1に記載のコイル部品。
【請求項3】
前記第2領域の透磁率を示す第2透磁率は、前記第1領域の透磁率を示す第1透磁率よりも大きい、
請求項1に記載のコイル部品。
【請求項4】
前記第2領域の前記第1方向における寸法は、3μm以下である、
請求項1または2に記載のコイル部品。
【請求項5】
前記第1導体パターンの下面が前記第2導体パターンの上面と対向しており、
前記第2領域は、前記第1導体パターンの下面の全体を覆っている、
請求項1または2に記載のコイル部品。
【請求項6】
前記第2領域の端部は、前記磁性基体から露出している、
請求項1または2に記載のコイル部品。
【請求項7】
前記第2領域は、少なくとも前記第1導体パターンと接している、
請求項1または2に記載のコイル部品。
【請求項8】
前記第2領域は、前記第1導体パターン及び前記第2導体パターンのいずれとも接している、
請求項7に記載のコイル部品。
【請求項9】
前記コイル軸の方向から見たときに、前記第2領域の面積は、前記第1導体パターンの面積及び前記第2導体パターンの面積のいずれよりも大きい、
請求項1または2に記載のコイル部品。
【請求項10】
前記金属磁性粒子は、Crを含有しており、
前記磁性基体は、前記第1領域と前記第2領域の界面において、ZnCr
2
O
4
を含有する、
請求項1または2に記載のコイル部品。
(【請求項11】以降は省略されています)
発明の詳細な説明
【技術分野】
【0001】
本明細書における開示は、主に、コイル部品及びコイル部品の製造方法に関する。
続きを表示(約 1,500 文字)
【背景技術】
【0002】
コイル部品は、磁性基体と、磁性基体に設けられたコイル導体と、コイル導体の一端に取り付けられた第1外部電極と、コイル導体の他端に取り付けられた第2外部電極と、を備える。あるタイプの磁性基体は、互いに結合した複数の金属磁性粒子を含有する。金属磁性粒子から構成される磁性基体は、フェライト材料から構成される磁性基体よりも磁気飽和が起こりにくい。このため、金属磁性粒子から構成される磁性基体を備えるコイル部品は、大電流が流れる回路(例えば、電源回路やDC/DCコンバータ回路)での使用に適している。
【0003】
金属磁性粒子から構成される磁性基体を備える従来のコイル部品が特開2016-051752号公報(特許文献1)に記載されている。
【先行技術文献】
【特許文献】
【0004】
特開2016-051752号公報
【発明の概要】
【発明が解決しようとする課題】
【0005】
特許文献1においても指摘されているように、金属磁性粒子から構成される磁性基体を用いたコイル部品においてコイル導体を構成する導体パターン間の間隔が小さくなると、導体パターン間で絶縁破壊が起きやすくなる。特許文献1においては、隣接する導体パターン間にガラスとアルミナとの混合物で形成された高絶縁性の非磁性体部が設けることで、絶縁破壊を抑制している。
【0006】
磁性基体の一部に非磁性の領域が存在すると、当該磁性基体を備えるコイル部品の実効透磁率が低下してしまう。コイル部品においては、磁性基体の絶縁性が高いだけでなく、実効透磁率が高いことが望まれる。
【0007】
本明細書において開示される発明の目的は、上述した問題の少なくとも一部を解決又は緩和することである。本発明のより具体的な目的の一つは、金属磁性粒子から構成される磁性基体を備えるコイル部品において、実効透磁率を低下させることなく導体パターン間の絶縁性を向上させることである。
【0008】
本発明の前記以外の目的は、明細書全体の記載を通じて明らかにされる。特許請求の範囲に記載される発明は、「発明を解決しようとする課題」から把握される課題以外の課題を解決するものであってもよい。本明細書において開示される様々な発明は、「本発明」と総称されることがある。
【課題を解決するための手段】
【0009】
一実施形態における磁性基体は、磁性基体と、磁性基体内にコイル軸の周りに延びるように設けられているコイル導体と、コイル導体の一端と電気的に接続される第1外部電極と、コイル導体の他端と電気的に接続される第2外部電極と、を備える。コイル導体は、第1導体パターンと、このコイル導体とコイル軸に沿う第1方向において対向する第2導体パターンと、を有する。磁性基体は、複数の金属磁性粒子を含む第1領域と、Fe、Ni、及びZnを含有する複合酸化物粒子を含む第2領域と、を含む。第2領域は、第1導体パターンと第2導体パターンとの間に介在するように配置されている。第2領域は、磁性を呈し、絶縁性である。
【発明の効果】
【0010】
本明細書により開示される発明の実施形態によれば、金属磁性粒子から構成される磁性基体を備えるコイル部品において、実効透磁率を低下させることなく導体パターン間の絶縁性を向上させることができる。
【図面の簡単な説明】
(【0011】以降は省略されています)
この特許をJ-PlatPat(特許庁公式サイト)で参照する
関連特許
太陽誘電株式会社
表示装置
13日前
太陽誘電株式会社
コイル部品
27日前
太陽誘電株式会社
コイル部品
27日前
太陽誘電株式会社
全固体電池
1か月前
太陽誘電株式会社
コイル部品
23日前
太陽誘電株式会社
コイル部品
28日前
太陽誘電株式会社
導波路装置
1か月前
太陽誘電株式会社
生体情報測定装置
27日前
太陽誘電株式会社
セラミック電子部品
27日前
太陽誘電株式会社
グルコース濃度推定装置
28日前
太陽誘電株式会社
積層セラミック電子部品
27日前
太陽誘電株式会社
積層セラミック電子部品
29日前
太陽誘電株式会社
積層セラミック電子部品
23日前
太陽誘電株式会社
センサ装置および取付方法
28日前
太陽誘電株式会社
積層セラミックコンデンサ
28日前
太陽誘電株式会社
コイル部品および実装基板
28日前
太陽誘電株式会社
フィルタ及びマルチプレクサ
29日前
太陽誘電株式会社
導波路装置およびレーダ装置
1か月前
太陽誘電株式会社
血圧測定装置および血圧測定方法
28日前
太陽誘電株式会社
コイル部品、コイル部品の製造方法
27日前
太陽誘電株式会社
コイル部品、コイル部品の製造方法
27日前
太陽誘電株式会社
バッテリパック及び車両の制御装置
1か月前
太陽誘電株式会社
コイル部品及びコイル部品の製造方法
27日前
太陽誘電株式会社
特徴量取得装置および特徴量取得方法
1か月前
太陽誘電株式会社
積層セラミックコンデンサ及び回路基板
1か月前
太陽誘電株式会社
積層セラミックコンデンサ及び回路基板
1か月前
太陽誘電株式会社
積層セラミックコンデンサ及び回路基板
1か月前
太陽誘電株式会社
積層セラミックコンデンサ及び回路基板
1か月前
太陽誘電株式会社
積層セラミックコンデンサ及び回路基板
15日前
太陽誘電株式会社
積層セラミックコンデンサ及び回路基板
28日前
太陽誘電株式会社
積層セラミック電子部品及びその製造方法
27日前
太陽誘電株式会社
磁性基体及び磁性基体を備えるコイル部品
27日前
太陽誘電株式会社
圧電トランスデューサおよび電気音響装置
1か月前
太陽誘電株式会社
積層セラミック電子部品およびその製造方法
27日前
太陽誘電株式会社
積層セラミック電子部品およびその製造方法
27日前
太陽誘電株式会社
積層セラミック電子部品およびその製造方法
28日前
続きを見る
他の特許を見る