TOP
|
特許
|
意匠
|
商標
特許ウォッチ
Twitter
他の特許を見る
10個以上の画像は省略されています。
公開番号
2025142965
公報種別
公開特許公報(A)
公開日
2025-10-01
出願番号
2024042620
出願日
2024-03-18
発明の名称
圧電トランスデューサおよび電気音響装置
出願人
太陽誘電株式会社
代理人
個人
,
個人
主分類
H04R
17/00 20060101AFI20250924BHJP(電気通信技術)
要約
【課題】従来と比較して指向性を高くし、音圧を向上させ、かつ、気圧の影響を低減することができる圧電トランスデューサおよび電気音響装置を提供する。
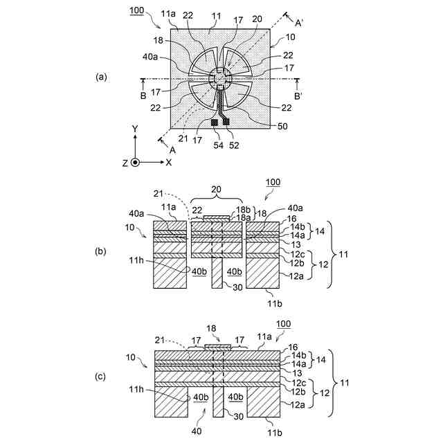
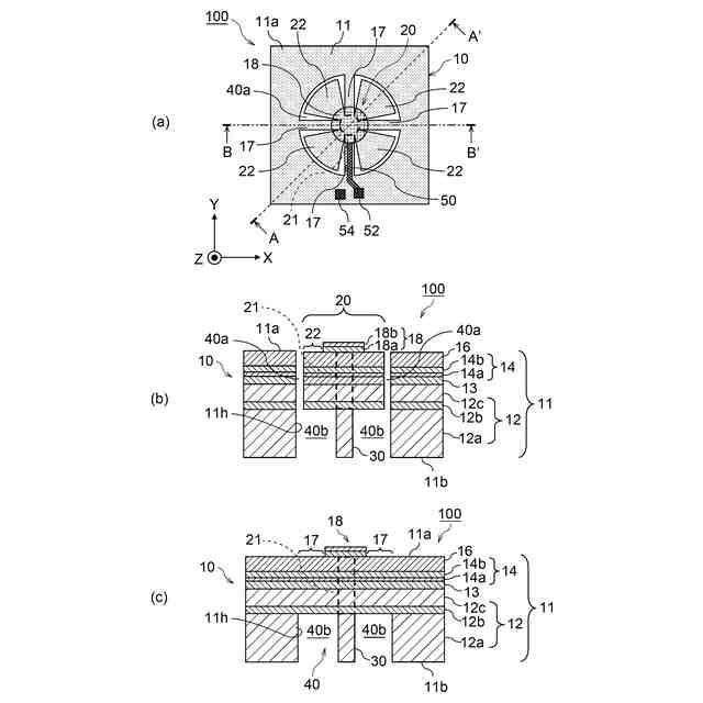
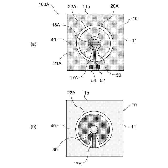
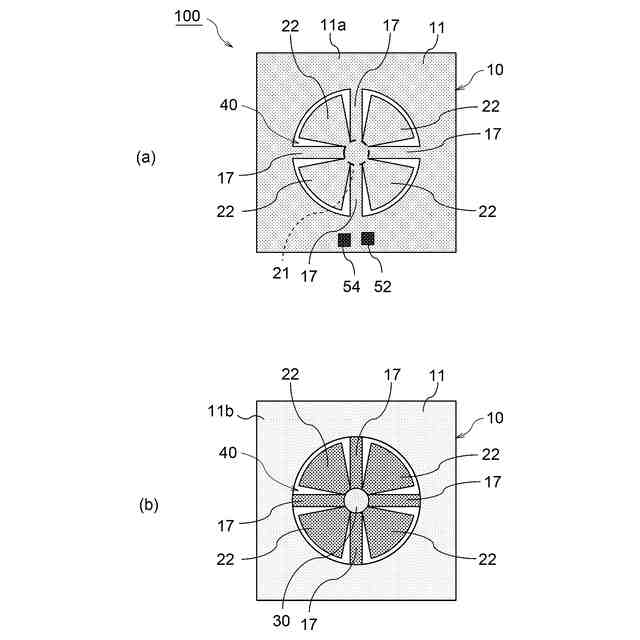
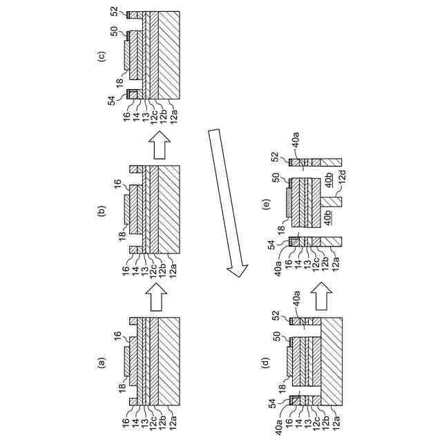
【解決手段】超音波トランスデューサ100は、フレーム11と、空隙40とを有する基板10と、基板10のフレーム11と一端部が接続される複数の梁17と、空隙40内のフレーム11の内周面11hとは隙間を空けて非接触に配置され、下部電極14と、上部電極18と、下部電極14と上部電極18とに挟まれる圧電層16とを含み、複数の梁17の他端部と接続される芯部21と、芯部21の複数の梁17と接続する部分以外の外周部から外側に延びる複数の片持ち梁22とを備える振動体20と、空隙40内において振動体20の芯部21に長手方向の一端が接続されかつフレーム11の内周面11hから離れて配置された円柱30とを備える。
【選択図】 図1
特許請求の範囲
【請求項1】
空隙を有する基板と、
前記基板と接続され、前記空隙の少なくとも一部よりも上側に設けられる接続体と、
前記空隙の少なくとも一部よりも上側に設けられ、第1電極と、第2電極と、前記第1電極と前記第2電極とに挟まれる圧電体とを含んで構成され、前記接続体と接続される芯部と、前記芯部の前記接続体との接続部分以外の外周部から外側に延びる片持ち梁とを有する振動体と、
一端を含んで長手方向に延在し、前記芯部と前記一端で接続された柱と、
を備える圧電トランスデューサ。
続きを表示(約 960 文字)
【請求項2】
請求項1において、
前記片持ち梁は、平面視で見た場合に前記芯部から放射状に延びる複数の片持ち梁を有する圧電トランスデューサ。
【請求項3】
請求項2において、
前記片持ち梁は、平面視で見た場合に略扇形状または略三角形状である圧電トランスデューサ。
【請求項4】
請求項1において、
前記振動体と前記基板とは1つの接続体で接続され、
前記振動体は、平面視で見た場合に前記芯部の前記接続体と接続する部分以外の周囲を包囲して形成され、前記芯部を含む形状が略扇形状となる1つの片持ち梁を有する圧電トランスデューサ。
【請求項5】
請求項2において、
前記振動体と前記基板とは複数の前記接続体で接続され、
各前記接続体は、前記芯部の外周部における周方向に隣接する各2つの片持ち梁の間に一端が接続され、かつ、他端が前記基板に接続され、
各前記片持ち梁と前記各接続体とは非接触である圧電トランスデューサ。
【請求項6】
請求項2において、
前記複数の片持ち梁は、厚さや形状が同じでかつそれぞれ放射状に延びる長さが異なる圧電トランスデューサ。
【請求項7】
請求項1において、
前記第1電極または前記第2電極のうち前記振動体の前記柱側とは反対側の電極から前記基板へと配線される線路が前記接続体上に形成されている圧電トランスデューサ。
【請求項8】
開口部を有する筐体と、
前記筐体内に配設された、請求項1乃至7のいずれか1項に記載の圧電トランスデューサと、
前記筐体内に配設された、前記圧電トランスデューサの動作を制御する制御部と、を備え、
前記開口部は、平面視で見た場合に前記振動体を内包可能な大きさに構成され、
前記圧電トランスデューサは、前記柱の他端および前記振動体の前記柱側の面が前記開口部から前記筐体の外側を臨むように前記筐体内に配設されている電気音響装置。
【請求項9】
請求項8において、
前記振動体の振動部分を被覆しない状態で前記柱を前記筐体に支持する柱支持部を備える電気音響装置。
発明の詳細な説明
【技術分野】
【0001】
本発明は、圧電トランスデューサおよびこれを用いた電気音響装置に関する。
続きを表示(約 2,500 文字)
【背景技術】
【0002】
従来、圧電トランスデューサとして、圧電型微細加工超音波トランスデューサ(pMUT:Piezoelectric Micromachined Ultrasonic Transducer)が知られている。pMUTは、MEMS技術を用いて基板上に圧電体と電極を微細に形成し、超音波の送受信が可能なデバイスである。pMUTは、基板上に圧電体を一対の電極で挟んだ構造を有するメンブレンを備え、基板にキャビティが設けられるため、メンブレンが振動して撓みやすい構造となっている。pMUTでは、電極に電圧を印加した場合に物質が変形する逆圧電効果および物質の変形により電圧が生じる圧電効果を利用している。pMUTは、逆圧電効果および圧電効果によるメンブレンのたわみ振動により超音波を送信および受信でき、測距センサや指紋センサなどで用いられている。
【0003】
pMUTの共振周波数は、メンブレン径や膜厚、ヤング率などの物性値で定義されている。また、メンブレンの初期変形量が変化することにより、見かけ上のヤング率が変化するため、共振周波数が変化してしまう。メンブレンの初期変形量に変化を与える要因の一つとして、気圧が挙げられる。実装後のpMUTは、メンブレンと回路基板間の部分が密閉状態にあるため、メンブレンと回路基板間の部分の気圧と、メンブレンの外側との気圧差が生じやすくなると考えられる。このことから、pMUTは、気圧差が生じにくく、メンブレンの初期変形量が変化しにくい構造とすることが望ましい。
【0004】
特許文献1に記載の技術は、4つの三角形状のメンブレンを四角形状に組合せるとともに、各メンブレンの外周側端部を固定した構成を有している。かかる構成では、電圧を印加することで、四角形状をなす4つのメンブレンの中央部分が上下に変位して超音波を送信または受信する。
【0005】
また、特許文献2に記載の技術は、メンブレンに相当する圧電層スタックと基板との間に中央アンカー構造が配置された構成を有する。さらに、圧電層スタックと基板との間にはキャビティが設けられている。かかる構成によって、圧電層スタックの下面中央部が中央アンカーによって支持され、電圧を印加されることで中央アンカーを中心にメンブレンの中心から外側部分が上下に変位する。これにより、超音波を送信および受信することができる。
【先行技術文献】
【特許文献】
【0006】
特許第5936154号公報
特許第6599968号公報
【発明の概要】
【発明が解決しようとする課題】
【0007】
しかしながら、上記特許文献1の技術では、残留応力に関わらず低周波感度を有する超音波トランスデューサを開示しており、超音波の送信に用いたときに、素子の実装面積当たりの音圧が小さいといった問題があった。さらに、複数のメンブレンを略隙間なく組み合わせているため、気圧によるメンブレンの初期変形量への影響が大きくなるといった問題があった。また、上記特許文献2の技術では、音響特性における指向性が低いといった問題があった。
本発明は上記課題に鑑みなされたものであり、従来と比較して指向性を高くし、音圧を向上させ、かつ、気圧の影響を低減することができる圧電トランスデューサおよび電気音響装置を提供することを目的とする。
【課題を解決するための手段】
【0008】
本発明は、空隙を有する基板と、前記基板と接続され、前記空隙の少なくとも一部の上側に設けられる接続体と、前記空隙の少なくとも一部の上側に設けられ、第1電極と、第2電極と、前記第1電極と前記第2電極とに挟まれる圧電体とを含んで構成され、前記接続体と接続される芯部と、前記芯部の前記接続体との接続部分以外の外周部から外側に延びる片持ち梁とを有する振動体と、一端を含んで長手方向に延在し、前記芯部と前記一端で接続された柱と、を備える圧電トランスデューサである。
上記構成において、前記振動体は、平面視で見た場合に前記芯部から放射状に延びる複数の片持ち梁を有する構成としてもよい。
上記構成において、前記片持ち梁は、平面視で見た場合に略扇形状または略三角形状としてもよい。
上記構成において、前記振動体と前記基板とは1つの接続体で接続され、前記振動体は、平面視で見た場合に前記芯部の前記接続体と接続する部分以外の周囲を包囲して形成され、前記芯部を含む形状が略扇形状となる1つの片持ち梁を有する構成としてもよい。
【0009】
上記構成において、前記振動体と前記基板とは複数の前記接続体で接続され、各前記接続体は、前記芯部の外周部における周方向に隣接する各2つの片持ち梁の間に一端が接続され、かつ、他端が前記基板に接続され、各前記片持ち梁と前記各接続体とは非接触である構成としてもよい。
上記構成において、前記複数の片持ち梁は、厚さや形状が同じでかつそれぞれ放射状に延びる長さが異なる構成としてもよい。
上記構成において、前記第1電極または前記第2電極のうち前記振動体の前記柱側とは反対側の電極から前記基板へと配線される線路が前記接続体上に形成される構成としてもよい。
【0010】
本発明は、開口部を有する筐体と、前記筐体内に配設された、上記圧電トランスデューサのいずれか1つと、前記筐体内に配設された、前記圧電トランスデューサの動作を制御する制御部とを備え、前記開口部は、平面視で見た場合に前記振動体を内包可能な大きさに構成され、前記圧電トランスデューサは、前記柱の他端および前記振動体の前記柱側の面が前記開口部から前記筐体の外側を臨むように前記筐体内に配設されている電気音響装置である。
上記構成において、前記振動体の振動部分を被覆しない状態で前記柱を前記筐体に支持する柱支持部を備える構成としてもよい。
【発明の効果】
(【0011】以降は省略されています)
この特許をJ-PlatPat(特許庁公式サイト)で参照する
関連特許
太陽誘電株式会社
導波路装置
6日前
太陽誘電株式会社
全固体電池
6日前
太陽誘電株式会社
コイル部品
今日
太陽誘電株式会社
積層セラミック電子部品
1日前
太陽誘電株式会社
グルコース濃度推定装置
今日
太陽誘電株式会社
コイル部品および実装基板
今日
太陽誘電株式会社
積層セラミックコンデンサ
今日
太陽誘電株式会社
センサ装置および取付方法
今日
太陽誘電株式会社
導波路装置およびレーダ装置
6日前
太陽誘電株式会社
フィルタ及びマルチプレクサ
1日前
太陽誘電株式会社
血圧測定装置および血圧測定方法
今日
太陽誘電株式会社
バッテリパック及び車両の制御装置
6日前
太陽誘電株式会社
特徴量取得装置および特徴量取得方法
20日前
太陽誘電株式会社
積層セラミックコンデンサ及び回路基板
2日前
太陽誘電株式会社
積層セラミックコンデンサ及び回路基板
今日
太陽誘電株式会社
積層セラミックコンデンサ及び回路基板
13日前
太陽誘電株式会社
積層セラミックコンデンサ及び回路基板
10日前
太陽誘電株式会社
積層セラミックコンデンサ及び回路基板
10日前
太陽誘電株式会社
圧電トランスデューサおよび電気音響装置
8日前
太陽誘電株式会社
積層セラミック電子部品及びその製造方法
29日前
太陽誘電株式会社
積層セラミック電子部品およびその製造方法
今日
太陽誘電株式会社
電子部品の検査方法および電子部品の製造方法
10日前
太陽誘電株式会社
弾性波デバイス、フィルタ、及びマルチプレクサ
6日前
太陽誘電株式会社
位置情報システム、情報処理装置及び情報処理方法
1日前
太陽誘電株式会社
存在検知システム、存在判定装置および存在判定方法
20日前
太陽誘電株式会社
多重モード型フィルタ、フィルタ、及びマルチプレクサ
6日前
太陽誘電株式会社
測位システム、測位装置、測位方法、および測位プログラム
29日前
太陽誘電株式会社
弾性波デバイス、フィルタ、及び弾性波デバイスの製造方法
20日前
太陽誘電株式会社
測位システム、測位装置、測位方法、および測位プログラム
29日前
太陽誘電株式会社
積層セラミック電子部品、及び積層セラミック電子部品の製造方法
6日前
太陽誘電株式会社
セラミック電子部品
9日前
太陽誘電株式会社
アレイ型インダクタ及び当該アレイ型インダクタを備えるインダクタ内蔵基板
今日
太陽誘電株式会社
弾性波デバイス、フィルタ、マルチプレクサ、及び弾性波デバイスの製造方法
6日前
住友ベークライト株式会社
感応膜用組成物、感応膜、におい検出素子、および、においセンサー
13日前
住友ベークライト株式会社
感応膜用組成物、感応膜、におい検出素子、および、においセンサー
13日前
サクサ株式会社
中継装置
今日
続きを見る
他の特許を見る