TOP
|
特許
|
意匠
|
商標
特許ウォッチ
Twitter
他の特許を見る
10個以上の画像は省略されています。
公開番号
2025154234
公報種別
公開特許公報(A)
公開日
2025-10-10
出願番号
2024057122
出願日
2024-03-29
発明の名称
積層セラミック電子部品及びその製造方法
出願人
太陽誘電株式会社
代理人
個人
主分類
H01G
4/30 20060101AFI20251002BHJP(基本的電気素子)
要約
【課題】容量が確保し易く、信頼性が高い積層セラミック電子部品及びその製造方法を提供すること。
【解決手段】積層セラミック電子部品は、第1方向に向いた端面と、端面と連接し前記第1方向に延びる複数の周面と、第1方向に沿って延びる凹部を有し複数の周面の間を接続する稜線部と、を含む保護部、保護部の内方に配置された機能部を有するセラミック素体、及び、外部電極を備える。機能部は、第1方向と直交する第2方向に積層された複数の内部電極層を有する。保護部は、機能部に対し第2方向に積層されたカバー部と、機能部を第1方向と第2方向とに直交する第3方向から覆うサイドマージン部とを含む。稜線部は凹部を隔てて、カバー部側に設けられた第1稜線部と、サイドマージン部側に設けられた第2稜線部とを含む。第2方向と前記第3方向とを含む断面において、第1稜線部の曲率半径R1は、第2稜線部の曲率半径R2よりも大きい。
【選択図】図3
特許請求の範囲
【請求項1】
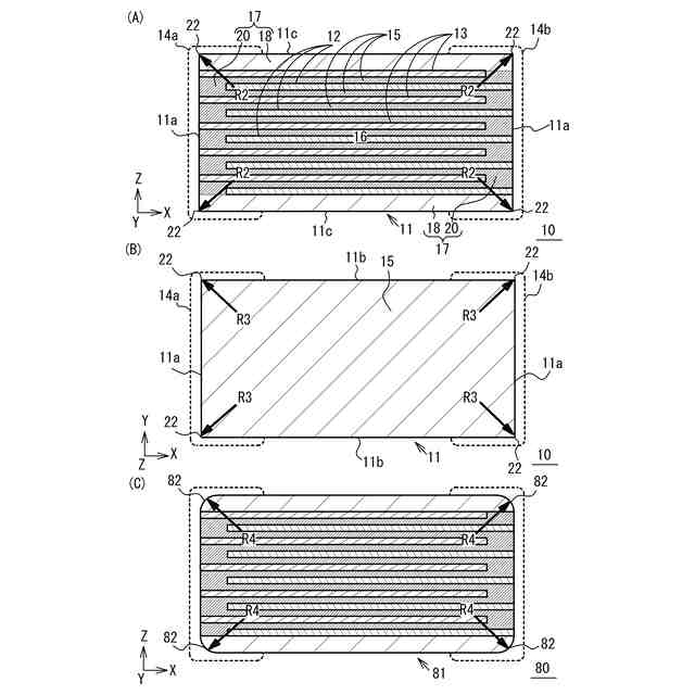
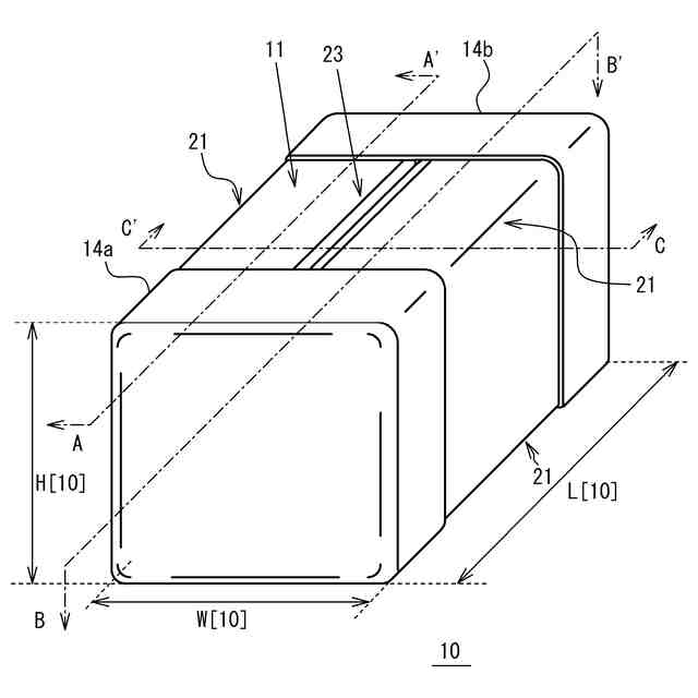
それぞれ第1方向に向いた一対の端面と、前記端面と連接し、それぞれ前記第1方向と直交する第2方向を向いた一対の主面と、前記端面と連接し、それぞれ前記第1方向及び前記第2方向と直交する第3方向を向いた一対の側面と、を備えるとともに、隣接する前記主面と前記側面との間を接続する稜線部と、隣接する前記端面と前記主面又は隣接する前記端面と前記側面との間を接続する角部と、を含む保護部と、前記保護部の内方に配置された容量形成部と、を有する素体と、
一方の前記端面に設けられ、前記一対の主面及び前記一対の側面に延在し、前記容量形成部に含まれる第1内部電極層と接続された第1外部電極と、
他方の前記端面に設けられ、前記一対の主面及び前記一対の側面に延在し、前記容量形成部に含まれる第2内部電極層と接続された第2外部電極と、
を備えた、積層セラミック電子部品であって、
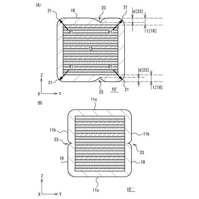
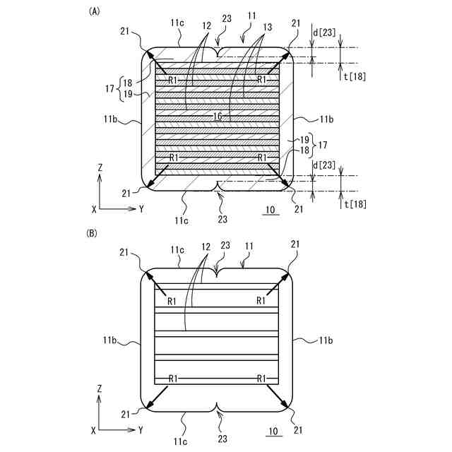
前記第2方向と前記第3方向とを含む断面における前記稜線部の曲率半径R1は、前記第1方向と前記第2方向とを含む断面における前記角部の曲率半径R2及び前記第1方向と前記第3方向とを含む断面における前記角部の曲率半径R3よりも大きい、
積層セラミック電子部品。
続きを表示(約 1,000 文字)
【請求項2】
請求項1に記載の積層セラミック電子部品であって、
前記保護部は、前記主面が形成された部分又は前記側面が形成された部分に前記第1方向に沿って形成された不均一部を備えた、
積層セラミック電子部品。
【請求項3】
請求項2に記載の積層セラミック電子部品において、
前記不均一部が前記側面に設けられている場合に、
前記不均一部は、前記側面の前記第2方向における中心部の両側それぞれ40%以内の領域に配置されている、
積層セラミック電子部品。
【請求項4】
請求項2に記載の積層セラミック電子部品において、
前記不均一部が前記主面に設けられている場合に、
前記不均一部は、前記主面の前記第3方向における中心部の両側それぞれの40%以内の領域に配置されている、
積層セラミック電子部品。
【請求項5】
請求項1に記載の積層セラミック電子部品において、
前記稜線部の前記曲率半径R1は、10μm以上20μm以下である、
積層セラミック電子部品。
【請求項6】
請求項5に記載の積層セラミック電子部品において、
当該積層セラミック電子部品の前記第1方向に沿う寸法は、0.6mm以下である、
積層セラミック電子部品。
【請求項7】
請求項5に記載の積層セラミック電子部品において、
当該積層セラミック電子部品の前記第2方向の寸法は、当該積層セラミック電子部品の前記第1方向の寸法及び前記第3方向の寸法よりも小さい、
積層セラミック電子部品。
【請求項8】
請求項7に記載の積層セラミック電子部品において、
当該積層セラミック電子部品の前記第2方向の寸法は、110μm以下である、
積層セラミック電子部品。
【請求項9】
請求項2に記載の積層セラミック電子部品において、
前記不均一部は、前記素体の前記第2方向と前記第3方向とを含む断面に表れる前記保護部の厚みが不均一である起伏部である、
積層セラミック電子部品。
【請求項10】
請求項9に記載の積層セラミック電子部品において、
前記起伏部は凹部であり、当該凹部の深さの前記保護部の厚みに対する割合は、10%以上30%以下である、
積層セラミック電子部品。
(【請求項11】以降は省略されています)
発明の詳細な説明
【技術分野】
【0001】
本発明は、積層セラミック電子部品及びその製造方法に関する。
続きを表示(約 1,900 文字)
【背景技術】
【0002】
近年、電子デバイスの小型化・高性能化に伴い、より小型でかつ大容量な積層セラミックコンデンサ等の積層セラミック電子部品の需要が高まっている。このような要求に応えるべく、内部電極層の周囲を保護するためのマージン部を極力薄くするために、マージン部を後から形成する工法が提案されている(例えば、特許文献1、2参照)。
【先行技術文献】
【特許文献】
【0003】
特開2013-89755号公報
特開2021-44533号公報
【発明の概要】
【発明が解決しようとする課題】
【0004】
ところで、積層セラミック電子部品は、一般的に複数の内部電極層が誘電体層を挟んで積層されて形成された容量形成部と、この容量形成部の周囲に保護部が形成された素体(チップ)を備える。保護部は、特許文献1や特許文献2に開示された工法で形成することができる。素体の稜線部、つまり、主面と側面とが連続する部分に適切な曲率半径を備えた曲線形状に形成されていると、素体の稜線部に欠けが生じるなどの損傷を回避し易くなる。
【0005】
従来、素体の稜線部における曲線形状を形成するために、バレル研磨を行っていた。バレル研磨では、個片にカットして作製した素体を研磨剤、吸着材を含む液体と共に容器に投入し、その容器を遠心分離機にセットして回転させていた。つまり、遠心分離機を作動させることで、素体同士を衝突させ、稜線部の成形を行っていた。しかしながら、素体の小型化が進行するに連れて素体同士が衝突するときの衝撃力(エネルギ)が小さくなり、所望の形状に成形することが困難となってきている。
【0006】
また、稜線部の曲率半径が大きくなるに連れて、稜線部における保護部が薄くなり、素体の表面と容量形成部との距離が短くなって、積層セラミック電子部品の信頼性が低下することが知られている。このため、従来は、いわば、内部電極層の面積を犠牲にして保護部を厚く設定することで、所望の曲率半径の確保に余裕を持たせていた。しかしながら、小型化が進行した積層セラミック電子部品において保護部の厚みを確保しようとすると、全体の寸法に対して犠牲となる内部電極層の面積の割合が大きくなり、容量が低下し易くなる。つまり、積層セラミック電子部品の小型化の進行に伴って、容量確保と、信頼性獲得の両立が難しくなってきている。
【0007】
そこで、本発明の目的は、小型化が進行した積層セラミック電子部品においても、容量が確保し易く、信頼性が高い積層セラミック電子部品及びその製造方法を提供することにある。
【課題を解決するための手段】
【0008】
上記目的を達成するため、積層セラミック電子部品は、それぞれ第1方向に向いた一対の端面と、前記端面と連接し、それぞれ前記第1方向と直交する第2方向を向いた一対の主面と、前記端面と連接し、それぞれ前記第1方向及び前記第2方向と直交する第3方向を向いた一対の側面と、を備えるとともに、隣接する前記主面と前記側面との間を接続する稜線部と、隣接する前記端面と前記主面又は隣接する前記端面と前記側面との間を接続する角部と、を含む保護部と、前記保護部の内方に配置された容量形成部と、を有する素体と、一方の前記端面に設けられ、前記一対の主面及び前記一対の側面に延在し、前記容量形成部に含まれる第1内部電極層と接続された第1外部電極と、他方の前記端面に設けられ、前記一対の主面及び前記一対の側面に延在し、前記容量形成部に含まれる第2内部電極層と接続された第2外部電極と、を備えた、積層セラミック電子部品であって、前記第2方向と前記第3方向とを含む断面における前記稜線部の曲率半径R1は、前記第1方向と前記第2方向とを含む断面における前記角部の曲率半径R2及び前記第1方向と前記第3方向とを含む断面における前記角部の曲率半径R3よりも大きい態様とすることができる。
【0009】
上記構成の積層セラミック電子部品において、前記保護部は、前記主面が形成された部分又は前記側面が形成された部分に前記第1方向に沿って形成された不均一部を備えた態様とすることができる。
【0010】
また、上記構成の積層セラミック電子部品において、前記不均一部が前記側面に設けられている場合に、前記不均一部は、前記側面の前記第2方向における中心部の両側それぞれ40%以内の領域に配置されている態様とすることができる。
(【0011】以降は省略されています)
この特許をJ-PlatPat(特許庁公式サイト)で参照する
関連特許
太陽誘電株式会社
表示装置
1か月前
太陽誘電株式会社
コイル部品
2か月前
太陽誘電株式会社
コイル部品
2か月前
太陽誘電株式会社
コイル部品
1か月前
太陽誘電株式会社
コイル部品
2か月前
太陽誘電株式会社
生体情報測定装置
2か月前
太陽誘電株式会社
セラミック電子部品
2か月前
太陽誘電株式会社
グルコース濃度推定装置
2か月前
太陽誘電株式会社
積層セラミック電子部品
1か月前
太陽誘電株式会社
積層セラミック電子部品
2か月前
太陽誘電株式会社
積層セラミック電子部品
2か月前
太陽誘電株式会社
センサ装置および取付方法
2か月前
太陽誘電株式会社
積層セラミックコンデンサ
2か月前
太陽誘電株式会社
コイル部品および実装基板
2か月前
太陽誘電株式会社
フィルタ及びマルチプレクサ
2か月前
太陽誘電株式会社
血圧測定装置および血圧測定方法
2か月前
太陽誘電株式会社
コイル部品、コイル部品の製造方法
2か月前
太陽誘電株式会社
コイル部品、コイル部品の製造方法
2か月前
太陽誘電株式会社
コイル部品及びコイル部品の製造方法
2か月前
太陽誘電株式会社
積層セラミックコンデンサ及び回路基板
2か月前
太陽誘電株式会社
積層セラミックコンデンサ及び回路基板
12日前
太陽誘電株式会社
積層セラミックコンデンサ及び回路基板
2か月前
太陽誘電株式会社
積層セラミックコンデンサ及び回路基板
1か月前
太陽誘電株式会社
磁性基体及び磁性基体を備えるコイル部品
2か月前
太陽誘電株式会社
電子デバイス及び電子デバイスの製造方法
1か月前
太陽誘電株式会社
積層セラミック電子部品及びその製造方法
2か月前
太陽誘電株式会社
積層セラミック電子部品およびその製造方法
2か月前
太陽誘電株式会社
積層セラミック電子部品およびその製造方法
2か月前
太陽誘電株式会社
積層セラミック電子部品およびその製造方法
2か月前
太陽誘電株式会社
弾性波デバイスの製造方法及び弾性波デバイス
1か月前
太陽誘電株式会社
弾性波デバイス及び弾性波デバイスの製造方法
1か月前
太陽誘電株式会社
弾性波デバイスの製造方法及び弾性波デバイス
1か月前
太陽誘電株式会社
弾性波デバイス、フィルタ、及びマルチプレクサ
1か月前
太陽誘電株式会社
心拍検出システム、心拍検出方法およびプログラム
2か月前
太陽誘電株式会社
位置情報システム、情報処理装置及び情報処理方法
2か月前
太陽誘電株式会社
非粘着性の機能膜を備える構造体及び当該構造体の製造方法
28日前
続きを見る
他の特許を見る