TOP
|
特許
|
意匠
|
商標
特許ウォッチ
Twitter
他の特許を見る
10個以上の画像は省略されています。
公開番号
2025152071
公報種別
公開特許公報(A)
公開日
2025-10-09
出願番号
2024053796
出願日
2024-03-28
発明の名称
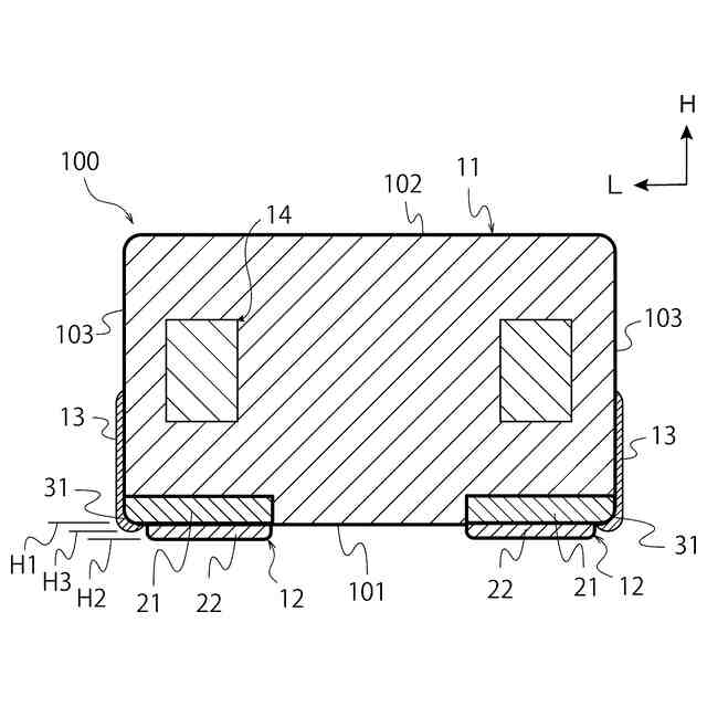
コイル部品および実装基板
出願人
太陽誘電株式会社
代理人
個人
,
個人
主分類
H01F
27/02 20060101AFI20251002BHJP(基本的電気素子)
要約
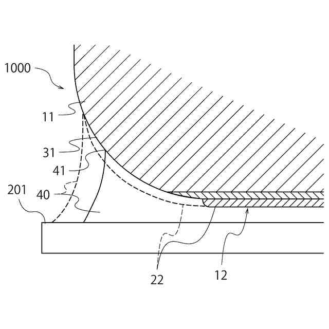
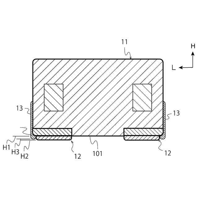
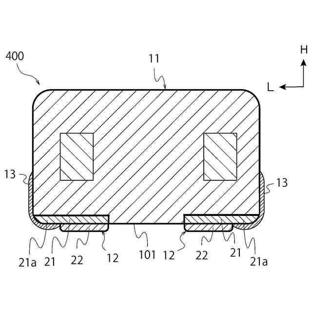
【課題】コイル部品と基板との密着性を向上させて高密度実装を可能とする。
【解決手段】一態様に係るコイル部品は、金属磁性粒子を含み、外面として、互いに隣り合う第1面および第2面を有し、上記第1面と上記第2面との間に延びる第1稜線を有する磁性基体と、上記磁性基体の内部又は表面に設けられる導体と、上記磁性基体の表面に設けられ、上記第1稜線を経て上記第1面から上記第2面に亘り設けられる絶縁層と、上記導体と電気的に接続され、上記第1稜線から離隔し、上記第1面に設けられる外部電極と、を備える。
【選択図】 図5
特許請求の範囲
【請求項1】
金属磁性粒子を含み、外面として、互いに隣り合う第1面および第2面を有し、前記第1面と前記第2面との間に延びる第1稜線を有する磁性基体と、
前記磁性基体の内部又は表面に設けられる導体と、
前記第1稜線を経て第1面から第2面に亘り設けられる絶縁層と、
前記導体と電気的に接続され、前記第1稜線から離隔し、前記第1面に設けられる外部電極と、
を備えるコイル部品。
続きを表示(約 800 文字)
【請求項2】
前記第1面に垂直な方向において、前記第1面から前記外部電極の最遠位置までの距離は、前記第1面から前記絶縁層の最遠位置までの距離よりも大きい請求項1に記載のコイル部品。
【請求項3】
前記第1面に垂直な方向において、前記絶縁層の最遠位置と前記外部電極の最遠位置との距離は、前記第1面から前記絶縁層の最遠位置までの距離より小さい請求項2に記載のコイル部品。
【請求項4】
前記絶縁層が前記第2面を覆う請求項1に記載のコイル部品。
【請求項5】
前記絶縁層は、樹脂およびセラミック粒子からなる請求項1に記載のコイル部品。
【請求項6】
前記外部電極は、下地電極層と、下地電極層の外側に設けられるめっき層とを有し、前記めっき層は前記絶縁層と接している請求項1に記載のコイル部品。
【請求項7】
前記外部電極は、前記下地電極層の外周の一部が絶縁層で覆われ、前記めっき層は前記下地電極層の外周より内側に設けられる請求項6に記載のコイル部品。
【請求項8】
前記下地電極層は、前記第1面と同一の面、または前記第1面より窪んでいる位置に平面部を有する請求項7に記載のコイル部品。
【請求項9】
請求項1に記載のコイル部品と、
前記外部電極が半田付けされるランドを有する基板と、
前記ランドと前記外部電極との間をつなぎ、前記第2面から離隔してフィレットを形成する半田と、
を備える実装基板。
【請求項10】
請求項1に記載のコイル部品と、
前記外部電極が半田付けされるランドを有する基板と、
前記ランドと前記外部電極との間をつなぎ、前記コイル部品の外形寸法の範囲内にフィレットを形成する半田と、
を備える実装基板。
発明の詳細な説明
【技術分野】
【0001】
本発明は、コイル部品および実装基板に関する。
続きを表示(約 1,600 文字)
【背景技術】
【0002】
デジタル電子機器の小型化および高性能化が急速に進んでいることに伴い、電子回路の高密度化の必要性が高まっている。そのため、外部電極を部品の実装面に相当する底面のみに備えることで基板のランド面積の縮小に対応する表面実装電子部品が求められている。底面のみに備えられる外部電極は1面電極とも称される。
【0003】
例えば特許文献1には、1面電極の外部電極と素体との密着性を高めるため、磁性体である素体の一部が外部電極の凹形状のくさび部に入り込んだ積層型電子部品が開示されている。
【先行技術文献】
【特許文献】
【0004】
特開2020-061409号公報
【発明の概要】
【発明が解決しようとする課題】
【0005】
しかしながら、特許文献1に記載の外部電極を備えた表面実装電子部品の場合、電子部品の小型化に伴う外部電極の表面縮小により、外部電極と基板との密着性が低下して機械的信頼性が低下することが分かった。
特に、コイル部品において、実装時の半田フィレットが磁性基体の表面に濡れ上がることによって密着性が低下する。
【0006】
上記事情に鑑み、本発明は、コイル部品と基板との密着性を向上させて高密度実装を可能とすることを目的とする。
【課題を解決するための手段】
【0007】
上記課題を解決するために、本発明の一態様に係るコイル部品は、金属磁性粒子を含み、外面として、互いに隣り合う第1面および第2面を有し、上記第1面と上記第2面との間に延びる第1稜線を有する磁性基体と、上記磁性基体の内部又は表面に設けられる導体と、上記磁性基体の表面に設けられ、上記第1稜線を経て上記第1面から上記第2面に亘り設けられる絶縁層と、上記導体と電気的に接続され、上記第1稜線から離隔し、上記第1面に設けられる外部電極と、を備える。
【0008】
本発明の一態様に係るコイル部品によれば、上記第1面に垂直な方向において、上記第1面から上記外部電極の最遠位置までの距離は、上記第1面から上記絶縁層の最遠位置までの距離よりも大きい。
本発明の一態様に係るコイル部品によれば、上記第1面に垂直な方向において、上記絶縁層の上記最遠位置と上記外部電極の上記最遠位置との距離は、上記第1面から上記絶縁層の上記最遠位置までの距離より小さい。
【0009】
本発明の一態様に係るコイル部品によれば、上記絶縁層が上記第2面を覆う。
本発明の一態様に係るコイル部品によれば、上記絶縁層は、樹脂およびセラミック粒子からなる。
本発明の一態様に係るコイル部品によれば、上記外部電極は、下地電極層と、下地電極層の外側に設けられるめっき層とを有し、上記めっき層は上記絶縁層と接している。
【0010】
本発明の一態様に係るコイル部品によれば、上記下地電極層の外周の一部が絶縁層で覆われ、上記めっき層は上記下地電極層の外周より内側に設けられる。
本発明の一態様に係るコイル部品によれば、上記下地電極層は、上記第1面と同一の面、または上記第1面より窪んでいる位置に平面部を有する。
本発明の一態様に係る実装基板は、上記コイル部品と、上記外部電極が半田付けされるランドを有する基板と、上記ランドと上記外部電極との間をつなぎ、上記第2面から離隔してフィレットを形成する半田と、を備える。
また、本発明の一態様に係る実装基板は、上記コイル部品と、上記外部電極が半田付けされるランドを有する基板と、上記ランドと上記外部電極との間をつなぎ、上記第2面から離隔してフィレットを形成する半田と、を備える。
【発明の効果】
(【0011】以降は省略されています)
この特許をJ-PlatPat(特許庁公式サイト)で参照する
関連特許
太陽誘電株式会社
表示装置
13日前
太陽誘電株式会社
コイル部品
27日前
太陽誘電株式会社
コイル部品
28日前
太陽誘電株式会社
コイル部品
23日前
太陽誘電株式会社
コイル部品
27日前
太陽誘電株式会社
生体情報測定装置
27日前
太陽誘電株式会社
セラミック電子部品
27日前
太陽誘電株式会社
グルコース濃度推定装置
28日前
太陽誘電株式会社
積層セラミック電子部品
27日前
太陽誘電株式会社
積層セラミック電子部品
23日前
太陽誘電株式会社
積層セラミック電子部品
29日前
太陽誘電株式会社
センサ装置および取付方法
28日前
太陽誘電株式会社
積層セラミックコンデンサ
28日前
太陽誘電株式会社
コイル部品および実装基板
28日前
太陽誘電株式会社
フィルタ及びマルチプレクサ
29日前
太陽誘電株式会社
血圧測定装置および血圧測定方法
28日前
太陽誘電株式会社
コイル部品、コイル部品の製造方法
27日前
太陽誘電株式会社
コイル部品、コイル部品の製造方法
27日前
太陽誘電株式会社
コイル部品及びコイル部品の製造方法
27日前
太陽誘電株式会社
積層セラミックコンデンサ及び回路基板
28日前
太陽誘電株式会社
積層セラミックコンデンサ及び回路基板
1か月前
太陽誘電株式会社
積層セラミックコンデンサ及び回路基板
15日前
太陽誘電株式会社
積層セラミック電子部品及びその製造方法
27日前
太陽誘電株式会社
磁性基体及び磁性基体を備えるコイル部品
27日前
太陽誘電株式会社
積層セラミック電子部品およびその製造方法
28日前
太陽誘電株式会社
積層セラミック電子部品およびその製造方法
27日前
太陽誘電株式会社
積層セラミック電子部品およびその製造方法
27日前
太陽誘電株式会社
弾性波デバイス、フィルタ、及びマルチプレクサ
1か月前
太陽誘電株式会社
位置情報システム、情報処理装置及び情報処理方法
29日前
太陽誘電株式会社
心拍検出システム、心拍検出方法およびプログラム
27日前
太陽誘電株式会社
積層セラミック電子部品、積層セラミック電子部品の製造方法
27日前
太陽誘電株式会社
積層セラミック電子部品、積層セラミック電子部品の製造方法
27日前
太陽誘電株式会社
積層セラミック電子部品、及び積層セラミック電子部品の製造方法
27日前
太陽誘電株式会社
心拍検出装置、心拍検出システム、心拍検出方法およびプログラム
27日前
太陽誘電株式会社
心拍検出装置、心拍検出システム、心拍検出方法およびプログラム
27日前
太陽誘電株式会社
積層セラミック電子部品、及び積層セラミック電子部品の製造方法
1か月前
続きを見る
他の特許を見る