TOP
|
特許
|
意匠
|
商標
特許ウォッチ
Twitter
他の特許を見る
公開番号
2025153850
公報種別
公開特許公報(A)
公開日
2025-10-10
出願番号
2024056514
出願日
2024-03-29
発明の名称
コイル部品、コイル部品の製造方法
出願人
太陽誘電株式会社
代理人
個人
,
個人
主分類
H01F
27/255 20060101AFI20251002BHJP(基本的電気素子)
要約
【課題】繰り返し熱サイクルが加えられた場合でも、基体が破損することを防止できる、コイル部品を提供する。
【解決手段】金属磁性粒子および結合材を含有する基体と、
前記基体中に配置されたコイル導体と、を有し、
前記基体は、第1基体と、第2基体と、を有しており、
前記第1基体は、前記コイル導体と向かい合う第1面を有し、
前記第1面は、連続した平坦面である第1領域と、前記第1領域以外の第2領域と、を有し、
前記第2基体は、少なくとも前記第1基体の前記第2領域で前記第1基体と接続されており、
前記第1基体は、前記第2領域に凹部を有する、コイル部品。
【選択図】図2
特許請求の範囲
【請求項1】
金属磁性粒子および結合材を含有する基体と、
前記基体中に配置されたコイル導体と、を有し、
前記基体は、第1基体と、第2基体と、を有しており、
前記第1基体は、前記コイル導体と向かい合う第1面を有し、
前記第1面は、連続した平坦面である第1領域と、前記第1領域以外の第2領域と、を有し、
前記第2基体は、少なくとも前記第1基体の前記第2領域で前記第1基体と接続されており、
前記第1基体は、前記第2領域に凹部を有する、コイル部品。
続きを表示(約 1,100 文字)
【請求項2】
前記第1領域の位置を基準とした前記凹部の深さが、前記第1基体が有する前記金属磁性粒子である、第1金属磁性粒子、および前記第2基体が有する前記金属磁性粒子である、第2金属磁性粒子から選択された1種類以上の粒子の長軸径よりも長い、請求項1に記載のコイル部品。
【請求項3】
金属磁性粒子および結合材を含有する基体と、
前記基体中に配置されたコイル導体と、を有し、
前記基体は、第1基体と、第2基体と、を有しており、
前記第1基体は、前記コイル導体と向かい合う第1面を有し、
前記第1面は、連続した平坦面である第1領域と、前記第1領域以外の第2領域と、を有し、
前記第2基体は、少なくとも前記第1基体の前記第2領域で前記第1基体と接続されており、
前記第1基体の前記第2領域と、前記第2基体の前記第2領域と向かい合う面との間に遷移領域を有する、コイル部品。
【請求項4】
前記コイル導体の中心軸を通る断面において、
前記第1領域の長さが、前記断面における前記第1面に沿った前記基体の長さの80%以下である、請求項1から請求項3のいずれか1項に記載のコイル部品。
【請求項5】
連続した平坦面である第1領域と、前記第1領域以外の第2領域と、を備えた第1面を有する第1基体を形成する第1基体形成工程と、
前記第1基体の前記第1面の前記第1領域上にコイル導体を設置するコイル導体設置工程と、
前記第1基体の前記第1面、および前記コイル導体を覆うように第2基体を形成する第2基体形成工程と、を有し、
前記第1基体および前記第2基体は、金属磁性粒子および結合材を含有し、
前記第1基体は、前記第2領域に凹部を有し、前記第2基体形成工程では、前記凹部内にも前記第2基体が充填されるように前記第2基体を形成する、コイル部品の製造方法。
【請求項6】
連続した平坦面である第1領域と、前記第1領域以外の第2領域と、を備えた第1面を有する第1基体を形成する第1基体形成工程と、
前記第1基体の前記第1面の前記第1領域上にコイル導体を設置するコイル導体設置工程と、
前記第1基体の前記第1面、および前記コイル導体を覆うように第2基体を形成する第2基体形成工程と、を有し、
前記第1基体および前記第2基体は、金属磁性粒子および結合材を含有し、
前記第2基体形成工程では、前記第1基体の前記第2領域と、前記第2基体の前記第2領域と向かい合う面との間に遷移領域が形成されるように、前記第2基体を形成する、コイル部品の製造方法。
発明の詳細な説明
【技術分野】
【0001】
本開示は、コイル部品、コイル部品の製造方法に関する。
続きを表示(約 1,500 文字)
【背景技術】
【0002】
コイル部品は、様々な電子機器類に搭載されている。近年では、電子機器類について、小型化、高性能化が求められるようになっており、電子機器類に搭載されるコイル部品についても小型化、高性能化が求められている。
【0003】
電子機器類に搭載されるコイル部品として、コイル導体と、コイル導体を囲むように配置された基体と、を有し、基体としてメタルコンポジット型の基体を用いたコイル部品が従来から用いられている。例えば特許文献1には、コイルと、磁性コア材とを備えるコイル部品であって、磁性コア材の少なくとも一部が金属磁性複合材料の熱硬化体により構成されているコイル部品が開示されている。
【先行技術文献】
【特許文献】
【0004】
特開2020-202325号公報
【発明の概要】
【発明が解決しようとする課題】
【0005】
コイル部品が、コイル導体と、コイル導体を囲むように配置された基体とを有し、基体がメタルコンポジット型の基体の場合、コイル部品内でのコイル導体の位置精度を高めるためには、基体を複数段階に分けて製造することになる。このため、基体は複数の部材から構成され、複数の部材からなる基体は、製造過程で接合されることになる。
【0006】
一方、コイル部品を電子機器類に実装する際等、コイル部品に繰り返し熱サイクルが加えられる場合がある。このように、コイル部品に繰り返し熱サイクルが加えられると、コイル導体と、基体との熱膨張特性等の違いにより、コイル導体と、基体との間に隙間が生じる場合があった。そして、基体がメタルコンポジット型の基体の場合、上述のように基体が接合された複数の部材からなるため、接合部分での強度が弱く、上記隙間の程度によっては基体が破損する場合もあった。
【0007】
本開示は、繰り返し熱サイクルが加えられた場合でも、基体が破損することを防止できる、コイル部品を提供することを目的とする。
【課題を解決するための手段】
【0008】
本開示のコイル部品は、金属磁性粒子および結合材を含有する基体と、
前記基体中に配置されたコイル導体と、を有し、
前記基体は、第1基体と、第2基体と、を有しており、
前記第1基体は、前記コイル導体と向かい合う第1面を有し、
前記第1面は、連続した平坦面である第1領域と、前記第1領域以外の第2領域と、を有し、
前記第2基体は、少なくとも前記第1基体の前記第2領域で前記第1基体と接続されており、
前記第1基体は、前記第2領域に凹部を有する。
【発明の効果】
【0009】
本開示によれば、繰り返し熱サイクルが加えられた場合でも、基体が破損することを防止できる、コイル部品を提供することができる。
【図面の簡単な説明】
【0010】
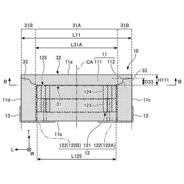
図1は、本開示の一態様に係るコイル部品の斜視図である。
図2は、図1のA-A線での断面図の一構成例である。
図3は、図2のB-B線での断面図である。
図4は、図1のA-A線での断面図の他の構成例である。
図5は、本開示の一態様に係るコイル部品の製造方法のフロー図である。
図6は、本開示の一態様に係るコイル部品の製造方法の第1基体形成工程の説明図である。
図7は、本開示の一態様に係るコイル部品の製造方法のコイル導体設置工程、第2基体形成工程、研磨工程の説明図である。
【発明を実施するための形態】
(【0011】以降は省略されています)
この特許をJ-PlatPat(特許庁公式サイト)で参照する
関連特許
太陽誘電株式会社
表示装置
15日前
太陽誘電株式会社
コイル部品
29日前
太陽誘電株式会社
全固体電池
1か月前
太陽誘電株式会社
コイル部品
1か月前
太陽誘電株式会社
導波路装置
1か月前
太陽誘電株式会社
コイル部品
25日前
太陽誘電株式会社
コイル部品
29日前
太陽誘電株式会社
生体情報測定装置
29日前
太陽誘電株式会社
セラミック電子部品
29日前
太陽誘電株式会社
積層セラミック電子部品
29日前
太陽誘電株式会社
グルコース濃度推定装置
1か月前
太陽誘電株式会社
積層セラミック電子部品
25日前
太陽誘電株式会社
積層セラミック電子部品
1か月前
太陽誘電株式会社
センサ装置および取付方法
1か月前
太陽誘電株式会社
積層セラミックコンデンサ
1か月前
太陽誘電株式会社
コイル部品および実装基板
1か月前
太陽誘電株式会社
導波路装置およびレーダ装置
1か月前
太陽誘電株式会社
フィルタ及びマルチプレクサ
1か月前
太陽誘電株式会社
血圧測定装置および血圧測定方法
1か月前
太陽誘電株式会社
コイル部品、コイル部品の製造方法
29日前
太陽誘電株式会社
コイル部品、コイル部品の製造方法
29日前
太陽誘電株式会社
バッテリパック及び車両の制御装置
1か月前
太陽誘電株式会社
コイル部品及びコイル部品の製造方法
29日前
太陽誘電株式会社
積層セラミックコンデンサ及び回路基板
1か月前
太陽誘電株式会社
積層セラミックコンデンサ及び回路基板
1か月前
太陽誘電株式会社
積層セラミックコンデンサ及び回路基板
17日前
太陽誘電株式会社
電子デバイス及び電子デバイスの製造方法
1日前
太陽誘電株式会社
磁性基体及び磁性基体を備えるコイル部品
29日前
太陽誘電株式会社
圧電トランスデューサおよび電気音響装置
1か月前
太陽誘電株式会社
積層セラミック電子部品及びその製造方法
29日前
太陽誘電株式会社
積層セラミック電子部品およびその製造方法
1か月前
太陽誘電株式会社
積層セラミック電子部品およびその製造方法
29日前
太陽誘電株式会社
積層セラミック電子部品およびその製造方法
29日前
太陽誘電株式会社
弾性波デバイスの製造方法及び弾性波デバイス
1日前
太陽誘電株式会社
弾性波デバイス及び弾性波デバイスの製造方法
1日前
太陽誘電株式会社
弾性波デバイスの製造方法及び弾性波デバイス
1日前
続きを見る
他の特許を見る