TOP
|
特許
|
意匠
|
商標
特許ウォッチ
Twitter
他の特許を見る
10個以上の画像は省略されています。
公開番号
2025153872
公報種別
公開特許公報(A)
公開日
2025-10-10
出願番号
2024056563
出願日
2024-03-29
発明の名称
生体情報測定装置
出願人
太陽誘電株式会社
代理人
個人
,
個人
主分類
A61B
5/145 20060101AFI20251002BHJP(医学または獣医学;衛生学)
要約
【課題】誘電体センサの検出部にかかる圧力として適切な圧力を検出することが可能な生体情報測定装置を提供する。
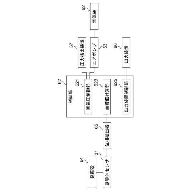
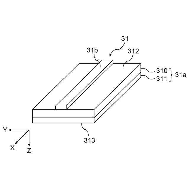
【解決手段】血糖値測定装置1は、センサ基板31aとその一方の面上に設けられた導電体からなる検出部31bと、他方の面に設けられた検出部31bの表面積よりも大きい表面積のグランド導体311とを有する誘電体センサ31、圧力検出部371aを有し、圧力検出部371aにかかる圧力を検出する圧力センサ371、誘電体センサ31にかかる圧力を圧力検出部371aに伝達する剛体から構成された圧力伝達部材35、および圧力検出部371aを圧力伝達部材35との間に挟んだ状態で支持する剛体の第1ベルト部21aとを備えるセンサ部7と、センサ部7が設けられるベルト2と、誘電体センサ31に押圧力を付与するエアポンプ63および空気袋52と、圧力センサ371で検出した圧力に基づいて押圧力を制御する制御部62とを備える。
【選択図】 図1
特許請求の範囲
【請求項1】
第1の面と前記第1の面の反対側の第2の面とを有し、誘電体を含む第1基板と、前記第1基板の前記第1の面上に設けられた第1導電体と、前記第1基板の前記第1導電体と離れた位置に設けられ、平面視で見たときに前記第1導電体の表面積よりも大きい表面積を有する第2導電体と、を有するセンサと、
検出部を有し、前記検出部にかかる圧力を検出する圧力センサと、
第3の面と前記第3の面とは反対側の第4の面とを有する剛体から構成され、前記第3の面が前記センサの前記第2の面と当接し、前記第4の面が前記検出部に当接する圧力伝達部材と、
前記検出部の前記圧力伝達部材と当接する側とは反対側の部分と当接する当接部を有し、前記検出部を支持する剛体の支持部材と、を備えるセンサ部と、
前記センサ部が設けられるベルトと、
前記ベルトに設けられ、前記センサに押圧力を付与する押圧部と、
前記圧力センサで検出した圧力に基づいて、前記押圧部の押圧力を制御する制御部と、
を備える生体情報測定装置。
続きを表示(約 1,000 文字)
【請求項2】
請求項1において、
前記制御部は、前記押圧力が前記センサで適切な生体情報を得られる所定の押圧力となるように前記押圧部の押圧力を制御する生体情報測定装置。
【請求項3】
請求項1において、
前記センサの前記第2の面と前記圧力伝達部材の前記第3の面との間に緩衝材を備える生体情報測定装置。
【請求項4】
請求項3において、
前記圧力伝達部材は、前記第3の面の外縁部上に前記緩衝材の前記第3の面側の端部を包囲するように形成された前記緩衝材の横方向の移動を阻止する阻止部を有する生体情報測定装置。
【請求項5】
請求項4において、
前記センサの前記第2の面と前記緩衝材との間に設けられた、前記緩衝材の前記第2の面と対向する側の面および前記第2の面側の端部の側面を覆う冠状の蓋部を備える生体情報測定装置。
【請求項6】
請求項1において、
前記押圧部は、装着状態において前記ベルトの前記センサの前記第1の面と対向する位置に設けられた空気袋と、前記空気袋に空気を供給する電動ポンプとを有し、前記電動ポンプで前記空気袋を膨張させることで前記第1の面に押圧力を間接的に付与するようになっており、
前記制御部は、前記圧力センサで検出した圧力に基づいて、前記電動ポンプの前記空気袋への空気の供給量を制御することで前記押圧力を制御する生体情報測定装置。
【請求項7】
請求項1において、
前記ベルトの少なくとも前記センサ部が取り付けられる一部を剛体とし、
前記支持部材は、前記ベルトの前記剛体の部分から構成される生体情報測定装置。
【請求項8】
請求項1において、
剛体の第2基板を備え、
前記圧力センサは、少なくとも前記検出部が前記第2基板上に設けられ、
前記支持部材は、前記第2基板から構成される生体情報測定装置。
【請求項9】
請求項1において、
前記圧力センサは、抵抗変化式の圧力センサまたは静電容量式の圧力センサである生体情報測定装置。
【請求項10】
請求項1において、
前記緩衝材は、スポンジ、バネまたはゴムから構成される生体情報測定装置。
(【請求項11】以降は省略されています)
発明の詳細な説明
【技術分野】
【0001】
本発明は、誘電体センサを用いて生体情報を測定する生体情報測定装置に関する。
続きを表示(約 3,000 文字)
【背景技術】
【0002】
従来、リストバンドやスマートウォッチなど人体に装着して使用するウェアラブルデバイスによって、非侵襲で血糖値などの生体情報を測定する技術が注目されている。
【0003】
特許文献1には、腕に装着して赤外光の反射を使用して精度良く生体の成分濃度(血糖値)を計測するために、赤外光源とセンサ、および腕との接触力を検出する接触力センサを備える。そして、接触力を判定値と比較し所定の範囲内にあるときの光強度データを用いて血糖値を演算する技術が開示されている。
【0004】
特許文献2には、光を用いた生体情報(血糖値)の測定精度の向上を図るため、本体ケースに内蔵した加圧機構により、被検者の測定部位である皮膚面を最適押圧力で押圧した状態で測定する技術が開示されている。かかる技術において、最適押圧力は、押圧力を変化させながらセンサモジュールを用いて検出した容積脈波の振幅が最大となるポイントとしている。さらに実施例では静脈認証技術を応用して血管を検出し、血管のある部分だけで血糖値計測を行う技術が開示されている。
【0005】
特許文献3には、脈波測定装置を手首に装着してエアポンプを駆動し、エアポンプが供給した空気を空気袋に流入させる。そして、空気圧が所定の圧力値になるまで空気袋を膨張させることで、脈波を正確に測定できる的確な位置で装着状態を維持する技術が開示されている。
【先行技術文献】
【特許文献】
【0006】
特開2015-198689号公報
特開2016-112042号公報
特開2009-066179号公報
【発明の概要】
【発明が解決しようとする課題】
【0007】
しかしながら、上記従来技術では、正確な測定位置を確保かつ維持するためや、脈波を正確に測定できるように皮膚面を押圧する最適圧力を測定するようになっており、脈波等を測定するセンサ自体にかかる圧力については特に言及していない。誘電率を検出する誘電体センサは、導電性の検出部と皮膚との接触状態によって誘電率の変動が起こる。特に検出部にかかる圧力によって測定結果が変化してしまうため、上記従来技術の圧力の検出方法では検出部にかかる圧力として適切な圧力を検出することはできなかった。
本発明は上記課題に鑑みなされたものであり、誘電体センサの検出部にかかる圧力として適切な圧力を検出することが可能な構造を有する生体情報測定装置を提供することを目的とする。
【課題を解決するための手段】
【0008】
本発明は、第1の面と前記第1の面の反対側の第2の面とを有し、誘電体を含む第1基板と、前記第1基板の前記第1の面上に設けられた第1導電体と、前記第1基板の前記第1導電体と離れた位置に設けられ、平面視で見たときに前記第1導電体の表面積よりも大きい表面積を有する第2導電体と、を有するセンサと、検出部を有し、前記検出部にかかる圧力を検出する圧力センサと、第3の面と前記第3の面とは反対側の第4の面とを有する剛体から構成され、前記第3の面が前記センサの前記第2の面と当接し、前記第4の面が前記圧力センサの前記検出部に当接する圧力伝達部材と、前記検出部の前記圧力伝達部材と当接する側とは反対側の部分と当接する当接部を有し、前記検出部を支持する剛体の支持部材と、を備えるセンサ部と、前記センサ部が設けられるベルトと、前記ベルトに設けられ、前記センサに押圧力を付与する押圧部と、前記圧力センサで検出した圧力に基づいて、前記押圧部の押圧力を制御する制御部と、を備える生体情報測定装置である。
上記構成において、前記制御部は、前記押圧力が前記センサで適切な生体情報を得られる所定の押圧力となるように前記押圧部の押圧力を制御する構成としてもよい。
上記構成において、前記センサの前記第2の面と前記圧力伝達部材の前記第3の面との間に緩衝材を備える構成としてもよい。
上記構成において、前記圧力伝達部材は、前記第3の面の外縁部上に前記緩衝材の前記第3の面側の端部を包囲するように形成された前記緩衝材の横方向の移動を阻止する阻止部を有する構成としてもよい。
上記構成において、前記センサの前記第2の面と前記緩衝材との間に設けられた、前記緩衝材の前記第2の面と対向する側の面および前記第2の面側の端部の側面を覆う冠状の蓋部を備える構成としてもよい。
【0009】
上記構成において、前記押圧部は、装着状態において前記ベルトの前記センサの前記第1の面と対向する位置に設けられた空気袋と、前記空気袋に空気を供給する電動ポンプとを有し、前記電動ポンプで前記空気袋を膨張させることで前記第1の面に押圧力を間接的に付与するようになっており、前記制御部は、前記圧力センサで検出した圧力に基づいて、前記電動ポンプの前記空気袋への空気の供給量を制御する構成としてもよい。
上記構成において、前記ベルトの少なくとも前記センサ部が取り付けられる一部を剛体とし、前記支持部材は、前記ベルトの前記剛体の部分から構成してもよい。
上記構成において、剛体の第2基板を備え、前記圧力センサは、少なくとも前記検出部が前記第2基板上に設けられ、前記支持部材は、前記第2基板から構成してもよい。
上記構成において、前記圧力センサは、抵抗変化式の圧力センサまたは静電容量式の圧力センサから構成してもよい。
上記構成において、前記緩衝材は、スポンジ、バネまたはゴムから構成してもよい。
上記構成において、前記センサは、前記第1導電体を流れる信号の変化に基づいて対象者の皮膚の誘電率を検出する構成としてもよい。
上記構成において、前記制御部は、前記センサで検出した前記誘電率に基づいて前記対象者の生体情報を演算する構成としてもよい。
上記構成において、前記制御部で演算した前記生体情報を出力する出力装置を備える構成としてもよい。
上記構成において、剛体の第2基板を備え、前記センサを駆動する回路、前記センサの出力を処理する回路、前記圧力センサ、前記圧力センサを駆動する回路、前記圧力センサの出力を処理する回路のうちいずれか1または複数を含む部品が、前記第2基板上に設けられ、前記支持部材は、前記第2基板から構成してもよい。
【0010】
本発明は、誘電体を含む基板と、前記基板の一方の面上に設けられた第1導電体と、前記基板の前記第1導電体と離れた位置に設けられ、平面視で見たときに前記第1導電体の表面積よりも大きい表面積を有する第2導電体と、を有するセンサと、検出部を有し、前記検出部にかかる圧力を検出する圧力センサと、前記センサにかかる圧力を前記検出部に伝達する剛体から構成された圧力伝達部材と、前記検出部を前記圧力伝達部材との間に挟んだ状態で支持する剛体の支持部材と、を備えるセンサ部と、前記センサ部が設けられるベルトと、前記ベルトに設けられ、前記センサに押圧力を付与する押圧部と、前記圧力センサで検出した圧力に基づいて、前記押圧部の押圧力を制御する制御部と、を備える生体情報測定装置である。
(【0011】以降は省略されています)
この特許をJ-PlatPat(特許庁公式サイト)で参照する
関連特許
太陽誘電株式会社
表示装置
1か月前
太陽誘電株式会社
コイル部品
1か月前
太陽誘電株式会社
コイル部品
2か月前
太陽誘電株式会社
コイル部品
2か月前
太陽誘電株式会社
コイル部品
2か月前
太陽誘電株式会社
生体情報測定装置
2か月前
太陽誘電株式会社
セラミック電子部品
2か月前
太陽誘電株式会社
グルコース濃度推定装置
2か月前
太陽誘電株式会社
積層セラミック電子部品
2か月前
太陽誘電株式会社
積層セラミック電子部品
1か月前
太陽誘電株式会社
センサ装置および取付方法
2か月前
太陽誘電株式会社
コイル部品および実装基板
2か月前
太陽誘電株式会社
積層セラミックコンデンサ
2か月前
太陽誘電株式会社
血圧測定装置および血圧測定方法
2か月前
太陽誘電株式会社
コイル部品、コイル部品の製造方法
2か月前
太陽誘電株式会社
コイル部品、コイル部品の製造方法
2か月前
太陽誘電株式会社
コイル部品及びコイル部品の製造方法
2か月前
太陽誘電株式会社
積層セラミックコンデンサ及び回路基板
12日前
太陽誘電株式会社
積層セラミックコンデンサ及び回路基板
1か月前
太陽誘電株式会社
電子デバイス及び電子デバイスの製造方法
1か月前
太陽誘電株式会社
磁性基体及び磁性基体を備えるコイル部品
2か月前
太陽誘電株式会社
積層セラミック電子部品及びその製造方法
2か月前
太陽誘電株式会社
積層セラミック電子部品およびその製造方法
2か月前
太陽誘電株式会社
積層セラミック電子部品およびその製造方法
2か月前
太陽誘電株式会社
積層セラミック電子部品およびその製造方法
2か月前
太陽誘電株式会社
弾性波デバイスの製造方法及び弾性波デバイス
1か月前
太陽誘電株式会社
弾性波デバイスの製造方法及び弾性波デバイス
1か月前
太陽誘電株式会社
弾性波デバイス及び弾性波デバイスの製造方法
1か月前
太陽誘電株式会社
弾性波デバイス、フィルタ、及びマルチプレクサ
1か月前
太陽誘電株式会社
心拍検出システム、心拍検出方法およびプログラム
2か月前
太陽誘電株式会社
非粘着性の機能膜を備える構造体及び当該構造体の製造方法
28日前
太陽誘電株式会社
積層セラミック電子部品、積層セラミック電子部品の製造方法
2か月前
太陽誘電株式会社
積層セラミック電子部品、積層セラミック電子部品の製造方法
2か月前
太陽誘電株式会社
積層セラミック電子部品、及び積層セラミック電子部品の製造方法
2か月前
太陽誘電株式会社
心拍検出装置、心拍検出システム、心拍検出方法およびプログラム
2か月前
太陽誘電株式会社
心拍検出装置、心拍検出システム、心拍検出方法およびプログラム
2か月前
続きを見る
他の特許を見る