TOP
|
特許
|
意匠
|
商標
特許ウォッチ
Twitter
他の特許を見る
10個以上の画像は省略されています。
公開番号
2025150020
公報種別
公開特許公報(A)
公開日
2025-10-09
出願番号
2024050663
出願日
2024-03-27
発明の名称
積層セラミックコンデンサ及び回路基板
出願人
太陽誘電株式会社
代理人
弁理士法人片山特許事務所
主分類
H01G
4/30 20060101AFI20251002BHJP(基本的電気素子)
要約
【課題】積層体内部で電極間を貫通するビア導体構造を有し、ビアと電極との界面に剥離が生じて接続が途切れることによる静電容量の低下が抑制された薄型の積層セラミックコンデンサ及び該積層セラミックコンデンサが搭載された回路基板を提供する。
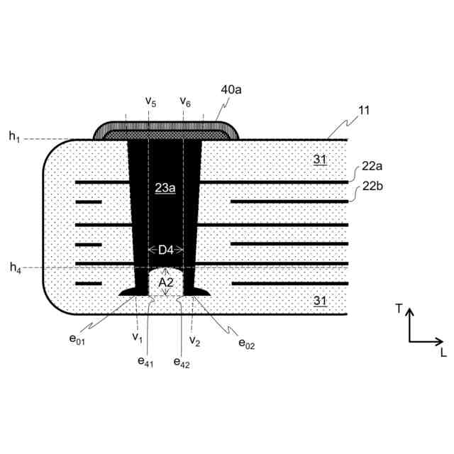
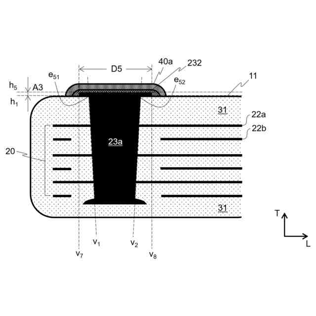
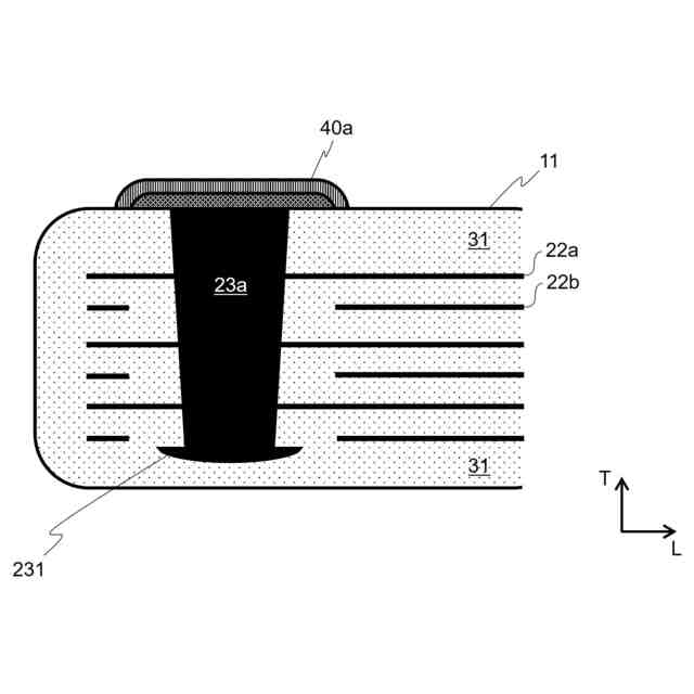
【解決手段】積層セラミックコンデンサ100は、セラミック層21と内部電極22(22a、22b)とが交互に積層された積層体20、その表面を覆う保護部30及び複数のビア導体23a、23bを有する直方体状の素体10並びに表面に達するビア導体の端部と電気的に接続され素体の表面に配置された複数の端子電極40a、40bを備え、ビア導体の保護部中に位置する端部が、ビア導体の軸に対して外側に張り出すフランジ231を形成している。
【選択図】図2
特許請求の範囲
【請求項1】
セラミックで形成されたセラミック層と金属を主成分とする内部電極とが交互に積層された積層体、
前記積層体の表面を覆う保護部、及び
前記積層体の積層方向に前記セラミック層を貫通して配置され、前記内部電極に電気的に接続されると共に、一端が前記保護部の表面にまで達し、他端が前記保護部中に位置する複数のビア導体
を有する直方体状の素体、並びに
前記素体の表面に配置され、前記ビア導体のそれぞれにおける、前記保護部の表面に達する端部と電気的に接続された、複数の端子電極
を備え、
前記ビア導体の前記保護部中に位置する端部が、該ビア導体の軸に対して外側に張り出すフランジを形成している
積層セラミックコンデンサ。
続きを表示(約 680 文字)
【請求項2】
前記ビア導体は、積層方向に平行な断面において、前記保護部の表面位置での積層方向に垂直な方向の寸法をD1とし、積層体に対して該保護部とは反対側に位置する保護部中での、積層方向に垂直な方向の最小寸法をD2としたとき、D1>D2を満たすと共に、積層方向に垂直な方向の寸法が、D1からD2に達するまで単調減少する、請求項1に記載の積層セラミックコンデンサ。
【請求項3】
前記ビア導体は、積層方向に平行な断面において、保護部中に位置する端部が形成するフランジの積層方向に垂直な方向の寸法をD3としたとき、D3≧D1を満たす、請求項2に記載の積層セラミックコンデンサ。
【請求項4】
前記ビア導体は、前記フランジの積層方向の寸法A1が、0.1μm以上10μm以下である、請求項1に記載の積層セラミックコンデンサ。
【請求項5】
前記ビア導体には、前記保護部中に位置する端部に開口する空洞が形成されている、請求項1に記載の積層セラミックコンデンサ。
【請求項6】
前記ビア導体は、前記保護部の表面に達する端部が、該保護部の表面位置を超えて積層方向に突出すると共に、該ビア導体の軸に対して外側に張り出すフランジを形成している、請求項1に記載の積層セラミックコンデンサ。
【請求項7】
積層方向の寸法が100μm以下である、請求項1に記載の積層セラミックコンデンサ。
【請求項8】
請求項1から7のいずれか1項に記載の積層セラミックコンデンサが搭載された回路基板。
発明の詳細な説明
【技術分野】
【0001】
本発明は、積層セラミックコンデンサ及び回路基板に関する。
続きを表示(約 1,600 文字)
【背景技術】
【0002】
携帯電話を代表とする高周波通信システムでは、多種多様なセラミック電子部品が使用されている。こうしたセラミック電子部品には、小型化・薄型化が求められており、積層セラミックコンデンサにおいても、小型化・薄型化が検討されている。
【0003】
特許文献1には、ESL特性及び充填率を向上させるとともに、デラミネーションを減少させることができる積層セラミックキャパシタが開示されている。特許文献1では、積層セラミックキャパシタの本体を貫通する貫通電極を、断面が台形状であるテーパーを含むものとすることで、外力によるカバーの押され現象を改善して、ESL特性を向上させることができるとされている。また、特許文献1では、貫通電極の直径を調節することにより、ビアのペースト充填性を改善させて、充填率を向上させることができるとされている。
【先行技術文献】
【特許文献】
【0004】
特開2021-13008号公報
【発明の概要】
【発明が解決しようとする課題】
【0005】
特許文献1では、貫通電極(ビア導体)が、下端から上端に至るまで、その径が単調増加する形状となっている。ビア導体がこのような形状を有する積層セラミックコンデンサでは、ビア導体とセラミック層との界面、及びビア導体と内部電極との界面での剥離、及び該剥離によってビア導体と内部電極との間の接続が途切れることによる静電容量の低下が抑制される。しかし、さらなる剥離の抑制と静電容量の低下抑制とが求められている。
【0006】
また、特許文献1とは異なり、外部電極(端子電極)が、第1主面又は第2主面のいずれか一方にのみ形成された積層セラミックコンデンサでは、製造時の焼成において、ビア導体と端子電極との収縮挙動が異なることに起因する応力により、ビア導体と内部電極との界面に剥離が生じ、両者の接続が途切れて静電容量の低下が起こりやすいことが問題であった。
【0007】
本発明は、上記問題を解決するためになされたものであり、静電容量の低下が抑制された薄型の積層セラミックコンデンサ、及び該積層セラミックコンデンサが搭載された回路基板を提供することを目的とする。
【課題を解決するための手段】
【0008】
本発明者は、前述の問題を解決するために種々の検討を行なったところ、内部電極同士がビア導体を介して電気的に接続された積層セラミックコンデンサにおいて、ビア導体を、一端が保護部の表面にまで達する一方、他端は保護部中に位置するものとし、かつ保護部中に位置する端部に、ビア導体の軸に対して外側に張り出すフランジを形成することで、上記目的が達成できることを見出し、本発明を完成するに至った。
【0009】
すなわち、前記課題を解決するための本発明の第1の側面は、セラミックで形成されたセラミック層と金属を主成分とする内部電極とが交互に積層された積層体、前記積層体の表面を覆う保護部、及び前記積層体の積層方向に前記セラミック層を貫通して配置され、前記内部電極に電気的に接続されると共に、一端が前記保護部の表面にまで達し、他端が前記保護部中に位置する複数のビア導体を有する直方体状の素体、並びに前記素体の表面に配置され、前記ビア導体のそれぞれにおける、前記保護部の表面に達する端部と電気的に接続された、複数の端子電極を備え、前記ビア導体の前記保護部中に位置する端部が、該ビア導体の軸に対して外側に張り出すフランジを形成している積層セラミックコンデンサである。
【0010】
また、前記課題を解決するための本発明の第2の側面は、前記第1の側面に係る積層セラミックコンデンサが搭載された回路基板である。
【発明の効果】
(【0011】以降は省略されています)
この特許をJ-PlatPat(特許庁公式サイト)で参照する
関連特許
太陽誘電株式会社
表示装置
1か月前
太陽誘電株式会社
コイル部品
1か月前
太陽誘電株式会社
コイル部品
1か月前
太陽誘電株式会社
コイル部品
1か月前
太陽誘電株式会社
コイル部品
1か月前
太陽誘電株式会社
生体情報測定装置
1か月前
太陽誘電株式会社
セラミック電子部品
1か月前
太陽誘電株式会社
グルコース濃度推定装置
1か月前
太陽誘電株式会社
積層セラミック電子部品
1か月前
太陽誘電株式会社
積層セラミック電子部品
1か月前
太陽誘電株式会社
積層セラミック電子部品
1か月前
太陽誘電株式会社
センサ装置および取付方法
1か月前
太陽誘電株式会社
積層セラミックコンデンサ
1か月前
太陽誘電株式会社
コイル部品および実装基板
1か月前
太陽誘電株式会社
フィルタ及びマルチプレクサ
1か月前
太陽誘電株式会社
血圧測定装置および血圧測定方法
1か月前
太陽誘電株式会社
コイル部品、コイル部品の製造方法
1か月前
太陽誘電株式会社
コイル部品、コイル部品の製造方法
1か月前
太陽誘電株式会社
コイル部品及びコイル部品の製造方法
1か月前
太陽誘電株式会社
積層セラミックコンデンサ及び回路基板
1か月前
太陽誘電株式会社
積層セラミックコンデンサ及び回路基板
2日前
太陽誘電株式会社
積層セラミックコンデンサ及び回路基板
1か月前
太陽誘電株式会社
積層セラミックコンデンサ及び回路基板
1か月前
太陽誘電株式会社
磁性基体及び磁性基体を備えるコイル部品
1か月前
太陽誘電株式会社
電子デバイス及び電子デバイスの製造方法
23日前
太陽誘電株式会社
積層セラミック電子部品及びその製造方法
1か月前
太陽誘電株式会社
積層セラミック電子部品およびその製造方法
1か月前
太陽誘電株式会社
積層セラミック電子部品およびその製造方法
1か月前
太陽誘電株式会社
積層セラミック電子部品およびその製造方法
1か月前
太陽誘電株式会社
弾性波デバイスの製造方法及び弾性波デバイス
23日前
太陽誘電株式会社
弾性波デバイス及び弾性波デバイスの製造方法
23日前
太陽誘電株式会社
弾性波デバイスの製造方法及び弾性波デバイス
23日前
太陽誘電株式会社
弾性波デバイス、フィルタ、及びマルチプレクサ
23日前
太陽誘電株式会社
心拍検出システム、心拍検出方法およびプログラム
1か月前
太陽誘電株式会社
位置情報システム、情報処理装置及び情報処理方法
1か月前
太陽誘電株式会社
非粘着性の機能膜を備える構造体及び当該構造体の製造方法
18日前
続きを見る
他の特許を見る