TOP
|
特許
|
意匠
|
商標
特許ウォッチ
Twitter
他の特許を見る
10個以上の画像は省略されています。
公開番号
2025153781
公報種別
公開特許公報(A)
公開日
2025-10-10
出願番号
2024056414
出願日
2024-03-29
発明の名称
積層セラミック電子部品およびその製造方法
出願人
太陽誘電株式会社
代理人
個人
主分類
H01G
4/30 20060101AFI20251002BHJP(基本的電気素子)
要約
【課題】誘電率の低下を抑制するとともに、絶縁破壊に対する耐性を向上することができる積層セラミック電子部品を提供する。
【解決手段】積層セラミック電子部品は、内部電極とセラミックが主成分の誘電体層とが交互に第1方向に積層され、第1方向で第1及び第2内部電極が交互に設けられ、第1内部電極が露出する第1端面と、第2内部電極が露出し第1端面に第2方向で対向する第2端面と、を有する素体と、第1及び第2端面から露出する第1及び第2内部電極に接触する一対の外部電極と、を備え、第1及び第2内部電極が重なる容量領域の1つの誘電体層を、第1内部電極に接する第1領域と第2内部電極に接する第2領域とに、等間隔に仮想的に2分割したとき、第1領域のセラミック粒子の粒径は第2領域のセラミック粒子の粒径より小さい。
【選択図】図13
特許請求の範囲
【請求項1】
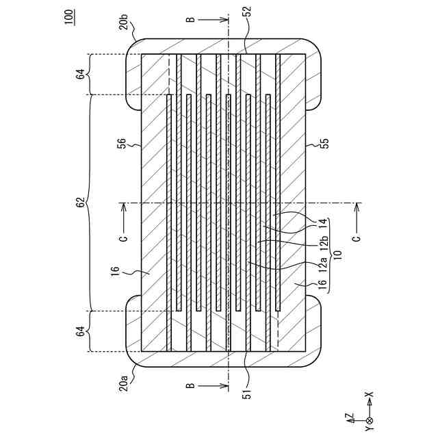
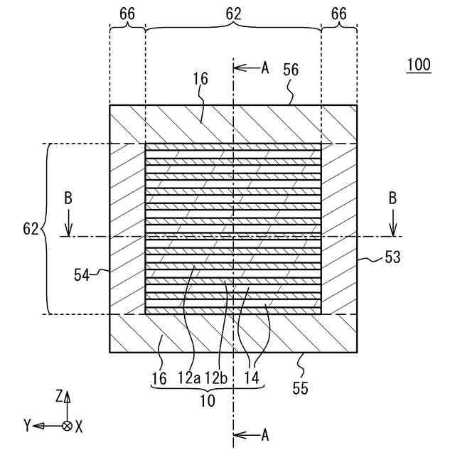
複数の内部電極とセラミックを主成分とする複数の誘電体層とが交互に第1方向に積層され、前記第1方向において前記複数の内部電極は第1内部電極と第2内部電極とが交互に設けられ、前記第1内部電極が露出する第1端面と、前記第2内部電極が露出し前記第1端面に第2方向において対向する第2端面と、を有する素体と、
前記第1端面および前記第2端面からそれぞれ露出する前記第1内部電極および前記第2内部電極に、それぞれ接触する一対の外部電極と、
を備え、
前記第1方向から見て前記素体の前記第2方向における中央部であって前記第1内部電極と前記第2内部電極とが重なる容量領域における1つの誘電体層を、前記第1内部電極に接する第1領域と前記第2内部電極に接する第2領域とに、等間隔に仮想的に2分割したとき、前記第1領域内におけるセラミック粒子の第1粒径は、前記第2領域内におけるセラミック粒子の第2粒径より小さい積層セラミック電子部品。
続きを表示(約 2,300 文字)
【請求項2】
前記第1粒径は、前記第2粒径の0.8倍以下である請求項1に記載の積層セラミック電子部品。
【請求項3】
前記第1内部電極に隣接せずかつ前記第1内部電極に隣接するセラミック粒子に隣接するセラミック粒子の第3粒径は、前記第2内部電極に隣接せずかつ前記第2内部電極に隣接するセラミック粒子に隣接するセラミック粒子の第4粒径より小さい請求項1または2に記載の積層セラミック電子部品。
【請求項4】
前記第3粒径は、前記第4粒径の0.8倍以下である請求項3に記載の積層セラミック電子部品。
【請求項5】
前記第1領域におけるセラミックの主成分元素に対する希土類元素のモル比は、前記第2領域における前記主成分元素に対する希土類元素のモル比より高い請求項1または2に記載の積層セラミック電子部品。
【請求項6】
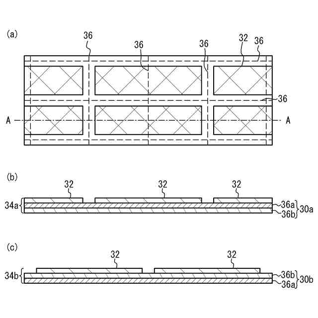
第1粒径を有する第1セラミック粒子を含む第1層と、前記第1粒径より大きい第2粒径を有する第2セラミック粒子を含む第2層と、が第1方向に設けられたグリーンシートの前記第1層上に接する金属パターンを形成することで第1積層シートを形成する工程と、
前記グリーンシートの前記第2層上に接する前記金属パターンを形成することで第2積層シートを形成する工程と、
前記第1積層シートと前記第2積層シートとを前記第1方向に交互に積層することで素体を形成する工程と、
前記素体を焼成することで、第2方向に対向する第1端面および第2端面からそれぞれ露出する第1内部電極および第2内部電極を前記金属パターンから形成し、複数の誘電体層を前記グリーンシートから形成する工程と、
前記第1端面および前記第2端面からそれぞれ露出する前記第1内部電極および前記第2内部電極に、それぞれ接触する一対の外部電極を形成する工程と、
を含む積層セラミック電子部品の製造方法。
【請求項7】
第1層と、前記第1層よりセラミックの主成分元素に対するマグネシウムのモル比が低い第2層と、が第1方向に設けられたグリーンシートの前記第1層上に接する金属パターンを形成することで第1積層シートを形成する工程と、
前記グリーンシートの前記第2層上に接する前記金属パターンを形成することで第2積層シートを形成する工程と、
前記第1積層シートと前記第2積層シートとを前記第1方向に交互に積層することで素体を形成する工程と、
前記素体を焼成することで、第2方向に対向する第1端面および第2端面からそれぞれ露出する第1内部電極および第2内部電極を前記金属パターンから形成し、複数の誘電体層を前記グリーンシートから形成する工程と、
前記第1端面および前記第2端面からそれぞれ露出する前記第1内部電極および前記第2内部電極に、それぞれ接触する一対の外部電極を形成する工程と、
を含む積層セラミック電子部品の製造方法。
【請求項8】
グリーンシート上に、第1金属パターンを形成することで第1積層シートを形成する工程と、
前記グリーンシート上に、前記第1金属パターンより主成分元素に対するリンのモル比が低い第2金属パターンを形成することで第2積層シートを形成する工程と、
前記第1積層シートと前記第2積層シートとを第1方向に交互に積層することで素体を形成する工程と、
前記素体を焼成することで、第2方向に対向する第1端面および第2端面からそれぞれ露出する第1内部電極および第2内部電極を前記第1金属パターンおよび前記第2金属パターンからそれぞれ形成し、複数の誘電体層を前記グリーンシートから形成する工程と、
前記第1端面および前記第2端面からそれぞれ露出する前記第1内部電極および前記第2内部電極に、それぞれ接触する一対の外部電極を形成する工程と、
を含む積層セラミック電子部品の製造方法。
【請求項9】
グリーンシート上に、第1金属パターンを形成することで第1積層シートを形成する工程と、
前記グリーンシート上に、前記第1金属パターンより主成分元素に対するマグネシウムのモル比が低い第2金属パターンを形成することで第2積層シートを形成する工程と、
前記第1積層シートと前記第2積層シートとを第1方向に交互に積層することで素体を形成する工程と、
前記素体を焼成することで、第2方向に対向する第1端面および第2端面からそれぞれ露出する第1内部電極および第2内部電極を前記第1金属パターンおよび前記第2金属パターンからそれぞれ形成し、複数の誘電体層を前記グリーンシートから形成する工程と、
前記第1端面および前記第2端面からそれぞれ露出する前記第1内部電極および前記第2内部電極に、それぞれ接触する一対の外部電極を形成する工程と、
を含む積層セラミック電子部品の製造方法。
【請求項10】
前記素体を焼成した後において、
前記第1方向から見て前記素体の前記第2方向における中央部であって前記第1内部電極と前記第2内部電極とが重なる容量領域における1つの前記誘電体層を、前記第1内部電極に接する第1領域と前記第2内部電極に接する第2領域とに、等間隔に仮想的に2分割したとき、前記第1領域におけるセラミック粒子の粒径は、前記第2領域内におけるセラミック粒子の粒径より小さい請求項6から9のいずれか一項に記載の積層セラミック電子部品の製造方法。
発明の詳細な説明
【技術分野】
【0001】
本発明は、積層セラミック電子部品およびその製造方法に関する。
続きを表示(約 1,300 文字)
【背景技術】
【0002】
内部電極と誘電体層を積層した積層セラミックコンデンサなどの積層セラミック電子部品において、絶縁破壊に対する耐性を向上するため、誘電体層における内部電極側の両端部のセラミック粒子の粒径を誘電体層における中央部のセラミック粒子の粒径より小さくすることが知られている(例えば、特許文献1)。
【先行技術文献】
【特許文献】
【0003】
特開2014-35384号公報
【発明の概要】
【発明が解決しようとする課題】
【0004】
しかし、特許文献1の技術のように、小粒径のセラミック粒子を用いると、誘電率が低下することにより所望の静電容量が得られないおそれがある。また、積層セラミックコンデンサは、使用条件によっては高電圧側または低電圧側に偏った位置を起点として絶縁破壊が生ずることがある。
【0005】
本発明は、上記課題に鑑みなされたものであり、誘電率の低下を抑制するとともに、絶縁破壊に対する耐性を向上することができる積層セラミック電子部品およびその製造方法を提供することを目的とする。
【課題を解決するための手段】
【0006】
本発明は、複数の内部電極とセラミックを主成分とする複数の誘電体層とが交互に第1方向に積層され、前記第1方向において前記複数の内部電極は第1内部電極と第2内部電極とが交互に設けられ、前記第1内部電極が露出する第1端面と、前記第2内部電極が露出し前記第1端面に第2方向において対向する第2端面と、を有する素体と、前記第1端面および前記第2端面からそれぞれ露出する前記第1内部電極および前記第2内部電極に、それぞれ接触する一対の外部電極と、を備え、前記第1方向から見て前記素体の前記第2方向における中央部であって前記第1内部電極と前記第2内部電極とが重なる容量領域における1つの誘電体層を、前記第1内部電極に接する第1領域と前記第2内部電極に接する第2領域とに、等間隔に仮想的に2分割したとき、前記第1領域におけるセラミック粒子の第1粒径は、前記第2領域内におけるセラミック粒子の第2粒径より小さい積層セラミック電子部品である。
【0007】
上記構成において、前記第1粒径は、前記第2粒径の0.8倍以下である構成とすることができる。
【0008】
上記構成において、前記第1内部電極に隣接せずかつ前記第1内部電極に隣接するセラミック粒子に隣接するセラミック粒子の第3粒径は、前記第2内部電極に隣接せずかつ前記第2内部電極に隣接するセラミック粒子に隣接するセラミック粒子の第4粒径より小さい構成とすることができる。
【0009】
上記構成において、前記第3粒径は、前記第4粒径の0.8倍以下である構成とすることができる。
【0010】
上記構成において、前記第1領域におけるセラミックの主成分元素に対する希土類元素のモル比は、前記第2領域における前記主成分元素に対する希土類元素のモル比より高い構成とすることができる。
(【0011】以降は省略されています)
この特許をJ-PlatPat(特許庁公式サイト)で参照する
関連特許
太陽誘電株式会社
表示装置
11日前
太陽誘電株式会社
コイル部品
25日前
太陽誘電株式会社
コイル部品
25日前
太陽誘電株式会社
コイル部品
21日前
太陽誘電株式会社
生体情報測定装置
25日前
太陽誘電株式会社
セラミック電子部品
25日前
太陽誘電株式会社
積層セラミック電子部品
25日前
太陽誘電株式会社
積層セラミック電子部品
21日前
太陽誘電株式会社
コイル部品、コイル部品の製造方法
25日前
太陽誘電株式会社
コイル部品、コイル部品の製造方法
25日前
太陽誘電株式会社
コイル部品及びコイル部品の製造方法
25日前
太陽誘電株式会社
積層セラミックコンデンサ及び回路基板
13日前
太陽誘電株式会社
積層セラミック電子部品及びその製造方法
25日前
太陽誘電株式会社
磁性基体及び磁性基体を備えるコイル部品
25日前
太陽誘電株式会社
積層セラミック電子部品およびその製造方法
25日前
太陽誘電株式会社
積層セラミック電子部品およびその製造方法
25日前
太陽誘電株式会社
心拍検出システム、心拍検出方法およびプログラム
25日前
太陽誘電株式会社
積層セラミック電子部品、積層セラミック電子部品の製造方法
25日前
太陽誘電株式会社
積層セラミック電子部品、積層セラミック電子部品の製造方法
25日前
太陽誘電株式会社
心拍検出装置、心拍検出システム、心拍検出方法およびプログラム
25日前
太陽誘電株式会社
心拍検出装置、心拍検出システム、心拍検出方法およびプログラム
25日前
太陽誘電株式会社
積層セラミック電子部品、及び積層セラミック電子部品の製造方法
25日前
太陽誘電株式会社
セラミック電子部品
5日前
太陽誘電株式会社
積層セラミックコンデンサ、及び積層セラミックコンデンサの製造方法
25日前
太陽誘電株式会社
積層セラミックコンデンサ、および積層セラミックコンデンサの製造方法
25日前
太陽誘電株式会社
積層セラミック電子部品及びその製造方法、並びに、回路モジュール、及び電子機器
25日前
太陽誘電株式会社
積層セラミック電子部品及びその製造方法、並びに、回路モジュール、及び電子機器
25日前
太陽誘電株式会社
積層セラミック電子部品および誘電体磁器組成物
21日前
太陽誘電株式会社
積層セラミック電子部品および誘電体磁器組成物
21日前
APB株式会社
蓄電セル
11日前
東ソー株式会社
絶縁電線
13日前
個人
フレキシブル電気化学素子
25日前
日新イオン機器株式会社
イオン源
21日前
ローム株式会社
半導体装置
1か月前
株式会社ユーシン
操作装置
25日前
マクセル株式会社
電源装置
5日前
続きを見る
他の特許を見る