TOP
|
特許
|
意匠
|
商標
特許ウォッチ
Twitter
他の特許を見る
10個以上の画像は省略されています。
公開番号
2025161236
公報種別
公開特許公報(A)
公開日
2025-10-24
出願番号
2024064255
出願日
2024-04-11
発明の名称
表示装置
出願人
太陽誘電株式会社
代理人
個人
,
個人
主分類
G06F
3/041 20060101AFI20251017BHJP(計算;計数)
要約
【課題】視認性の低下を抑制しながら接触音を低減することができる表示装置を提供する。
【解決手段】表示装置は、第1主面と前記第1主面とは反対側の第2主面とを有する基部と、前記第2主面に設けられた複数の凸部とを有するパネルと、前記第1主面上に配置され、振動を発生する圧電アクチュエータと、前記第1主面に対向する表示部と、を有し、平面視での前記凸部の直径は0.05mm以上3mm以下であり、前記凸部の高さは、5μm以上50μm以下であり、前記凸部のピッチは、0.5mm以上5mm以下であり、前記凸部の直径の前記凸部の高さに対する比は、5以上200以下である。
【選択図】図7
特許請求の範囲
【請求項1】
第1主面と前記第1主面とは反対側の第2主面とを有する基部と、前記第2主面に設けられた複数の凸部とを有するパネルと、
前記第1主面上に配置され、振動を発生する圧電アクチュエータと、
前記第1主面に対向する表示部と、
を有し、
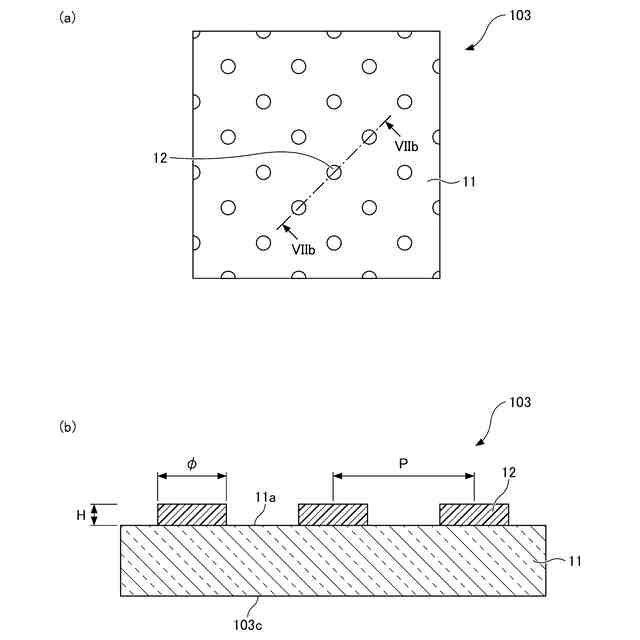
平面視での前記凸部の直径は0.05mm以上3mm以下であり、
前記凸部の高さは、5μm以上50μm以下であり、
前記凸部のピッチは、0.5mm以上5mm以下であり、
前記凸部の直径の前記凸部の高さに対する比は、5以上200以下である、表示装置。
続きを表示(約 360 文字)
【請求項2】
前記基部は、前記第1主面を有するガラス材を有し、
前記凸部は、樹脂材を有する、請求項1に記載の表示装置。
【請求項3】
前記パネルは、
前記第1主面と、前記第1主面とは反対側の第3主面とを有するガラス材と、
前記第3主面に設けられた樹脂フィルムと、
を有し、
前記樹脂フィルムは、
前記第2主面を有する第1部と、
前記第2主面に設けられた複数の第2部と、
を有し、
前記ガラス材及び前記第1部から前記基部が構成され、
前記第2部から前記凸部が構成される、請求項1に記載の表示装置。
【請求項4】
前記パネルは、前記基部及び前記凸部を備えた樹脂材を有する、請求項1に記載の表示装置。
発明の詳細な説明
【技術分野】
【0001】
本開示は、表示装置に関する。
続きを表示(約 1,500 文字)
【背景技術】
【0002】
スマートフォンやカーナビゲーション等には、タッチパネルが操作されると振動を生じ、入力を受け付けたことを通知するフォースフィードバック機能を備えるものがある。近年では、通知のための振動だけでなく、振動に様々なバリエーションをもたせることで表示物の感触を表現したり、操作位置を把握したりできるような触覚技術も検討、開発されてきている。
【0003】
このような触覚技術は、触覚用パネルに接合された圧電アクチュエータを超音波帯域の周波数で振動させることにより実現可能である。超音波帯域の振動により触覚用パネルに定在波が形成され、触覚用パネルを指等で触れると触感を感知することができ、圧電アクチュエータに供給する信号パターンを変えることで、様々なバリエーションの触感を表現することができる。
【0004】
ここで、振動する触覚用パネルの表面を指等で触れると、接触音が発生する場合がある。これに対し、特許文献1では、触覚用パネルの表面粗さを大きくすることにより、接触音を低減する表示装置が開示されている。
【先行技術文献】
【特許文献】
【0005】
特開2019-016111号公報
【発明の概要】
【発明が解決しようとする課題】
【0006】
しかしながら、従来の触覚用パネルの表面粗さを大きくした表示装置においては、触覚用パネルを透過する光が触覚用パネルの表面で乱反射し、視認性が低下してしまう。
【0007】
本開示は、視認性の低下を抑制しながら接触音を低減することができる表示装置を提供することを目的とする。
【課題を解決するための手段】
【0008】
本開示の一態様によれば、表示装置は、第1主面と前記第1主面とは反対側の第2主面とを有する基部と、前記第2主面に設けられた複数の凸部とを有するパネルと、前記第1主面上に配置され、振動を発生する圧電アクチュエータと、前記第1主面に対向する表示部と、を有し、平面視での前記凸部の直径は0.05mm以上3mm以下であり、前記凸部の高さは、5μm以上50μm以下であり、前記凸部のピッチは、0.5mm以上5mm以下であり、前記凸部の直径の前記凸部の高さに対する比は、5以上200以下である。
【発明の効果】
【0009】
本開示によれば、視認性の低下を抑制しながら接触音を低減することができる。
【図面の簡単な説明】
【0010】
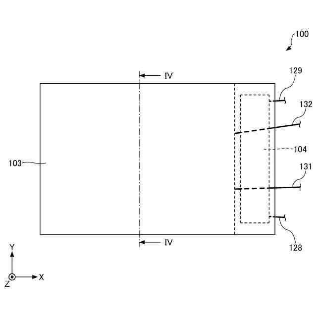
第1実施形態に係る表示装置を示す側面図である。
第1実施形態に係る表示装置を示す上面図である。
第1実施形態に係る表示装置を示す下面図である。
第1実施形態に係る表示装置を示す断面図である。
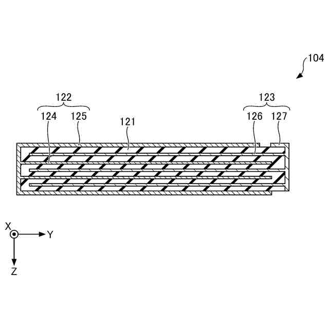
圧電アクチュエータを示す断面図である。
表示装置の基本的な動作を示す模式図である。
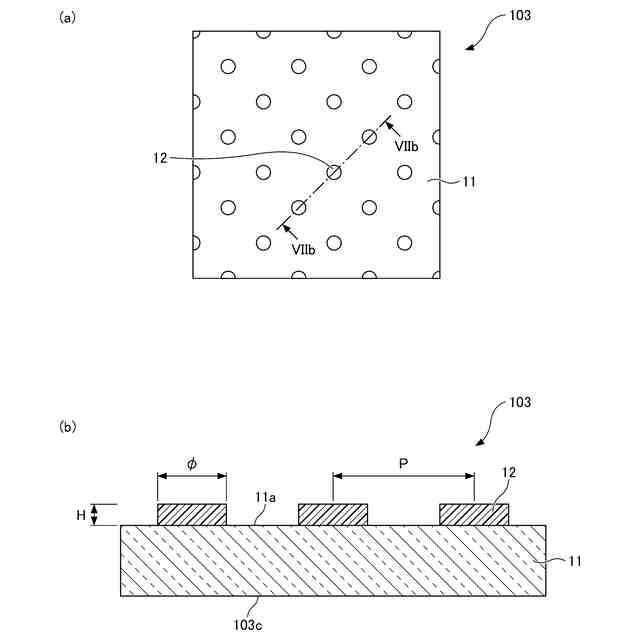
第1実施形態に係る表示装置に含まれる触覚用パネルを示す図である。
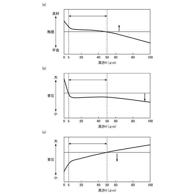
直径φと、触感、接触音及び摩擦音との関係を示す図である。
高さHと、触感、接触音及び摩擦音との関係を示す図である。
ピッチPと、触感、接触音及び摩擦音との関係を示す図である。
比Rと、触感、接触音及び摩擦音との関係を示す図である。
音圧特性を示す図である。
第2実施形態に係る表示装置に含まれる触覚用パネルを示す断面図である。
第3実施形態に係る表示装置に含まれる触覚用パネルを示す断面図である。
触覚用パネルの変形例を示す上面図である。
【発明を実施するための形態】
(【0011】以降は省略されています)
この特許をJ-PlatPat(特許庁公式サイト)で参照する
関連特許
太陽誘電株式会社
表示装置
1か月前
太陽誘電株式会社
コイル部品
1か月前
太陽誘電株式会社
コイル部品
1か月前
太陽誘電株式会社
コイル部品
1か月前
太陽誘電株式会社
コイル部品
1か月前
太陽誘電株式会社
生体情報測定装置
1か月前
太陽誘電株式会社
セラミック電子部品
1か月前
太陽誘電株式会社
グルコース濃度推定装置
1か月前
太陽誘電株式会社
積層セラミック電子部品
1か月前
太陽誘電株式会社
積層セラミック電子部品
1か月前
太陽誘電株式会社
センサ装置および取付方法
1か月前
太陽誘電株式会社
コイル部品および実装基板
1か月前
太陽誘電株式会社
積層セラミックコンデンサ
1か月前
太陽誘電株式会社
血圧測定装置および血圧測定方法
1か月前
太陽誘電株式会社
コイル部品、コイル部品の製造方法
1か月前
太陽誘電株式会社
コイル部品、コイル部品の製造方法
1か月前
太陽誘電株式会社
コイル部品及びコイル部品の製造方法
1か月前
太陽誘電株式会社
積層セラミックコンデンサ及び回路基板
1か月前
太陽誘電株式会社
積層セラミックコンデンサ及び回路基板
9日前
太陽誘電株式会社
積層セラミックコンデンサ及び回路基板
1か月前
太陽誘電株式会社
積層セラミック電子部品及びその製造方法
1か月前
太陽誘電株式会社
電子デバイス及び電子デバイスの製造方法
1か月前
太陽誘電株式会社
磁性基体及び磁性基体を備えるコイル部品
1か月前
太陽誘電株式会社
積層セラミック電子部品およびその製造方法
1か月前
太陽誘電株式会社
積層セラミック電子部品およびその製造方法
1か月前
太陽誘電株式会社
積層セラミック電子部品およびその製造方法
1か月前
太陽誘電株式会社
弾性波デバイスの製造方法及び弾性波デバイス
1か月前
太陽誘電株式会社
弾性波デバイス及び弾性波デバイスの製造方法
1か月前
太陽誘電株式会社
弾性波デバイスの製造方法及び弾性波デバイス
1か月前
太陽誘電株式会社
弾性波デバイス、フィルタ、及びマルチプレクサ
1か月前
太陽誘電株式会社
心拍検出システム、心拍検出方法およびプログラム
1か月前
太陽誘電株式会社
非粘着性の機能膜を備える構造体及び当該構造体の製造方法
25日前
太陽誘電株式会社
積層セラミック電子部品、積層セラミック電子部品の製造方法
1か月前
太陽誘電株式会社
積層セラミック電子部品、積層セラミック電子部品の製造方法
1か月前
太陽誘電株式会社
心拍検出装置、心拍検出システム、心拍検出方法およびプログラム
1か月前
太陽誘電株式会社
心拍検出装置、心拍検出システム、心拍検出方法およびプログラム
1か月前
続きを見る
他の特許を見る