TOP
|
特許
|
意匠
|
商標
特許ウォッチ
Twitter
他の特許を見る
10個以上の画像は省略されています。
公開番号
2025153923
公報種別
公開特許公報(A)
公開日
2025-10-10
出願番号
2024056644
出願日
2024-03-29
発明の名称
コイル部品
出願人
太陽誘電株式会社
代理人
個人
主分類
H01F
27/29 20060101AFI20251002BHJP(基本的電気素子)
要約
【課題】 外部電極の表面の平滑性が向上したコイル部品を提供する。
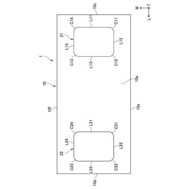
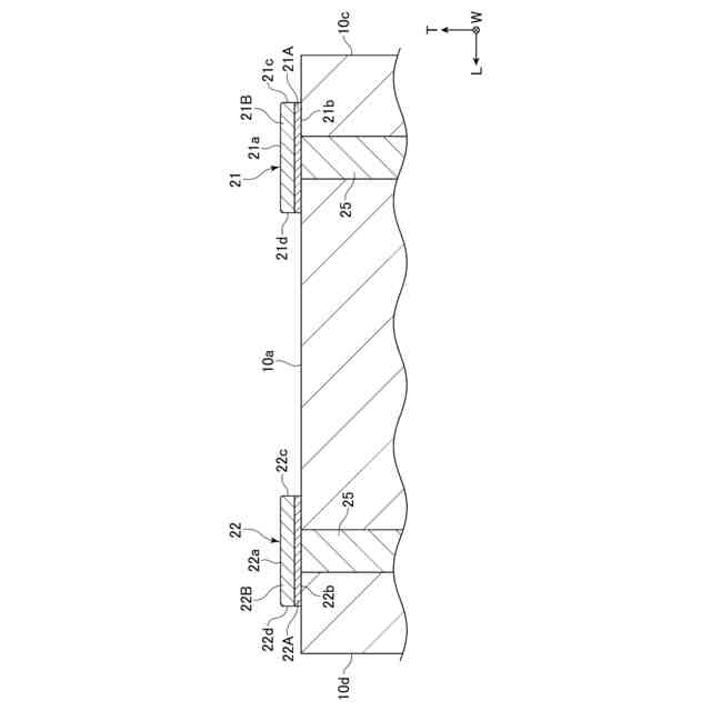
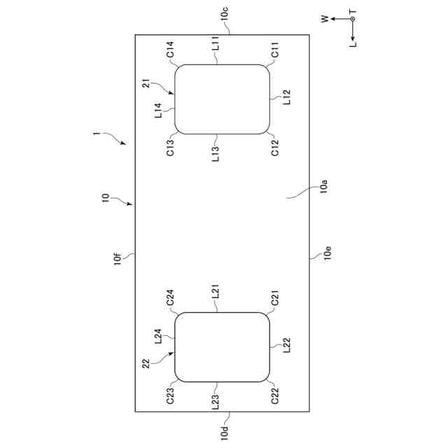
【解決手段】 本発明の一態様によるコイル部品は、第1面を有する基体と、基体の内部に設けられた第1コイル導体と、少なくとも基体の第1面に設けられている第1外部電極と、少なくとも基体の第1面に設けられている第2外部電極と、を備える。第2外部電極は、基体の第1面に、第1外部電極から第1方向において離間した位置に設けられる。第1外部電極は、コイル導体の一端に接続され、第2外部電極は、コイル導体の他端に接続される。第1外部電極は、第1めっき層を有し、第2外部電極は、第2めっき層を有する。第1外部電極は、基体の第1面の法線方向から見たときに、角がない形状を呈する。第2外部電極は、基体の第1面の法線方向から見たときに、角がない形状を呈する。
【選択図】図2
特許請求の範囲
【請求項1】
第1面を有する基体と、
前記基体の内部に設けられた第1コイル導体と、
第1めっき層を有し、少なくとも前記基体の前記第1面に前記第1コイル導体の一端に接続されるように設けられ、前記第1面の法線方向から見たとき角がない形状を呈する第1外部電極と、
第2めっき層を有し、少なくとも前記基体の前記第1面に前記第1外部電極から第1方向において離間した位置に前記第1コイル導体の他端に接続されるように設けられ、前記第1面の法線方向から見たとき角がない形状を呈する第2外部電極と、
を備えるコイル部品。
続きを表示(約 1,000 文字)
【請求項2】
前記第1面の法線方向から見たとき、前記第1外部電極の外縁は、前記第1方向と直交する第2方向に沿って延びる第1直線部を有し、
前記第1面の法線方向から見たとき、前記第2外部電極の外縁は、前記第2方向に沿って延びており前記第1直線部と相対する第2直線部を有する、
請求項1に記載のコイル部品。
【請求項3】
前記第1面の法線方向から見たとき、前記第1外部電極の外縁は、前記第1方向に沿って延びる第3直線部を有し、
前記第1直線部と前記第3直線部とは、湾曲したコーナー部により接続されている、
請求項2に記載のコイル部品。
【請求項4】
前記第1外部電極の外縁の円形度は、0.8以上である、
請求項1または2に記載のコイル部品。
【請求項5】
前記第1面の法線方向から見たとき、前記第1外部電極の外縁は、長円形を呈する、
請求項1または2に記載のコイル部品。
【請求項6】
前記第1面の法線方向から見たとき、前記第1外部電極の外縁は、楕円形を呈する、
請求項1または2に記載のコイル部品。
【請求項7】
前記基体の内部に設けられた第2コイル導体と、
第3めっき層を有し、少なくとも前記基体の前記第1面に前記第1外部電極から前記第2方向において離間した位置に前記第2コイル導体の一端に接続されるように設けられ、前記第1面の法線方向から見たとき角がない形状を呈する第3外部電極と、
第4めっき層を有し、少なくとも前記基体の前記第1面に前記第3外部電極から前記第1方向において離間した位置に前記第2コイル導体の他端に接続されるように設けられ、前記第1面の法線方向から見たとき角がない形状を呈する第4外部電極と、
をさらに備える
請求項2に記載のコイル部品。
【請求項8】
前記第1面の法線方向から見たとき、前記第1外部電極の外縁は、前記第1方向に沿って延びる第3直線部を有し、
前記第1面の法線方向から見たとき、前記第3外部電極の外縁は、前記第1方向に沿って延びており前記第3直線部と相対する第4直線部を有する、
請求項7に記載のコイル部品。
【請求項9】
請求項1または2に記載のコイル部品を内蔵するコイル部品内蔵基板。
発明の詳細な説明
【技術分野】
【0001】
本明細書の開示は、コイル部品に関する。
続きを表示(約 1,700 文字)
【背景技術】
【0002】
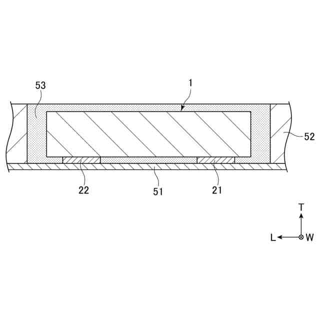
コイル部品は、電子機器において用いられる受動素子である。コイル部品は、例えば、電源ラインや信号ラインにおいてノイズを除去するために用いられる。コイル部品は、基体と、基体の内部に端面が基体から露出するように設けられたコイル導体と、コイル導体の端面に接続される外部電極と、を備える。
【0003】
基板内にコイル部品を含む電子部品が埋め込まれているコイル部品内蔵基板が知られている。コイル部品内蔵基板においては、基板内に複数のコイル部品を埋め込むことにより、コイル部品を高密度で実装することができる。コイル部品が基板内に埋め込まれている従来のコイル部品内蔵基板は、特開2023-065654号公報(引用文献1)に記載されている(特に、図8及びその説明を参照)。
【0004】
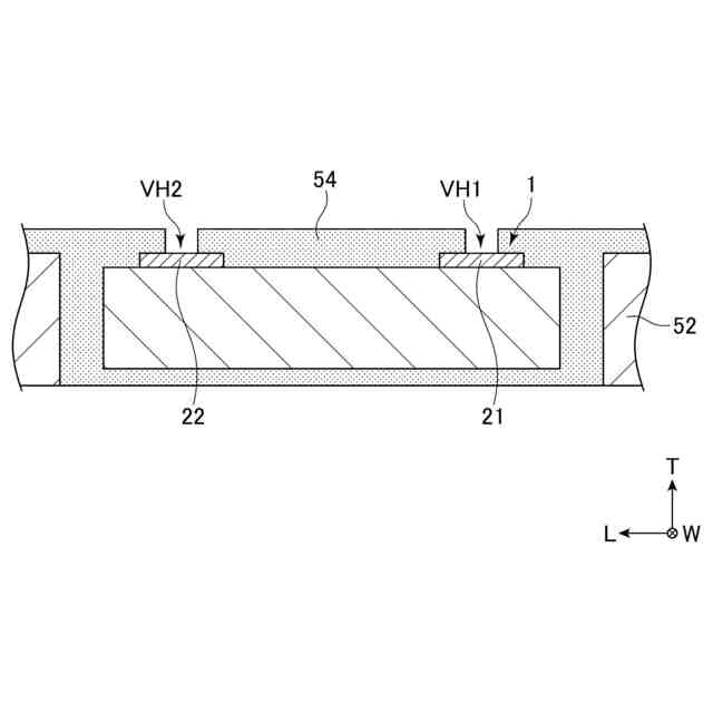
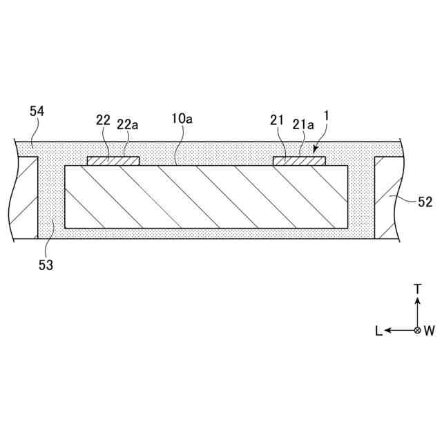
コイル部品が内蔵されているコイル部品内蔵基板においては、コイル部品の外部電極が、ビア導体を介して配線と電気的に接続される。ビア導体は、プリント基板の絶縁層に形成されたキャビティ内に載置されているコイル部品を樹脂で封止し、この樹脂で封止されているコイル部品の外部電極に向かってレーザを照射することによりビアホールを形成して当該外部電極を露出させ、このビアホールにめっき処理を施すことにより形成される。
【先行技術文献】
【特許文献】
【0005】
特開2023-065654号公報
【発明の概要】
【発明が解決しようとする課題】
【0006】
多くのコイル部品は、基板に表面実装されることが想定されている。コイル部品は、外部電極を基板表面に設けられている長方形形状のランドに接合することで、基板に表面実装される。このような背景から、コイル部品の外部電極は、ランドとの接合の信頼性を確保するために、実装面の法線方向から見たときに長方形を呈するように構成される。実装面からの視点で長方形を呈する外部電極の例は、引用文献1の図1Aに端子電極41、42として示されている。引用文献1の図8に示されているように、従来は、長方形形状の外部電極41、42を備えるコイル部品が、コイル部品内蔵基板に埋め込まれている。
【0007】
コイル部品の外部電極は、磁性基体の少なくとも実装面に長方形の下地電極層を塗布し、この下地電極層にめっき処理を施すことにより形成される。この下地電極層は、実装面から見たときに長方形の形状を有するように形成される。この長方形形状の下地電極層にめっき処理を施す場合、長方形の角付近の領域に強い電界が生じるため、下地電極層の角付近の領域において他の領域よりもめっき成長が促進される。その結果、めっき処理により形成された外部電極は、角付近の膜厚が他の領域の膜厚と比べて厚くなる。このため、従来のコイル部品の外部電極の表面には、めっきの成長の程度に応じた凹凸が現れる。この凹凸は、外部電極の表面の平滑性を低下させる。
【0008】
コイル部品を表面実装する場合には、コイル部品は、はんだで基板に接合されるため、外部電極表面の平滑性が低くても実装にほとんど支障はない。このため、これまでは、外部電極表面の平滑性には注意が払われてこなかった。
【0009】
本発明者は、表面の平滑性が低い外部電極を有するコイル部品を基板に内蔵する場合には、ビアホールを形成するために照射されたレーザが外部電極表面で乱反射され、この乱反射されたレーザ光がビアホールの側壁に当たってビアホールの幅を規定の幅よりも広げてしまうため、ビア導体を精度良く形成できないという問題が生じることを発見した。
【0010】
本発明の目的の一つは、外部電極の表面の平滑性が向上したコイル部品を提供することである。本発明のこれ以外の目的は、明細書全体の記載を通じて明らかにされる。本明細書に開示される発明は、「発明を解決しようとする課題」の欄の記載以外から把握される課題を解決するものであってもよい。本明細書において開示される様々な発明は、「本発明」と総称されることがある。
【課題を解決するための手段】
(【0011】以降は省略されています)
この特許をJ-PlatPat(特許庁公式サイト)で参照する
関連特許
太陽誘電株式会社
表示装置
1か月前
太陽誘電株式会社
コイル部品
1か月前
太陽誘電株式会社
全固体電池
1か月前
太陽誘電株式会社
コイル部品
1か月前
太陽誘電株式会社
導波路装置
1か月前
太陽誘電株式会社
コイル部品
1か月前
太陽誘電株式会社
コイル部品
1か月前
太陽誘電株式会社
生体情報測定装置
1か月前
太陽誘電株式会社
セラミック電子部品
1か月前
太陽誘電株式会社
積層セラミック電子部品
1か月前
太陽誘電株式会社
グルコース濃度推定装置
1か月前
太陽誘電株式会社
積層セラミック電子部品
1か月前
太陽誘電株式会社
積層セラミック電子部品
1か月前
太陽誘電株式会社
積層セラミックコンデンサ
1か月前
太陽誘電株式会社
センサ装置および取付方法
1か月前
太陽誘電株式会社
コイル部品および実装基板
1か月前
太陽誘電株式会社
フィルタ及びマルチプレクサ
1か月前
太陽誘電株式会社
導波路装置およびレーダ装置
1か月前
太陽誘電株式会社
血圧測定装置および血圧測定方法
1か月前
太陽誘電株式会社
バッテリパック及び車両の制御装置
1か月前
太陽誘電株式会社
コイル部品、コイル部品の製造方法
1か月前
太陽誘電株式会社
コイル部品、コイル部品の製造方法
1か月前
太陽誘電株式会社
コイル部品及びコイル部品の製造方法
1か月前
太陽誘電株式会社
積層セラミックコンデンサ及び回路基板
1か月前
太陽誘電株式会社
積層セラミックコンデンサ及び回路基板
1か月前
太陽誘電株式会社
積層セラミックコンデンサ及び回路基板
2日前
太陽誘電株式会社
積層セラミックコンデンサ及び回路基板
2か月前
太陽誘電株式会社
積層セラミックコンデンサ及び回路基板
1か月前
太陽誘電株式会社
磁性基体及び磁性基体を備えるコイル部品
1か月前
太陽誘電株式会社
圧電トランスデューサおよび電気音響装置
2か月前
太陽誘電株式会社
積層セラミック電子部品及びその製造方法
1か月前
太陽誘電株式会社
電子デバイス及び電子デバイスの製造方法
23日前
太陽誘電株式会社
積層セラミック電子部品およびその製造方法
1か月前
太陽誘電株式会社
積層セラミック電子部品およびその製造方法
1か月前
太陽誘電株式会社
積層セラミック電子部品およびその製造方法
1か月前
太陽誘電株式会社
弾性波デバイスの製造方法及び弾性波デバイス
23日前
続きを見る
他の特許を見る