TOP
|
特許
|
意匠
|
商標
特許ウォッチ
Twitter
他の特許を見る
10個以上の画像は省略されています。
公開番号
2025154714
公報種別
公開特許公報(A)
公開日
2025-10-10
出願番号
2024057869
出願日
2024-03-29
発明の名称
心拍検出装置、心拍検出システム、心拍検出方法およびプログラム
出願人
太陽誘電株式会社
代理人
弁理士法人酒井国際特許事務所
主分類
A61B
5/11 20060101AFI20251002BHJP(医学または獣医学;衛生学)
要約
【課題】ミリ波レーダ装置により測定された信号から精度良く心拍情報を検出する。
【解決手段】心拍検出装置は、ミリ波レーダ装置により検出された被測定者の心拍成分を含む信号に基づき心拍信号を生成し、心拍信号における複数の頂点データを生成し、複数の頂点データの中から、心拍としての周期性を満たす複数の有効頂点データの組を抽出する。心拍検出装置は、複数の有効頂点データの組の一部が欠落または誤っている場合、欠落または誤っている有効頂点データのエラー訂正をした複数の有効頂点データを心拍データ列として生成する。
【選択図】図2
特許請求の範囲
【請求項1】
ミリ波レーダ装置により検出された被測定者の心拍成分を含む信号に基づき、前記心拍成分を表す心拍信号を生成する心拍信号生成部と、
前記心拍信号におけるピーク点またはボトム点である頂点の時刻を表す複数の頂点データを生成する頂点データ生成部と、
前記複数の頂点データの中から、心拍としての周期性を満たす複数の有効頂点データの組を抽出する有効データ抽出部と、
前記複数の有効頂点データの組の一部が欠落または誤っている場合、欠落または誤っている有効頂点データのエラー訂正をした前記複数の有効頂点データを心拍データ列として生成するエラー訂正部と、
前記心拍データ列に基づく心拍情報を出力する出力部と、
を備える心拍検出装置。
続きを表示(約 1,000 文字)
【請求項2】
前記ミリ波レーダ装置は、24GHz以上の周波数の電波を送受信する少なくとも1個のMIMO(Multi Input Multi Output)方式のミリ波レーダを含む
請求項1に記載の心拍検出装置。
【請求項3】
前記ミリ波レーダ装置は、互いに異なる空間領域における前記被測定者との前記心拍成分を測定する複数のミリ波レーダを含む
請求項1に記載の心拍検出装置。
【請求項4】
前記ミリ波レーダ装置と、
請求項1から3の何れか1項に記載の心拍検出装置と、
を備える心拍検出システム。
【請求項5】
情報処理装置により、被測定者の心拍を表す心拍情報を生成する心拍検出方法であって、
前記情報処理装置が、
ミリ波レーダ装置により検出された被測定者の心拍成分を含む信号に基づき、前記心拍成分を表す心拍信号を生成し、
前記心拍信号におけるピーク点またはボトム点である頂点の時刻を表す複数の頂点データを生成し、
前記複数の頂点データの中から、心拍としての周期性を満たす複数の有効頂点データの組を抽出し、
前記複数の有効頂点データの組の一部が欠落または誤っている場合、欠落または誤っている有効頂点データのエラー訂正をした前記複数の有効頂点データを心拍データ列として生成し、
前記心拍データ列に基づく前記心拍情報を出力する
心拍検出方法。
【請求項6】
コンピュータを心拍検出装置として機能させるためのプログラムであって、
前記コンピュータを、
ミリ波レーダ装置により検出された被測定者の心拍成分を含む信号に基づき、前記心拍成分を表す心拍信号を生成する心拍信号生成部と、
前記心拍信号におけるピーク点またはボトム点である頂点の時刻を表す複数の頂点データを生成する頂点データ生成部と、
前記複数の頂点データの中から、心拍としての周期性を満たす複数の有効頂点データの組を抽出する有効データ抽出部と、
前記複数の有効頂点データの組の一部が欠落または誤っている場合、欠落または誤っている有効頂点データのエラー訂正をした前記複数の有効頂点データを心拍データ列として生成するエラー訂正部と、
前記心拍データ列に基づく心拍情報を出力する出力部と、
して機能させるプログラム。
発明の詳細な説明
【技術分野】
【0001】
本発明は、心拍検出装置、心拍検出システム、心拍検出方法およびプログラムに関する。
続きを表示(約 2,100 文字)
【背景技術】
【0002】
日本における科学技術政策の一つであるSociety5.0では、IoT(Internet of Things)技術を利用し、あらゆる物がインターネットに接続される社会において、データを解析することで新たな価値創造を実現し、快適で活力に満ちた質の高い生活と経済発展と社会課題の解決の両立を目指している。また、IoT技術は、人の分野にも応用され始めている。例えば、特許文献1~2には、非接触で、被測定者の生体信号をセンシングする技術が記載されている。近年、Society5.0の実現のために、人の健康および感情解析につながる、被測定者が意識せず非接触で心拍測定する技術が注目されている。
【先行技術文献】
【特許文献】
【0003】
特開2023-026955号公報
国際公開第23/021998号
【発明の概要】
【発明が解決しようとする課題】
【0004】
非接触で被測定者の心拍を検出する方法として、ミリ波レーダ装置により測定された信号を用いる方法が知られている。ミリ波レーダ装置により測定された信号から心拍を検出する方法は、被測定者を撮像しなくてよいので、個人を判断することなく心拍を検出可能であり、被測定者のプライバシー侵害に考慮することができるという利点がある。しかし、ミリ波レーダ装置により測定された信号を用いた心拍の検出方法は、振動外乱に弱く、心拍検出の原理から検出信号が非常に微弱であり他の振動成分と心拍信号との切り分けが難しく、精度を高くすることが困難であった。
【0005】
本発明は、上記に鑑みてなされたものであって、ミリ波レーダ装置により測定された信号から精度良く心拍情報を検出する心拍検出装置、心拍検出システム、心拍検出方法およびプログラムを提供することを目的とする。
【課題を解決するための手段】
【0006】
上述した課題を解決し、目的を達成するために、本発明に係る心拍検出装置は、ミリ波レーダ装置により検出された被測定者の心拍成分を含む信号に基づき、前記心拍成分を表す心拍信号を生成する心拍信号生成部と、前記心拍信号におけるピーク点またはボトム点である頂点の時刻を表す複数の頂点データを生成する頂点データ生成部と、前記複数の頂点データの中から、心拍としての周期性を満たす複数の有効頂点データの組を抽出する有効データ抽出部と、前記複数の有効頂点データの組の一部が欠落または誤っている場合、欠落または誤っている有効頂点データのエラー訂正をした前記複数の有効頂点データを心拍データ列として生成するエラー訂正部と、前記心拍データ列に基づく心拍情報を出力する出力部と、を備える。
【発明の効果】
【0007】
本発明によれば、ミリ波レーダ装置により測定された信号から精度良く心拍情報を検出することができる。
【図面の簡単な説明】
【0008】
図1は、第1実施形態に係る心拍検出システムの構成を示す図である。
図2は、第1実施形態に係る心拍検出装置の機能構成を示す図である。
図3は、心拍信号生成部の処理の流れの一例を示すフローチャートである。
図4は、心拍信号生成部における頂点をつなぎ合わせる処理について説明をするための図である。
図5は、頂点データ生成の処理の流れの一例を示すフローチャートである。
図6は、有効データ抽出部の処理の流れの一例を示すフローチャートである。
図7は、複数の有効頂点データの組を抽出する処理を説明するための第1例を示す図である。
図8は、複数の有効頂点データの組を抽出する処理を説明するための第2例を示す図である。
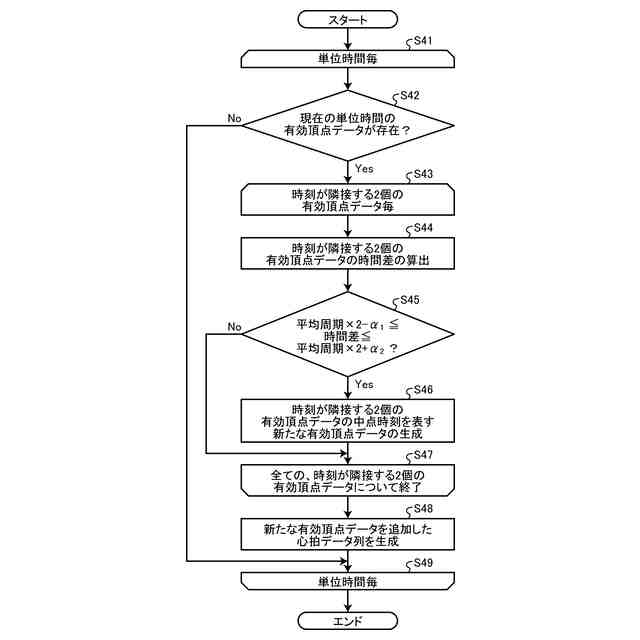
図9は、エラー訂正部の処理の流れの一例を示すフローチャートである。
図10は、位相差算出部および出力部の処理の流れの一例を示すフローチャートである。
図11は、第2実施形態に係る心拍検出システムの構成を示す図である。
図12は、第2実施形態に係る心拍検出装置の機能構成を示す図である。
図13は、第3実施形態に係る心拍検出装置の構成を示す図である。
図14は、第3実施形態に係る有効データ抽出部の処理の流れの一例を示すフローチャートである。
図15は、第3実施形態に係る複数の有効頂点データの組を抽出する処理を説明するための図である。
図16は、情報処理装置のハードウェア構成を示す図である。
【発明を実施するための形態】
【0009】
以下、図面を参照しながら実施形態について説明する。
【0010】
(第1実施形態)
図1は、第1実施形態に係る心拍検出システム10の構成を示す図である。心拍検出システム10は、被測定者の心拍に関する情報を表す心拍情報を、被測定者に対して非接触で検出する。
(【0011】以降は省略されています)
この特許をJ-PlatPat(特許庁公式サイト)で参照する
関連特許
太陽誘電株式会社
表示装置
11日前
太陽誘電株式会社
コイル部品
25日前
太陽誘電株式会社
全固体電池
1か月前
太陽誘電株式会社
コイル部品
26日前
太陽誘電株式会社
導波路装置
1か月前
太陽誘電株式会社
コイル部品
25日前
太陽誘電株式会社
コイル部品
21日前
太陽誘電株式会社
生体情報測定装置
25日前
太陽誘電株式会社
セラミック電子部品
25日前
太陽誘電株式会社
積層セラミック電子部品
21日前
太陽誘電株式会社
積層セラミック電子部品
25日前
太陽誘電株式会社
積層セラミック電子部品
27日前
太陽誘電株式会社
グルコース濃度推定装置
26日前
太陽誘電株式会社
積層セラミックコンデンサ
26日前
太陽誘電株式会社
センサ装置および取付方法
26日前
太陽誘電株式会社
コイル部品および実装基板
26日前
太陽誘電株式会社
導波路装置およびレーダ装置
1か月前
太陽誘電株式会社
フィルタ及びマルチプレクサ
27日前
太陽誘電株式会社
血圧測定装置および血圧測定方法
26日前
太陽誘電株式会社
コイル部品、コイル部品の製造方法
25日前
太陽誘電株式会社
バッテリパック及び車両の制御装置
1か月前
太陽誘電株式会社
コイル部品、コイル部品の製造方法
25日前
太陽誘電株式会社
コイル部品及びコイル部品の製造方法
25日前
太陽誘電株式会社
積層セラミックコンデンサ及び回路基板
26日前
太陽誘電株式会社
積層セラミックコンデンサ及び回路基板
28日前
太陽誘電株式会社
積層セラミックコンデンサ及び回路基板
1か月前
太陽誘電株式会社
積層セラミックコンデンサ及び回路基板
1か月前
太陽誘電株式会社
積層セラミックコンデンサ及び回路基板
13日前
太陽誘電株式会社
積層セラミック電子部品及びその製造方法
25日前
太陽誘電株式会社
圧電トランスデューサおよび電気音響装置
1か月前
太陽誘電株式会社
磁性基体及び磁性基体を備えるコイル部品
25日前
太陽誘電株式会社
積層セラミック電子部品およびその製造方法
25日前
太陽誘電株式会社
積層セラミック電子部品およびその製造方法
25日前
太陽誘電株式会社
積層セラミック電子部品およびその製造方法
26日前
太陽誘電株式会社
弾性波デバイス、フィルタ、及びマルチプレクサ
1か月前
太陽誘電株式会社
位置情報システム、情報処理装置及び情報処理方法
27日前
続きを見る
他の特許を見る