TOP
|
特許
|
意匠
|
商標
特許ウォッチ
Twitter
他の特許を見る
10個以上の画像は省略されています。
公開番号
2025153822
公報種別
公開特許公報(A)
公開日
2025-10-10
出願番号
2024056476
出願日
2024-03-29
発明の名称
積層セラミック電子部品およびその製造方法
出願人
太陽誘電株式会社
代理人
個人
主分類
H01G
4/30 20060101AFI20251002BHJP(基本的電気素子)
要約
【課題】端部における外部電極の形状を制御することが可能な積層セラミック電子部品を提供する。
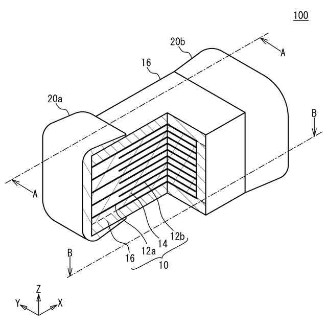
【解決手段】積層セラミック電子部品は、複数の内部電極とセラミックを主成分とする複数の誘電体層とが交互に第1方向に積層され、積層された前記複数の内部電極が、交互に露出し互いに第2方向において対向する端面を有する素体10と、前記端面から露出する前記複数の内部電極の一部に接触し、かつ前記素体の前記端面に接続される4つの面における前記端面側の端部に設けられた外部電極と、を備え、前記4つの面のうち、少なくとも前記第1方向において対向する面の前記端部40の少なくとも一部の粗面領域における表面粗さは、前記対向する面のうち前記端部以外の中央部42における表面粗さより大きい。
【選択図】図2
特許請求の範囲
【請求項1】
複数の内部電極とセラミックを主成分とする複数の誘電体層とが交互に第1方向に積層され、積層された前記複数の内部電極が、交互に露出し互いに第2方向において対向する端面を有する素体と、
前記端面から露出する前記複数の内部電極の一部に接触し、かつ前記素体の前記端面に接続される4つの面における前記端面側の端部に設けられた外部電極と、
を備え、
前記4つの面のうち、少なくとも前記第1方向において対向する面の前記端部の少なくとも一部の粗面領域における表面粗さは、前記対向する面のうち前記端部以外の中央部における表面粗さより大きい積層セラミック電子部品。
続きを表示(約 1,100 文字)
【請求項2】
前記外部電極は、前記端部に設けられた下地金属層と、前記下地金属層を覆うように設けられたメッキ層と、を備え、
前記粗面領域の前記端面の反対側の端は、前記下地金属層の端と略一致する請求項1に記載の積層セラミック電子部品。
【請求項3】
前記粗面領域は、前記端部の全面に設けられている請求項1または2に記載の積層セラミック電子部品。
【請求項4】
前記粗面領域は、前記端部のうち前記外部電極の先端側の領域に設けられ、前記粗面領域の表面粗さは、前記端部のうち前記端面側の領域の表面粗さより大きい請求項1または2に記載の積層セラミック電子部品。
【請求項5】
前記端部は、前記端面と前記4つの面との間の角が丸まった第1角部を有し、
前記粗面領域は、前記端部のうち前記第1角部に設けられ、前記粗面領域の表面粗さは、前記端部のうち前記端面の反対側の領域の表面粗さより大きい請求項1に記載の積層セラミック電子部品。
【請求項6】
前記端部は、前記4つの面の間の第2角部を有し、
前記粗面領域は、前記端部のうち前記第2角部に設けられ、前記粗面領域の表面粗さは、前記端部のうち前記第2角部以外の領域の表面粗さより大きい請求項1または2に記載の積層セラミック電子部品。
【請求項7】
前記端部の前記少なくとも一部における算術平均粗さは前記中央部における算術平均粗さの2倍以上である請求項1または2に記載の積層セラミック電子部品。
【請求項8】
前記端部における算術平均粗さは、50nm以上である請求項1または2に記載の積層セラミック電子部品。
【請求項9】
前記粗面領域は前記4つの面の全てに設けられている請求項1または2に記載の積層セラミック電子部品。
【請求項10】
複数の内部電極とセラミックを主成分とする複数の誘電体層とが交互に第1方向に積層され、積層された前記複数の内部電極が、交互に露出し互いに第2方向において対向する端面を有する素体と、
前記素体の前記端面に接続される4つの面のうち、少なくとも前記第1方向において対向する面において、前記端面側の端部以外の中央部に粗面を形成せずに、前記端部に粗面を形成する工程と、
前記4つの面において、前記端面および端部にペーストを塗布し、前記ペーストから、前記端面から露出する前記複数の内部電極の一部に接触する外部電極を形成する工程と、
を含む積層セラミック電子部品の製造方法。
(【請求項11】以降は省略されています)
発明の詳細な説明
【技術分野】
【0001】
本発明は、積層セラミック電子部品およびその製造方法に関する。
続きを表示(約 1,100 文字)
【背景技術】
【0002】
積層セラミック電子部品において、素体の一部の表面の粗さを大きくすることが知られている(例えば、特許文献1、2)。
【先行技術文献】
【特許文献】
【0003】
特開2022-76995号公報
特開2022-85196号公報
【発明の概要】
【発明が解決しようとする課題】
【0004】
素体の側面、下面および上面における端部と端面に外部電極を形成する場合に、端部における外部電極の長さがばらつくことがある。特に積層セラミック電子部品では、外部電極の形成のためのペーストの塗布が難しくなり、外部電極の長さ等の形状の制御が難しくなる。
【0005】
本発明は、上記課題に鑑みなされたものであり、端部における外部電極の形状を制御することを目的とする。
【課題を解決するための手段】
【0006】
本発明は、複数の内部電極とセラミックを主成分とする複数の誘電体層とが交互に第1方向に積層され、積層された前記複数の内部電極が、交互に露出し互いに第2方向において対向する端面を有する素体と、前記端面から露出する前記複数の内部電極の一部に接触し、かつ前記素体の前記端面に接続される4つの面における前記端面側の端部に設けられた外部電極と、を備え、前記4つの面のうち、少なくとも前記第1方向において対向する面の前記端部の少なくとも一部の粗面領域における表面粗さは、前記対向する面のうち前記端部以外の中央部における表面粗さより大きい積層セラミック電子部品である。
【0007】
上記構成において、前記外部電極は、前記端部に設けられた下地金属層と、前記下地金属層を覆うように設けられたメッキ層と、を備え、前記粗面領域の前記端面の反対側の端は、前記下地金属層の端と略一致する構成とすることができる。
【0008】
上記構成において、前記粗面領域は、前記端部の全面に設けられている構成とすることができる。
【0009】
上記構成において、前記粗面領域は、前記端部のうち前記外部電極の先端側の領域に設けられ、前記粗面領域の表面粗さは、前記端部のうち前記端面側の領域の表面粗さより大きい構成とすることができる。
【0010】
上記構成において、前記端部は、前記端面と前記4つの面との間の角が丸まった第1角部を有し、前記粗面領域は、前記端部のうち前記第1角部に設けられ、前記粗面領域の表面粗さは、前記端部のうち前記端面の反対側の領域の表面粗さより大きい構成とすることができる。
(【0011】以降は省略されています)
この特許をJ-PlatPat(特許庁公式サイト)で参照する
関連特許
太陽誘電株式会社
表示装置
9日前
太陽誘電株式会社
導波路装置
1か月前
太陽誘電株式会社
全固体電池
1か月前
太陽誘電株式会社
コイル部品
19日前
太陽誘電株式会社
コイル部品
24日前
太陽誘電株式会社
コイル部品
23日前
太陽誘電株式会社
コイル部品
23日前
太陽誘電株式会社
生体情報測定装置
23日前
太陽誘電株式会社
セラミック電子部品
23日前
太陽誘電株式会社
積層セラミック電子部品
23日前
太陽誘電株式会社
積層セラミック電子部品
19日前
太陽誘電株式会社
積層セラミック電子部品
25日前
太陽誘電株式会社
グルコース濃度推定装置
24日前
太陽誘電株式会社
コイル部品および実装基板
24日前
太陽誘電株式会社
センサ装置および取付方法
24日前
太陽誘電株式会社
積層セラミックコンデンサ
24日前
太陽誘電株式会社
フィルタ及びマルチプレクサ
25日前
太陽誘電株式会社
導波路装置およびレーダ装置
1か月前
太陽誘電株式会社
血圧測定装置および血圧測定方法
24日前
太陽誘電株式会社
コイル部品、コイル部品の製造方法
23日前
太陽誘電株式会社
コイル部品、コイル部品の製造方法
23日前
太陽誘電株式会社
バッテリパック及び車両の制御装置
1か月前
太陽誘電株式会社
コイル部品及びコイル部品の製造方法
23日前
太陽誘電株式会社
積層セラミックコンデンサ及び回路基板
24日前
太陽誘電株式会社
積層セラミックコンデンサ及び回路基板
26日前
太陽誘電株式会社
積層セラミックコンデンサ及び回路基板
1か月前
太陽誘電株式会社
積層セラミックコンデンサ及び回路基板
1か月前
太陽誘電株式会社
積層セラミックコンデンサ及び回路基板
11日前
太陽誘電株式会社
積層セラミックコンデンサ及び回路基板
1か月前
太陽誘電株式会社
磁性基体及び磁性基体を備えるコイル部品
23日前
太陽誘電株式会社
積層セラミック電子部品及びその製造方法
23日前
太陽誘電株式会社
圧電トランスデューサおよび電気音響装置
1か月前
太陽誘電株式会社
積層セラミック電子部品およびその製造方法
23日前
太陽誘電株式会社
積層セラミック電子部品およびその製造方法
23日前
太陽誘電株式会社
積層セラミック電子部品およびその製造方法
24日前
太陽誘電株式会社
電子部品の検査方法および電子部品の製造方法
1か月前
続きを見る
他の特許を見る