TOP
|
特許
|
意匠
|
商標
特許ウォッチ
Twitter
他の特許を見る
10個以上の画像は省略されています。
公開番号
2025152070
公報種別
公開特許公報(A)
公開日
2025-10-09
出願番号
2024053795
出願日
2024-03-28
発明の名称
コイル部品
出願人
太陽誘電株式会社
代理人
個人
,
個人
主分類
H01F
17/04 20060101AFI20251002BHJP(基本的電気素子)
要約
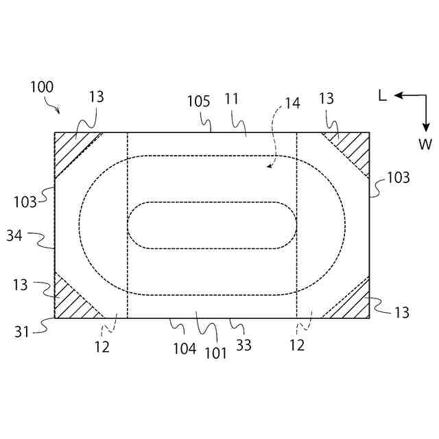
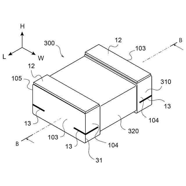
【課題】コイル部品の性能を維持しつつ、外部電極のめっきを目的の箇所に安定的に設ける。
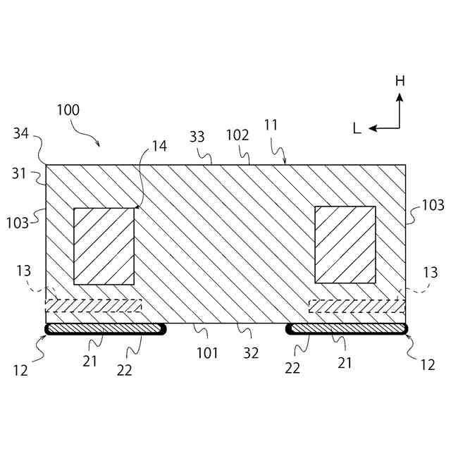
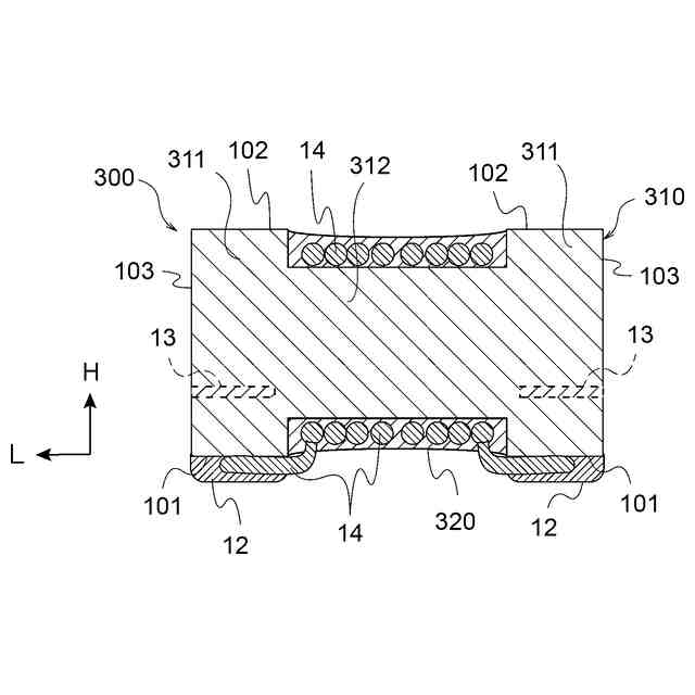
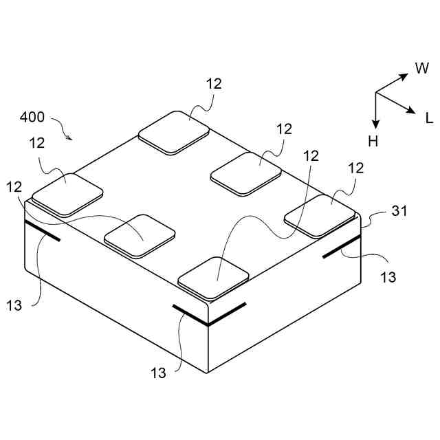
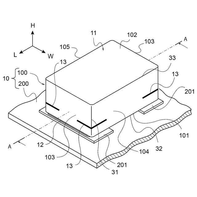
【解決手段】一態様に係るコイル部品は、金属磁性粒子を含み、外面として、互いに背向する第1面および第2面と、上記第1面および上記第2面の双方に隣り合う第3面と、上記第1面、上記第2面および上記第3面に隣り合う第4面とを有し、上記第3面と上記第4面との間に延びる第1稜線部を有する磁性基体と、上記磁性基体の内部又は表面に設けられる導体と、上記磁性基体の第1面に設けられて上記導体と電気的に接続され、めっき層を有する外部電極と、上記第1稜線部の上記第1面側に寄った箇所にその一部が露出して上記磁性基体に埋まる第1絶縁部と、を備える。
【選択図】 図1
特許請求の範囲
【請求項1】
金属磁性粒子を含み、外面として、互いに背向する第1面および第2面と、前記第1面および前記第2面の双方に隣り合う第3面と、前記第1面、前記第2面および前記第3面に隣り合う第4面とを有し、前記第3面と前記第4面との間に延びる第1稜線部を有する磁性基体と、
前記磁性基体の内部又は表面に設けられる導体と、
前記磁性基体の第1面に設けられて前記導体と電気的に接続され、めっき層を有する外部電極と、
前記第1稜線部の前記第1面側に寄った箇所にその一部が露出して前記磁性基体に埋まる第1絶縁部と、
を備えるコイル部品。
続きを表示(約 600 文字)
【請求項2】
前記第1絶縁部は、前記第1稜線部が延びる方向に間隔を空けて複数備えられる請求項1に記載のコイル部品。
【請求項3】
前記磁性基体は、前記第1稜線部がR面となっている請求項1に記載のコイル部品。
【請求項4】
前記第1絶縁部は、前記第1稜線部と交わる方向に層状に広がる請求項1に記載のコイル部品。
【請求項5】
前記磁性基体は、前記第1面と、前記第3面および前記第4面の少なくとも一方との間に延びる第2稜線部がR面となっていて、
前記第1絶縁部は、前記R面と隣り合うか重なる箇所に備えられる請求項1に記載のコイル部品。
【請求項6】
前記外部電極は、前記第1面から、前記第3面および前記第4面の少なくとも一方まで延びることが許容され、
前記第1絶縁部は、前記第1稜線部、前記第3面および前記第4面の少なくともいずれかにおいて、前記外部電極と接する箇所に備えられる請求項1に記載のコイル部品。
【請求項7】
前記第1絶縁部は、前記導体に対して離隔する請求項1に記載のコイル部品。
【請求項8】
前記第1面と、前記第3面および前記第4面の少なくとも一方との間に延びる前記磁性基体の第2稜線部に一部が露出して前記磁性基体に埋まる第2絶縁部を更に備える請求項1に記載のコイル部品。
発明の詳細な説明
【技術分野】
【0001】
本発明は、コイル部品に関する。
続きを表示(約 1,500 文字)
【背景技術】
【0002】
近年、デジタル電子機器の小型化及び高性能化が急速に進んでおり、電子回路および電源回路の高密度化も進んでいる。これに伴い、当該回路を構成するコイル部品の高性能化および高密度実装性の重要性が高まっている。
コイル部品の性能を保ちつつ小型化を図るために、外部電極が占める体積の減少が求められている。このため、外部電極の一部にスパッタリング膜が用いられて厚みの減少が図られたり、外部電極を設ける面が5つの面から、3つの面、更に1つの面のみと減らされたりしている。
【0003】
また、性能維持と小型化の両立のために金属磁性材料を用いたコイル部品が知られている。金属磁性材料が用いられるとフェライト磁性材料よりも磁気飽和特性が向上することから、金属磁性材料を用いたコイル部品は、直流電流の印加される用途で用いられる。金属磁性材料を用いたコイル部品は、磁気飽和特性の向上により、磁性材料の占める体積割合が抑制されて小型化が可能となる。
【0004】
一方で、金属磁性材料は、フェライト磁性材料に比べて電気抵抗が低い。このため、金属磁性粒子を用いる磁性基体は、外部電極のめっきが目的外の箇所におよぶ虞がある。めっきを目的の箇所に安定的に設けるためには、必要に応じて磁性基体に絶縁処理が施される。
【0005】
例えば特許文献1には、本体の表面のうち、外部電極の箇所を除く全体に絶縁層が設けられて外部電極が実装面のみに露出される技術が提案されている。特許文献1の技術によれば外部電極は目的の位置のみに安定的に設けられる。
【先行技術文献】
【特許文献】
【0006】
特許第2023-106296号公報
【発明の概要】
【発明が解決しようとする課題】
【0007】
しかし、特許文献1の技術では、絶縁性確保のため絶縁層が厚くなるので、同一サイズのコイル部品の場合、絶縁層の厚み分だけ磁性材料が減って磁気的な特性が低下することになる。
上記事情に鑑み、本発明は、コイル部品の性能を維持しつつ、外部電極のめっきを目的の箇所に安定的に設けることを目的とする。
【課題を解決するための手段】
【0008】
上記課題を解決するために、本発明の一態様に係るコイル部品は、金属磁性粒子を含み、外面として、互いに背向する第1面および第2面と、上記第1面および上記第2面の双方に隣り合う第3面と、上記第1面、上記第2面および上記第3面に隣り合う第4面とを有し、上記第3面と上記第4面との間に延びる第1稜線部を有する磁性基体と、上記磁性基体の内部又は表面に設けられる導体と、上記磁性基体の第1面に設けられて上記導体と電気的に接続され、めっき層を有する外部電極と、上記第1稜線部の上記第1面側に寄った箇所にその一部が露出して上記磁性基体に埋まる第1絶縁部と、を備える。
【0009】
本発明の一態様に係るコイル部品によれば、上記第1絶縁部は、上記第1稜線部が延びる方向に間隔を空けて複数備えられる。
本発明の一態様に係るコイル部品によれば、上記磁性基体は、上記第1稜線部がR面となっている。
【0010】
本発明の一態様に係るコイル部品によれば、上記第1絶縁部は、上記第1稜線部と交わる方向に層状に広がる。
本発明の一態様に係るコイル部品によれば、上記磁性基体は、上記第1面と、上記第3面および上記第4面の少なくとも一方との間に延びる第2稜線部がR面となっていて、上記第1絶縁部は、上記R面と隣り合うか重なる箇所に備えられる。
(【0011】以降は省略されています)
この特許をJ-PlatPat(特許庁公式サイト)で参照する
関連特許
太陽誘電株式会社
全固体電池
6日前
太陽誘電株式会社
コイル部品
今日
太陽誘電株式会社
導波路装置
6日前
太陽誘電株式会社
積層セラミック電子部品
1日前
太陽誘電株式会社
グルコース濃度推定装置
今日
太陽誘電株式会社
電動アシスト車の制御装置
1か月前
太陽誘電株式会社
コイル部品および実装基板
今日
太陽誘電株式会社
センサ装置および取付方法
今日
太陽誘電株式会社
積層セラミックコンデンサ
今日
太陽誘電株式会社
導波路装置およびレーダ装置
6日前
太陽誘電株式会社
フィルタ及びマルチプレクサ
1日前
太陽誘電株式会社
血圧測定装置および血圧測定方法
今日
太陽誘電株式会社
バッテリパック及び車両の制御装置
6日前
太陽誘電株式会社
特徴量取得装置および特徴量取得方法
20日前
太陽誘電株式会社
積層セラミックコンデンサ及び回路基板
今日
太陽誘電株式会社
積層セラミックコンデンサ及び回路基板
1か月前
太陽誘電株式会社
積層セラミックコンデンサ及び回路基板
13日前
太陽誘電株式会社
積層セラミックコンデンサ及び回路基板
10日前
太陽誘電株式会社
積層セラミックコンデンサ及び回路基板
10日前
太陽誘電株式会社
積層セラミックコンデンサ及び回路基板
2日前
太陽誘電株式会社
圧電トランスデューサおよび電気音響装置
8日前
太陽誘電株式会社
積層セラミック電子部品及びその製造方法
29日前
太陽誘電株式会社
積層セラミック電子部品およびその製造方法
今日
太陽誘電株式会社
電子部品の検査方法および電子部品の製造方法
10日前
太陽誘電株式会社
弾性波デバイス、フィルタ、及びマルチプレクサ
6日前
太陽誘電株式会社
位置情報システム、情報処理装置及び情報処理方法
1日前
太陽誘電株式会社
存在検知システム、存在判定装置および存在判定方法
20日前
太陽誘電株式会社
多重モード型フィルタ、フィルタ、及びマルチプレクサ
6日前
太陽誘電株式会社
弾性波デバイス、フィルタ、及び弾性波デバイスの製造方法
20日前
太陽誘電株式会社
測位システム、測位装置、測位方法、および測位プログラム
29日前
太陽誘電株式会社
測位システム、測位装置、測位方法、および測位プログラム
29日前
太陽誘電株式会社
積層セラミック電子部品、及び積層セラミック電子部品の製造方法
6日前
太陽誘電株式会社
セラミック電子部品
9日前
太陽誘電株式会社
弾性波デバイス、フィルタ、マルチプレクサ、及び弾性波デバイスの製造方法
6日前
太陽誘電株式会社
アレイ型インダクタ及び当該アレイ型インダクタを備えるインダクタ内蔵基板
今日
太陽誘電株式会社
弾性波デバイス、フィルタ、マルチプレクサ、及び弾性波デバイスの製造方法
1か月前
続きを見る
他の特許を見る