TOP
|
特許
|
意匠
|
商標
特許ウォッチ
Twitter
他の特許を見る
10個以上の画像は省略されています。
公開番号
2025153824
公報種別
公開特許公報(A)
公開日
2025-10-10
出願番号
2024056478
出願日
2024-03-29
発明の名称
積層セラミック電子部品、積層セラミック電子部品の製造方法
出願人
太陽誘電株式会社
代理人
個人
,
個人
主分類
H01G
4/30 20060101AFI20251002BHJP(基本的電気素子)
要約
【課題】高い寿命特性を備えつつ、十分なバイアス特性を備えた積層セラミック電子部品およびその製造方法を提供する。
【解決手段】積層セラミックコンデンサ100は、第1軸に沿って積層された複数の誘電体層11と、第1軸に沿って隣接する誘電体層の間にそれぞれ配置された複数の内部電極12a、12b層と、誘電体層と、内部電極層との間に配置された中間領域40と、を有する素体10を備える。誘電体層は、一般式ABO
3-α
(0≦α≦1)で表され、ペロブスカイト型構造を有する化合物および添加元素を含有し、内部電極層は、主成分としての卑金属元素および銅を含有し、中間領域は、前記添加元素および銅を含有しいいる。前記添加元素は、ホルミウム、イットリウム、サマリウム、ジスプロシウム、ユーロピウム、ガドリウム、テルビウム、エルビウム、ツリウムおよびイッテルビウムから選択された1種類以上を含む。
【選択図】図4
特許請求の範囲
【請求項1】
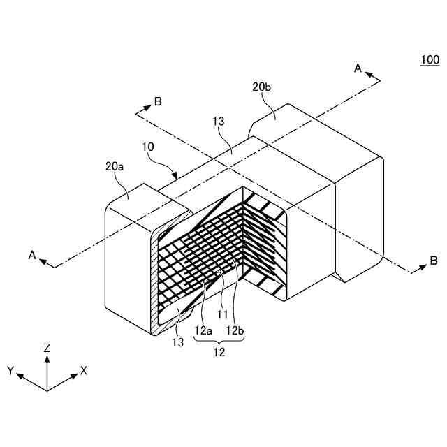
第1軸に沿って積層された複数の誘電体層と、
前記第1軸に沿って隣接する前記誘電体層の間にそれぞれ配置された複数の内部電極層と、
前記誘電体層と、前記内部電極層との間に配置された中間領域と、を有し、
前記誘電体層は、一般式ABO
3-α
(0≦α≦1)で表され、ペロブスカイト型構造を有する化合物、および添加元素を含有し、
前記内部電極層は、主成分としての卑金属元素および銅を含有し、
前記中間領域は、前記添加元素および銅を含有しており、
前記添加元素は、ホルミウム、イットリウム、サマリウム、ジスプロシウム、ユーロピウム、ガドリウム、テルビウム、エルビウム、ツリウム、およびイッテルビウムから選択された1種類以上を含む、積層セラミック電子部品。
続きを表示(約 770 文字)
【請求項2】
3次元原子プローブ分析した場合に、前記中間領域における前記添加元素の含有量の原子数割合の平均値が0.13at%以上0.67at%以下、銅の含有量の原子数割合の平均値が0.32at%以上3.15at%以下である、請求項1に記載の積層セラミック電子部品。
【請求項3】
前記内部電極層は、ニッケルを含有する、請求項1または請求項2に記載の積層セラミック電子部品。
【請求項4】
前記誘電体層は、前記ペロブスカイト型構造を有する化合物としてチタン酸バリウムを含有する、請求項1または請求項2に記載の積層セラミック電子部品。
【請求項5】
一般式ABO
3-α
(0≦α≦1)で表され、ペロブスカイト型構造を有する化合物、および添加元素を含有する誘電体グリーンシートを形成する誘電体グリーンシート形成工程と、
前記誘電体グリーンシート表面に、主成分としての卑金属元素および銅を含有する内部電極層パターンを形成し、セラミックグリーンシートを作製する、内部電極層形成工程と、
前記セラミックグリーンシートを積層した積層体を焼成する焼成工程と、を有し、
前記添加元素は、ホルミウム、イットリウム、サマリウム、ジスプロシウム、ユーロピウム、ガドリウム、テルビウム、エルビウム、ツリウム、およびイッテルビウムから選択された1種類以上を含み、
前記焼成工程において、600℃から焼成温度までの間、30000℃/h以上の昇温速度で昇温し、前記焼成温度での保持時間を10秒以下とする、積層セラミック電子部品の製造方法。
【請求項6】
前記焼成温度が、1000℃以上1400℃以下である、請求項5に記載の積層セラミック電子部品の製造方法。
発明の詳細な説明
【技術分野】
【0001】
本開示は、積層セラミック電子部品、積層セラミック電子部品の製造方法に関する。
続きを表示(約 1,400 文字)
【背景技術】
【0002】
積層セラミック電子部品は、誘電体層と、内部電極層とが交互に積層された構造を有している。積層セラミック電子部品としては、積層セラミックコンデンサ(MLCC:multilayer ceramic capacitor)等が挙げられる。
【0003】
積層セラミックコンデンサ等の積層セラミック電子部品について、搭載する携帯電話等の電子機器の多機能化・高性能化等に伴い、小型化や、大容量化等のさらなる性能向上や、信頼性の向上が要求されている。係る要求に応えるため、例えば誘電体層等に各種元素や、化合物を添加することが試みられている。
【0004】
例えば特許文献1には、主成分として組成式Ba
(1-x)
Ca
x
TiO
3
(xは0.05以上0.1以下である)で表されるチタン酸バリウムカルシウムを含み、副成分としてYの酸化物、およびYbの酸化物を含む誘電体磁器組成物が開示されている。
【0005】
特許文献1に開示された誘電体磁器組成物によれば、絶縁抵抗が高く、静電容量の温度特性(容量温度特性)について、EIA規格のX9R特性、すなわち-55℃から175℃までの容量変化率が±15%以内との特性を満足することができるとされている。
【先行技術文献】
【特許文献】
【0006】
特開2017-114751号公報
【発明の概要】
【発明が解決しようとする課題】
【0007】
ところで、積層セラミック電子部品において小型化や大容量化等のために誘電体層の薄層化が求められているが、誘電体層の薄層化は誘電体層に印加される電界強度の増加を伴う。このため、誘電体層を薄層化すると、誘電体層に電圧を印加した場合に誘電体層が破損し易くなり、積層セラミック電子部品の寿命が短くなる傾向がある。
【0008】
積層セラミック電子部品の寿命を確保するため、誘電体層の材料に添加元素等を添加することが検討されてきた。しかしながら、誘電体層の材料に添加元素を添加し、かつその添加量を多くすると、バイアス特性が低下するという問題があった。
【0009】
本開示は、高い寿命特性を備えつつ、十分なバイアス特性を備えた積層セラミック電子部品を提供することを目的とする。
【課題を解決するための手段】
【0010】
本開示の積層セラミック電子部品は、第1軸に沿って積層された複数の誘電体層と、
前記第1軸に沿って隣接する前記誘電体層の間にそれぞれ配置された複数の内部電極層と、
前記誘電体層と、前記内部電極層との間に配置された中間領域と、を有し、
前記誘電体層は、一般式ABO
3-α
(0≦α≦1)で表され、ペロブスカイト型構造を有する化合物、および添加元素を含有し、
前記内部電極層は、主成分としての卑金属元素および銅を含有し、
前記中間領域は、前記添加元素および銅を含有しており、
前記添加元素は、ホルミウム、イットリウム、サマリウム、ジスプロシウム、ユーロピウム、ガドリウム、テルビウム、エルビウム、ツリウム、およびイッテルビウムから選択された1種類以上を含む。
【発明の効果】
(【0011】以降は省略されています)
この特許をJ-PlatPat(特許庁公式サイト)で参照する
関連特許
太陽誘電株式会社
表示装置
1か月前
太陽誘電株式会社
コイル部品
1か月前
太陽誘電株式会社
コイル部品
1か月前
太陽誘電株式会社
コイル部品
1か月前
太陽誘電株式会社
コイル部品
1か月前
太陽誘電株式会社
生体情報測定装置
1か月前
太陽誘電株式会社
セラミック電子部品
1か月前
太陽誘電株式会社
グルコース濃度推定装置
1か月前
太陽誘電株式会社
積層セラミック電子部品
1か月前
太陽誘電株式会社
積層セラミック電子部品
1か月前
太陽誘電株式会社
積層セラミック電子部品
1か月前
太陽誘電株式会社
センサ装置および取付方法
1か月前
太陽誘電株式会社
積層セラミックコンデンサ
1か月前
太陽誘電株式会社
コイル部品および実装基板
1か月前
太陽誘電株式会社
フィルタ及びマルチプレクサ
1か月前
太陽誘電株式会社
血圧測定装置および血圧測定方法
1か月前
太陽誘電株式会社
コイル部品、コイル部品の製造方法
1か月前
太陽誘電株式会社
コイル部品、コイル部品の製造方法
1か月前
太陽誘電株式会社
コイル部品及びコイル部品の製造方法
1か月前
太陽誘電株式会社
積層セラミックコンデンサ及び回路基板
1か月前
太陽誘電株式会社
積層セラミックコンデンサ及び回路基板
2日前
太陽誘電株式会社
積層セラミックコンデンサ及び回路基板
1か月前
太陽誘電株式会社
積層セラミックコンデンサ及び回路基板
1か月前
太陽誘電株式会社
磁性基体及び磁性基体を備えるコイル部品
1か月前
太陽誘電株式会社
電子デバイス及び電子デバイスの製造方法
23日前
太陽誘電株式会社
積層セラミック電子部品及びその製造方法
1か月前
太陽誘電株式会社
積層セラミック電子部品およびその製造方法
1か月前
太陽誘電株式会社
積層セラミック電子部品およびその製造方法
1か月前
太陽誘電株式会社
積層セラミック電子部品およびその製造方法
1か月前
太陽誘電株式会社
弾性波デバイスの製造方法及び弾性波デバイス
23日前
太陽誘電株式会社
弾性波デバイス及び弾性波デバイスの製造方法
23日前
太陽誘電株式会社
弾性波デバイスの製造方法及び弾性波デバイス
23日前
太陽誘電株式会社
弾性波デバイス、フィルタ、及びマルチプレクサ
23日前
太陽誘電株式会社
心拍検出システム、心拍検出方法およびプログラム
1か月前
太陽誘電株式会社
位置情報システム、情報処理装置及び情報処理方法
1か月前
太陽誘電株式会社
非粘着性の機能膜を備える構造体及び当該構造体の製造方法
18日前
続きを見る
他の特許を見る