TOP
|
特許
|
意匠
|
商標
特許ウォッチ
Twitter
他の特許を見る
10個以上の画像は省略されています。
公開番号
2025145067
公報種別
公開特許公報(A)
公開日
2025-10-03
出願番号
2024045048
出願日
2024-03-21
発明の名称
バッテリパック及び車両の制御装置
出願人
太陽誘電株式会社
代理人
個人
主分類
B62M
6/45 20100101AFI20250926BHJP(鉄道以外の路面車両)
要約
【課題】電動車両に対して着脱可能なバッテリパックに設けられる、外部機器への給電端子から盗電されることを効果的に防止する。
【解決手段】本バッテリパックは、バッテリと、バッテリから電動車両の制御部とは異なる外部機器に対して給電する給電部と、電動車両に装着されているか否かを検出する検出部と、電動車両に装着されていると検出されているが電動車両の制御部から電動車両が走行中であることを表す信号を受信していない第1の場合に、給電部に外部機器に対する給電を停止させる制御部とを有する。
【選択図】図3
特許請求の範囲
【請求項1】
バッテリと、
前記バッテリから電動車両の制御部とは異なる外部機器に対して給電する給電部と、
前記電動車両に装着されているか否かを検出する検出部と、
前記電動車両に装着されていると検出されているが前記電動車両の制御部から前記電動車両が走行中であることを表す信号を受信していない第1の場合に、前記給電部に前記外部機器に対する給電を停止させる制御部と、
を有するバッテリパック。
続きを表示(約 1,000 文字)
【請求項2】
前記制御部は、
前記電動車両に装着されていないと検出された第2の場合と、前記電動車両の制御部から前記信号を受信した第3の場合とに、前記給電部に前記外部機器に対する給電を許可する
請求項1記載のバッテリパック。
【請求項3】
前記制御部は、
前記信号を受信している状態から前記電動車両が走行中ではないことを表す第2の信号を受信する状態に遷移すると、所定時間だけ前記給電部に前記外部機器に対する給電の許可を継続する
請求項1記載のバッテリパック。
【請求項4】
前記検出部は、
前記電動車両の制御部への接続を電気的に検出する検出部と、
前記電動車両への装着により物理的又は磁気的にオンとされるスイッチからの信号を検出する検出部と、
のいずれかである請求項1記載のバッテリパック。
【請求項5】
前記制御部は、
前記第1の場合においても前記給電部に前記外部機器に対する給電を可能にする設定がなされているかを判断し、当該設定がなされている場合には、前記第1の場合においても、前記給電部に前記外部機器に対する給電を許可する
請求項1記載のバッテリパック。
【請求項6】
前記制御部は、
前記電動車両に装着されていないと検出されている状態において、前記設定の変更を受け付ける
請求項5記載のバッテリパック。
【請求項7】
前記制御部は、
無線通信を介しての設定変更指示に応じて、前記設定の変更を受け付ける
請求項5記載のバッテリパック。
【請求項8】
ペダル回転とモータ回転と車輪回転との少なくともいずれかに基づき、電動車両が走行中であるか否かを判断する判断部と、
前記電動車両が走行中であると判断された場合、外部機器への給電を行うことができるバッテリパックに対して前記電動車両が走行中であることを表す信号を出力する出力部と、
を有する、電動車両の制御装置。
【請求項9】
前記出力部は、
前記電動車両が走行中であると判断された後前記電動車両が走行中ではないと判断されると、所定時間、走行中とみなす状態であることを表す信号を出力する
請求項8記載の制御装置。
発明の詳細な説明
【技術分野】
【0001】
本発明は、電動アシスト車や電動バイクなどの電動車両に用いられるバッテリパックに設けられる、外部機器への給電端子から盗電されることを防止するための技術に関する。
続きを表示(約 2,400 文字)
【背景技術】
【0002】
例えば特許文献1には、電動アシスト自転車のバッテリであって、電動アシスト自転車の制御装置との接続部とは異なる端子を設けて、当該端子で外部機器に充放電可能なバッテリが開示されている。しかしながら、本文献では、この端子に、特別なバッテリ充電器を接続して、このバッテリ充電器を用いて外部機器に充放電することが開示されているに過ぎず、バッテリや電動アシスト自転車の保有者以外の第三者が勝手に外部機器を端子に接続してバッテリ内の電力を使用してしまうことは想定されていない。
【0003】
また、電気自動車にUSB(Universal Serial Bus)端子を設けて外部機器への給電を可能にする構成について述べている文献(例えば特許文献2及び3)はあるが、第三者がアクセスできないような物理的構造を備えることで、第三者による給電システムの操作を防止するようになっている。
【0004】
電動アシスト車や電動バイクなどの電動車両に用いられるバッテリパックにUSB端子などを設けて外部機器に対して給電可能にすることはユーザの利便性向上につながるが、何らの制限無く給電可能にすると、正当なユーザ以外の第三者が勝手にバッテリパックの電力を使用してしまうという問題がある。一方で、小型のバッテリパックに第三者による操作を防止するような物理的構造を設けることは、コスト面などから妥当ではない。
【先行技術文献】
【特許文献】
【0005】
WO2013/001909
特開2013-233020号公報
特開2013-230730号公報
【発明の概要】
【発明が解決しようとする課題】
【0006】
従って、本発明の目的は、一側面として、電動車両に対して着脱可能なバッテリパックに設けられる、外部機器への給電端子から盗電されることを効果的に防止するための技術を提供することである。
【課題を解決するための手段】
【0007】
本発明に係るバッテリパックは、(A)バッテリと、(B)バッテリから電動車両の制御部とは異なる外部機器に対して給電する給電部と、(C)電動車両に装着されているか否かを検出する検出部と、(D)電動車両に装着されていると検出されているが電動車両の制御部から電動車両が走行中であることを表す信号を受信していない第1の場合に、給電部に外部機器に対する給電を停止させる制御部とを有する。
【0008】
本発明に係る、電動車両の制御装置は、(A)ペダル回転とモータ回転と車輪回転との少なくともいずれかに基づき、電動車両が走行中であるか否かを判断する判断部と、(B)電動車両が走行中であると判断された場合、外部機器に給電することができるバッテリパックに対して電動車両が走行中であることを表す信号を出力する出力部とを有する。
【発明の効果】
【0009】
一側面として、電動車両に対して着脱可能なバッテリパックに設けられる、外部機器への給電端子から盗電されることを効果的に防止できるようになる。
【図面の簡単な説明】
【0010】
図1は、電動アシスト自転車の外観を示す図である。
図2は、電動アシスト自転車に装着されたバッテリパックを示す図である。
図3は、外部機器に対する給電の可否のケース分けを示す図である。
図4は、第1の実施の形態におけるバッテリパック及びモータ制御装置の構成例を示す図である。
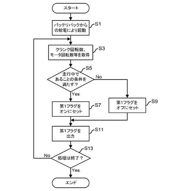
図5は、第1の実施の形態に係るモータ制御装置の動作フローを示す図である。
図6Aは、クランク回転数に基づき走行中か否かを表す場合における状態分けを示す図である。
図6Bは、モータ回転数に基づき走行中か否かを表す場合における状態分けを示す図である。
図6Cは、モータ回転数及びクランク回転数に基づき走行中か否かを表す場合における状態分けの一例を示す図である。
図6Dは、モータ回転数及びクランク回転数に基づき走行中か否かを表す場合における状態分けの他の例を示す図である。
図7は、第1の実施の形態に係るバッテリパックの動作フローを示す図である。
図8は、第2の実施の形態に係る電動アシスト自転車とバッテリパックとの関係を表す図である。
図9は、第2の実施の形態におけるバッテリパック及びモータ制御装置の構成例を示す図である。
図10は、第3の実施の形態におけるバッテリパックの底面を表す図である。
図11は、第3の実施の形態におけるバッテリパック及びモータ制御装置の構成例を示す図である。
図12は、第4の実施の形態に係るモータ制御装置の動作フローを示す図である。
図13は、第4の実施の形態に係る判定処理のフローを示す図である。
図14は、第4の実施の形態に係るバッテリパックの動作フローを示す図である。
図15は、外部機器に対する給電の可否のケース分けの他の態様を示す図である。
図16は、第5の実施の形態に係るバッテリパックの動作フローを示す図である。
図17は、第5の実施の形態に係る設定切替処理のフローを示す図である。
図18は、第5の実施の形態に係る電池ボタンの押下とLED表示の関係を表す図である。
図19は、第6の実施の形態に係るシステムの一例を示す図である。
図20は、第6の実施の形態に係る無線通信端末における処理を示す図である。
図21は、第6の実施の形態に係るバッテリパックにおける処理を示す図である。
【発明を実施するための形態】
(【0011】以降は省略されています)
この特許をJ-PlatPat(特許庁公式サイト)で参照する
関連特許
太陽誘電株式会社
全固体電池
7日前
太陽誘電株式会社
コイル部品
1日前
太陽誘電株式会社
導波路装置
7日前
太陽誘電株式会社
感覚提示システム
1か月前
太陽誘電株式会社
積層セラミック電子部品
2日前
太陽誘電株式会社
積層セラミック電子部品
1か月前
太陽誘電株式会社
グルコース濃度推定装置
1日前
太陽誘電株式会社
電動アシスト車の制御装置
1か月前
太陽誘電株式会社
コイル部品および実装基板
1日前
太陽誘電株式会社
積層セラミックコンデンサ
1日前
太陽誘電株式会社
センサ装置および取付方法
1日前
太陽誘電株式会社
フィルタ及びマルチプレクサ
2日前
太陽誘電株式会社
導波路装置およびレーダ装置
7日前
太陽誘電株式会社
血圧測定装置および血圧測定方法
1日前
太陽誘電株式会社
バッテリパック及び車両の制御装置
7日前
太陽誘電株式会社
特徴量取得装置および特徴量取得方法
21日前
太陽誘電株式会社
積層セラミックコンデンサ及び回路基板
3日前
太陽誘電株式会社
積層セラミックコンデンサ及び回路基板
1か月前
太陽誘電株式会社
積層セラミックコンデンサ及び回路基板
1日前
太陽誘電株式会社
積層セラミックコンデンサ及び回路基板
14日前
太陽誘電株式会社
積層セラミックコンデンサ及び回路基板
11日前
太陽誘電株式会社
積層セラミックコンデンサ及び回路基板
11日前
太陽誘電株式会社
積層セラミック電子部品及びその製造方法
1か月前
太陽誘電株式会社
圧電トランスデューサおよび電気音響装置
9日前
太陽誘電株式会社
積層セラミック電子部品およびその製造方法
1日前
太陽誘電株式会社
電子部品の検査方法および電子部品の製造方法
11日前
太陽誘電株式会社
弾性波デバイス、フィルタ、及びマルチプレクサ
7日前
太陽誘電株式会社
位置情報システム、情報処理装置及び情報処理方法
2日前
太陽誘電株式会社
存在検知システム、存在判定装置および存在判定方法
21日前
太陽誘電株式会社
多重モード型フィルタ、フィルタ、及びマルチプレクサ
7日前
太陽誘電株式会社
弾性波デバイス、フィルタ、及び弾性波デバイスの製造方法
21日前
太陽誘電株式会社
測位システム、測位装置、測位方法、および測位プログラム
1か月前
太陽誘電株式会社
測位システム、測位装置、測位方法、および測位プログラム
1か月前
太陽誘電株式会社
積層セラミック電子部品、及び積層セラミック電子部品の製造方法
7日前
太陽誘電株式会社
セラミック電子部品
10日前
太陽誘電株式会社
弾性波デバイス、フィルタ、マルチプレクサ、及び弾性波デバイスの製造方法
7日前
続きを見る
他の特許を見る