TOP
|
特許
|
意匠
|
商標
特許ウォッチ
Twitter
他の特許を見る
公開番号
2025144905
公報種別
公開特許公報(A)
公開日
2025-10-03
出願番号
2024044822
出願日
2024-03-21
発明の名称
蓄電装置
出願人
株式会社GSユアサ
代理人
個人
主分類
H01M
50/289 20210101AFI20250926BHJP(基本的電気素子)
要約
【課題】簡易な構成で信頼性が向上した蓄電装置を提供する。
【解決手段】蓄電装置は、第一方向Yに並ぶ複数の蓄電素子100と第一方向に並ぶ複数のホルダ200であって、夫々が複数の蓄電素子のうちの1以上を保持する複数のホルダとを備え、複数のホルダは第一ホルダ200A及びその第一方向の一方側に配置された第二ホルダ200Bを含み、複数の蓄電素子の夫々は第二方向Zに端子を備え、第一ホルダは第一ホルダ本体201Aと第一ホルダ本体から突出する第一突出部210Aと第一突出部に設けられた第一凸部211Aとを備え、第一突出部は第一ホルダ本体の第三方向Xの端部に配置され、第一凸部は、第一突出部から第一方向の一方側に突出し、第二ホルダは第二ホルダ本体と第二ホルダ本体から突出する第二突出部210Bと第二突出部を第一方向に貫通する第二開口部211Bとを備え、第一凸部は、第二開口部に挿入され、かつ第二開口部を貫通している。
【選択図】図3
特許請求の範囲
【請求項1】
第一方向に並ぶ複数の蓄電素子と、
前記第一方向に並ぶ複数のホルダであって、それぞれが、前記複数の蓄電素子のうちの1以上の蓄電素子を保持する複数のホルダと、を備え、
前記複数のホルダは、第一ホルダ、及び、前記第一ホルダの前記第一方向の一方側に配置された第二ホルダを含み、
前記複数の蓄電素子のそれぞれは、前記第一方向と直交する第二方向に端子を備え、
前記第一ホルダは、第一ホルダ本体と、前記第一ホルダ本体から突出する第一突出部と、前記第一突出部に設けられた第一凸部と、を備え、
前記第一突出部は、前記第一ホルダ本体の、前記第一方向及び前記第二方向と直交する第三方向の端部に配置され、
前記第一凸部は、前記第一突出部から前記第一方向の一方側に突出し、
前記第二ホルダは、第二ホルダ本体と、前記第二ホルダ本体から突出する第二突出部と、前記第二突出部を前記第一方向に貫通する第二開口部と、を備え、
前記第一凸部は、前記第二開口部に挿入され、かつ、前記第二開口部を貫通している、
蓄電装置。
続きを表示(約 590 文字)
【請求項2】
前記第一突出部は、前記第一ホルダ本体の前記第三方向の端部から前記第三方向に突出している、
請求項1に記載の蓄電装置。
【請求項3】
前記第一ホルダは、前記複数の蓄電素子のうちの第一蓄電素子を保持し、
前記第一ホルダ本体は、前記第一蓄電素子の前記第三方向の側面に対向する第一側壁部を備え、
前記第一突出部は、前記第一側壁部に設けられている、
請求項1または2に記載の蓄電装置。
【請求項4】
前記複数のホルダは、さらに、前記第一ホルダの前記第一方向の他方側に配置された第三ホルダを含み、
前記第一ホルダは、さらに、前記第一ホルダ本体の前記第三方向の端部に配置され、かつ、前記第一ホルダ本体から突出する第三突出部と、前記第三突出部に設けられた第一開口部と、を備え、
前記第三ホルダは、第三ホルダ本体と、前記第三ホルダ本体から突出する第四突出部と、前記第四突出部に設けられた第三凸部と、を備え、
前記第三凸部は、前記第一開口部に挿入されている、
請求項1または2に記載の蓄電装置。
【請求項5】
前記第一突出部及び前記第三突出部のそれぞれは、前記第一ホルダにおいて、前記第二方向で互いに異なる位置に配置されている、
請求項4に記載の蓄電装置。
発明の詳細な説明
【技術分野】
【0001】
本発明は、蓄電装置に関する。
続きを表示(約 2,400 文字)
【背景技術】
【0002】
特許文献1には、複数の電池セルを有する電池モジュールが開示されている。各電池セルは、個別の電池ホルダに保持された状態で並設されている。各電池ホルダに保持された電池セルは、並設方向の両側に設けられた第1エンドプレートと、第2エンドプレートとによって挟持されている。第1エンドプレートには、第2エンドプレートに向けてボルトが挿通されており、第2エンドプレートを挿通したボルトにナットを螺合することで第1エンドプレートと第2エンドプレートとによって各電池ホルダに保持された電池セルが挟持されている。
【先行技術文献】
【特許文献】
【0003】
特開2016-54063号公報
【発明の概要】
【発明が解決しようとする課題】
【0004】
上記従来の電池モジュールでは、個別の電池ホルダに保持された状態で並設された複数の電池セルは、ボルト及びナットによって連結された第1エンドプレート及び第2エンドプレートによって挟持される。この構造によれば、例えば、複数の電池ホルダ及び複数の電池セルからなる配列体を電池セルの並設方向で固定できる一方で、並設方向に長尺状のボルト及びナットの組が複数用いられる。そのため、例えば、電池モジュールの重量の増加または/及び電池モジュールの部品点数の増加等の問題が生じる。
【0005】
本発明は、本願発明者が上記課題に新たに着目することによってなされたものであり、簡易な構成で信頼性が向上された蓄電装置を提供することを目的とする。
【課題を解決するための手段】
【0006】
本発明の一態様に係る蓄電装置は、第一方向に並ぶ複数の蓄電素子と、前記第一方向に並ぶ複数のホルダであって、それぞれが、前記複数の蓄電素子のうちの1以上の蓄電素子を保持する複数のホルダと、を備え、前記複数のホルダは、第一ホルダ、及び、前記第一ホルダの前記第一方向の一方側に配置された第二ホルダを含み、前記複数の蓄電素子のそれぞれは、前記第一方向と直交する第二方向に端子を備え、前記第一ホルダは、第一ホルダ本体と、前記第一ホルダ本体から突出する第一突出部と、前記第一突出部に設けられた第一凸部と、を備え、前記第一突出部は、前記第一ホルダ本体の、前記第一方向及び前記第二方向と直交する第三方向の端部に配置され、前記第一凸部は、前記第一突出部から前記第一方向の一方側に突出し、前記第二ホルダは、第二ホルダ本体と、前記第二ホルダ本体から突出する第二突出部と、前記第二突出部を前記第一方向に貫通する第二開口部と、を備え、前記第一凸部は、前記第二開口部に挿入され、かつ、前記第二開口部を貫通している。
【発明の効果】
【0007】
本発明によれば、簡易な構成で信頼性が向上された蓄電装置を提供できる。
【図面の簡単な説明】
【0008】
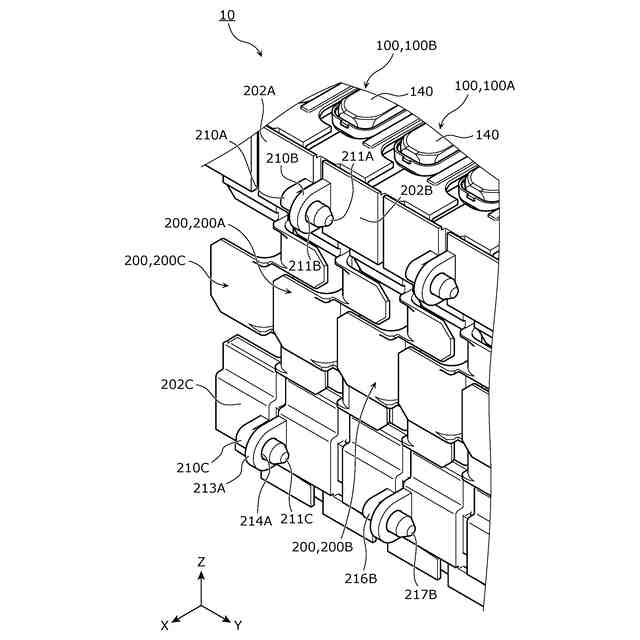
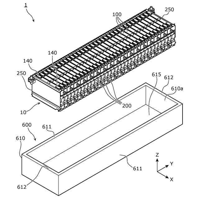
図1は、実施の形態に係る蓄電装置の構成を示す斜視図である。
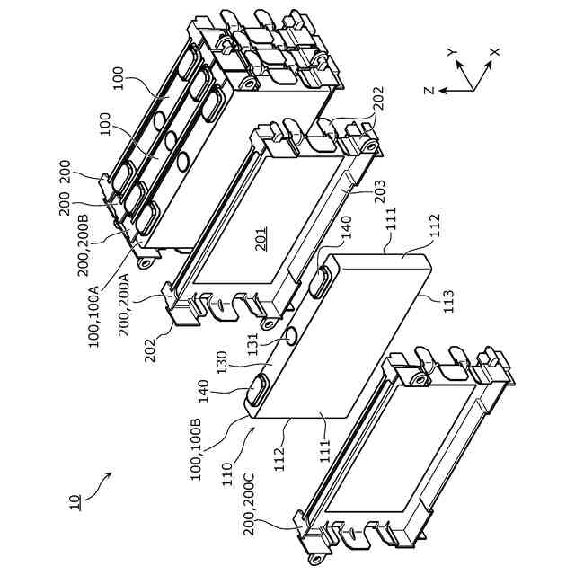
図2は、実施の形態に係る蓄電ユニットの分解斜視図である。
図3は、実施の形態に係るホルダ及びその周辺の構成を示す斜視図である。
図4は、実施の形態に係る蓄電ユニットの一部を示す第1の部分斜視図である。
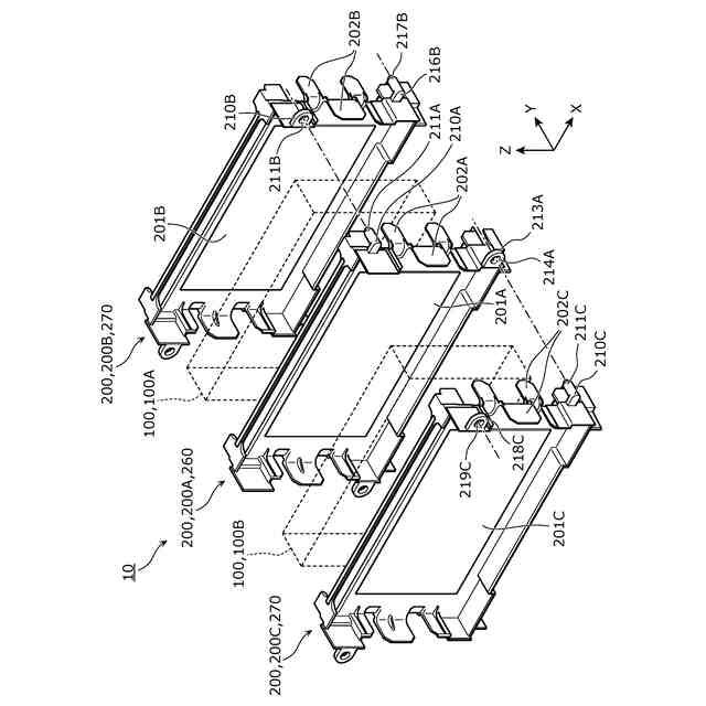
図5は、実施の形態に係る蓄電ユニットの一部を示す第2の部分斜視図である。
【発明を実施するための形態】
【0009】
(1)本発明の一態様に係る蓄電装置は、第一方向に並ぶ複数の蓄電素子と、前記第一方向に並ぶ複数のホルダであって、それぞれが、前記複数の蓄電素子のうちの1以上の蓄電素子を保持する複数のホルダと、を備え、前記複数のホルダは、第一ホルダ、及び、前記第一ホルダの前記第一方向の一方側に配置された第二ホルダを含み、前記複数の蓄電素子のそれぞれは、前記第一方向と直交する第二方向に端子を備え、前記第一ホルダは、第一ホルダ本体と、前記第一ホルダ本体から突出する第一突出部と、前記第一突出部に設けられた第一凸部と、を備え、前記第一突出部は、前記第一ホルダ本体の、前記第一方向及び前記第二方向と直交する第三方向の端部に配置され、前記第一凸部は、前記第一突出部から前記第一方向の一方側に突出し、前記第二ホルダは、第二ホルダ本体と、前記第二ホルダ本体から突出する第二突出部と、前記第二突出部を前記第一方向に貫通する第二開口部と、を備え、前記第一凸部は、前記第二開口部に挿入され、かつ、前記第二開口部を貫通している。
【0010】
本発明の一態様に係る蓄電装置によれば、第一ホルダには、複数の蓄電素子の並び方向である第一方向の一方側に突出する第一凸部が設けられ、かつ、第二ホルダには、第一凸部が挿入される第二開口部が設けられる。つまり、第一方向で隣り合う2つのホルダが連結される。そのため、例えば、第一ホルダの第二方向の移動が、第二ホルダによって規制される。これにより、例えば、他の部材を用いることなく、複数の蓄電素子を精度よく第一方向に並べることができる。さらに、第一凸部は、第一ホルダ本体から突出する第一突出部に設けられ、かつ、第二開口部は、第二ホルダ本体から突出する第二突出部に設けられる。従って、例えば、第一凸部及び第二開口部のサイズ及び形状の自由度が高い。さらに、第一凸部は第二開口部を貫通した状態で配置される。従って、第二開口部が有底の穴である場合と比較すると、第一凸部の第一方向の長さを大きくできる。これにより、例えば第一凸部が第二開口部から外れ難くなる。このように、本態様に係る蓄電装置は、簡易な構成で信頼性が向上された蓄電装置である。
(【0011】以降は省略されています)
この特許をJ-PlatPat(特許庁公式サイト)で参照する
関連特許
株式会社GSユアサ
蓄電装置
25日前
株式会社GSユアサ
蓄電装置
1か月前
株式会社GSユアサ
蓄電装置
9日前
株式会社GSユアサ
蓄電装置
1か月前
株式会社GSユアサ
蓄電装置
17日前
株式会社GSユアサ
蓄電装置
1か月前
株式会社GSユアサ
蓄電装置
1か月前
株式会社GSユアサ
蓄電バンクの監視システム
1か月前
株式会社GSユアサ
非水電解質蓄電素子及びその製造方法
1か月前
株式会社GSユアサ
非水電解質蓄電素子及びその使用方法
18日前
株式会社GSユアサ
デバイス装置、エネルギー貯蔵システム
1か月前
株式会社GSユアサ
非水ゲル電解質、及び非水電解質蓄電素子
2日前
株式会社GSユアサ
全固体蓄電素子及び全固体蓄電素子の製造方法
3日前
株式会社GSユアサ
蓄電素子
1か月前
株式会社GSユアサ
蓄電素子用の正極活物質、蓄電素子用の正極及び蓄電素子
1か月前
株式会社GSユアサ
鉛蓄電池用正極集電体、および鉛蓄電池用集電体の製造方法
1か月前
株式会社GSユアサ
蓄電システム
19日前
株式会社GSユアサ
蓄電情報処理方法、コンピュータプログラム及び蓄電情報処理装置
1か月前
株式会社GSユアサ
充放電ステーション
1か月前
株式会社GSユアサ
情報処理装置及び端末装置
1か月前
株式会社GSユアサ
蓄電装置、組電池の異常検出方法
1か月前
株式会社GSユアサ
硫化物固体電解質及び全固体電池
11日前
株式会社GSユアサ
硫化物固体電解質及び全固体電池
1か月前
株式会社GSユアサ
蓄電装置、電流遮断装置の制御方法
17日前
株式会社GSユアサ
回収支援装置、回収支援システム及び回収支援方法
1か月前
株式会社GSユアサ
制御方法、制御装置、及びコンピュータプログラム
1か月前
株式会社GSユアサ
情報処理方法、情報処理装置、及びコンピュータプログラム
9日前
株式会社GSユアサ
情報処理装置、情報処理システム、情報処理方法及びコンピュータプログラム
1か月前
株式会社GSユアサ
硫化物固体電解質の製造方法、硫化物固体電解質、全固体電池、及び硫化物固体電解質の製造に用いる原料化合物の選択方法
25日前
株式会社GSユアサ
硫化物固体電解質の製造方法、硫化物固体電解質、全固体電池、及び硫化物固体電解質の製造に用いる原料化合物の選択方法
1か月前
APB株式会社
蓄電セル
1か月前
東ソー株式会社
絶縁電線
1か月前
日機装株式会社
加圧装置
2日前
ローム株式会社
半導体装置
1か月前
株式会社東芝
端子台
1か月前
日新イオン機器株式会社
イオン源
2日前
続きを見る
他の特許を見る