TOP
|
特許
|
意匠
|
商標
特許ウォッチ
Twitter
他の特許を見る
10個以上の画像は省略されています。
公開番号
2025154150
公報種別
公開特許公報(A)
公開日
2025-10-10
出願番号
2024057002
出願日
2024-03-29
発明の名称
蓄電設備
出願人
株式会社GSユアサ
代理人
個人
主分類
H01M
10/6563 20140101AFI20251002BHJP(基本的電気素子)
要約
【課題】省スペース化を図りつつ、空調性能(冷房性能または暖房性能)の低下を抑制できる蓄電設備を提供する。
【解決手段】蓄電設備は、蓄電素子及び電力変換器の少なくとも一方を収容する電気盤と、電気盤の上方に配置され、電気盤の内部空間の空気を循環させる第一空調装置及び第二空調装置と、を備え、第一空調装置は、電気盤の周囲空気に連通する、第一吸気口と第一排気口と、を備え、第二空調装置は、電気盤の周囲空気に連通する、第二吸気口と第二排気口と、を備え、第一吸気口は、第二排気口と対向する位置とは異なる位置に配置される。
【選択図】図4
特許請求の範囲
【請求項1】
蓄電素子及び電力変換器の少なくとも一方を収容する電気盤と、
前記電気盤の上方に配置され、前記電気盤の内部空間の空気を循環させる第一空調装置及び第二空調装置と、を備え、
前記第一空調装置は、前記電気盤の周囲空気に連通する、第一吸気口と第一排気口と、を備え、
前記第二空調装置は、前記電気盤の周囲空気に連通する、第二吸気口と第二排気口と、を備え、
前記第一吸気口は、前記第二排気口と対向する位置とは異なる位置に配置される
蓄電設備。
続きを表示(約 470 文字)
【請求項2】
前記電気盤は、
蓄電素子を収容する第一電気盤と、
蓄電素子及び電力変換器の少なくとも一方を収容し、前記第一電気盤と隣り合って配置される第二電気盤と、を備え、
前記第一空調装置は、前記第一電気盤の上方に配置され、
前記第二空調装置は、前記第二電気盤の上方に配置される
請求項1に記載の蓄電設備。
【請求項3】
平面視における、前記第一電気盤及び前記第二電気盤の並び方向と交差する方向において、前記第一電気盤の中心位置と前記第一空調装置の中心位置とは異なって配置され、前記第二電気盤の中心位置と前記第二空調装置の中心位置とは異なって配置され、かつ、前記第一空調装置の中心位置と前記第二空調装置の中心位置とは異なって配置される
請求項2に記載の蓄電設備。
【請求項4】
平面視において、前記第一吸気口及び前記第二吸気口の少なくとも一方は、前記電気盤の天板の外方に向けて開口している
請求項1~3のいずれか一項に記載の蓄電設備。
発明の詳細な説明
【技術分野】
【0001】
本発明は、蓄電設備に関する。
続きを表示(約 2,100 文字)
【背景技術】
【0002】
特許文献1には、密閉される収納盤と、収納盤内部の空気を吸入し、外部から吸入した空気に放熱させて温度を低下させ、収納盤内部に排出する熱交換器と、を備えるパワーコンディショナが開示されている。
【先行技術文献】
【特許文献】
【0003】
特許第6345578号公報
【発明の概要】
【発明が解決しようとする課題】
【0004】
上記特許文献1に開示されたパワーコンディショナでは、収納盤の側方に複数の熱交換器を備えている。このような従来のパワーコンディショナでは、収納盤の側方に複数の熱交換器を配置するためのスペースが必要であり、当該パワーコンディショナを狭小地等に設置するのが困難となるおそれがある。このため、収納盤上に複数の熱交換器を配置することが考えられるが、この場合には、複数の熱交換器を配置するスペースが限られるため、複数の熱交換器の配置によっては、熱交換器の冷却性能が低下するおそれがある。さらに、蓄電池モジュール等を収納した収納盤に熱交換器を上記のように配置し、当該収納盤を複数設置する場合は、なおさら、設置スペースの増大や冷却性能の低下の悪影響が懸念される。
【0005】
本発明は、本願発明者が上記課題に新たに着目することによってなされたものであり、省スペース化を図りつつ空調性能(冷房性能または暖房性能)の低下を抑制できる蓄電設備を提供することを目的とする。
【課題を解決するための手段】
【0006】
本発明の一態様に係る蓄電設備は、蓄電素子及び電力変換器の少なくとも一方を収容する電気盤と、前記電気盤の上方に配置され、前記電気盤の内部空間の空気を循環させる第一空調装置及び第二空調装置と、を備え、前記第一空調装置は、前記電気盤の周囲空気に連通する、第一吸気口と第一排気口と、を備え、前記第二空調装置は、前記電気盤の周囲空気に連通する、第二吸気口と第二排気口と、を備え、前記第一吸気口は、前記第二排気口と対向する位置とは異なる位置に配置される。
【発明の効果】
【0007】
本発明における蓄電設備によれば、省スペース化を図りつつ空調性能の低下を抑制できる。
【図面の簡単な説明】
【0008】
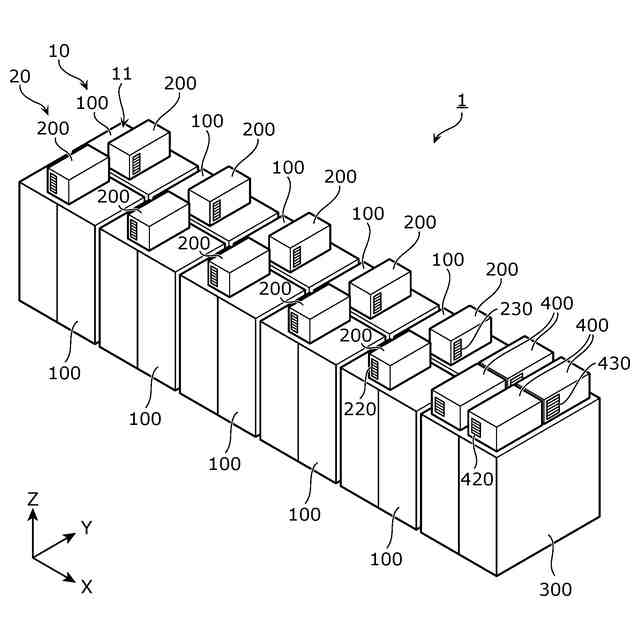
図1は、実施の形態に係る蓄電設備の構成を示す斜視図である。
図2は、実施の形態に係る蓄電設備が備える4つの電気盤及び4つの空調装置の構成を示す斜視図である。
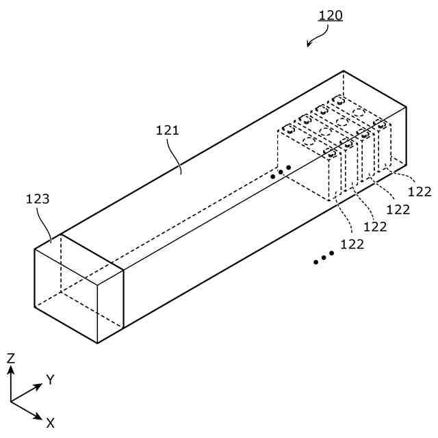
図3は、実施の形態に係る電気盤が備える蓄電装置の構成を示す斜視図である。
図4は、実施の形態に係る複数の空調装置の外部吸気口及び外部排気口の位置関係を示す平面図である。
図5は、実施の形態の変形例1に係る蓄電設備における複数の空調装置の外部吸気口及び外部排気口の位置関係を示す平面図である。
図6は、実施の形態の変形例2に係る蓄電設備における複数の空調装置の外部吸気口及び外部排気口の位置関係を示す平面図である。
図7は、実施の形態の変形例3に係る蓄電設備における複数の空調装置の外部吸気口及び外部排気口の位置関係を示す平面図である。
図8は、実施の形態の変形例4に係る蓄電設備における複数の空調装置の外部吸気口及び外部排気口の位置関係を示す平面図である。
図9は、実施の形態の変形例5に係る蓄電設備における複数の空調装置の外部吸気口及び外部排気口の位置関係を示す平面図である。
【発明を実施するための形態】
【0009】
(1)本発明の一態様に係る蓄電設備は、蓄電素子及び電力変換器の少なくとも一方を収容する電気盤と、前記電気盤の上方に配置され、前記電気盤の内部空間の空気を循環させる第一空調装置及び第二空調装置と、を備え、前記第一空調装置は、前記電気盤の周囲空気に連通する、第一吸気口と第一排気口と、を備え、前記第二空調装置は、前記電気盤の周囲空気に連通する、第二吸気口と第二排気口と、を備え、前記第一吸気口は、前記第二排気口と対向する位置とは異なる位置に配置される。
【0010】
本発明の一態様に係る蓄電設備によれば、電気盤の上方に配置される第一空調装置及び第二空調装置を備え、第一空調装置の第一吸気口は、第二空調装置の第二排気口と対向する位置とは異なる位置に配置される。このように、電気盤の上方に第一空調装置及び第二空調装置を配置することで、狭小地等の狭い土地にも電気盤を配置できる等、省スペース化を図ることができる。この構成において、第一空調装置の第一吸気口を、第二空調装置の第二排気口と対向しない位置に配置する。これにより、第一空調装置の第一吸気口が、第二空調装置の第二排気口からの排気を吸い込むのを抑制できるため、第一空調装置の性能が低下するのを抑制できる。したがって、蓄電設備によれば、省スペース化を図りつつ空調性能(冷房性能または暖房性能)の低下を抑制できる。
(【0011】以降は省略されています)
この特許をJ-PlatPat(特許庁公式サイト)で参照する
関連特許
株式会社GSユアサ
鉛蓄電池
1か月前
株式会社GSユアサ
蓄電装置
17日前
株式会社GSユアサ
蓄電装置
3日前
株式会社GSユアサ
PCS盤
1か月前
株式会社GSユアサ
蓄電装置
1か月前
株式会社GSユアサ
蓄電設備
1か月前
株式会社GSユアサ
蓄電装置
25日前
株式会社GSユアサ
蓄電装置
25日前
株式会社GSユアサ
蓄電装置
11日前
株式会社GSユアサ
蓄電設備
1か月前
株式会社GSユアサ
蓄電バンクの監視システム
16日前
株式会社GSユアサ
鉛蓄電池用極板及び鉛蓄電池
1か月前
株式会社GSユアサ
鉛蓄電池用極板及び鉛蓄電池
1か月前
株式会社GSユアサ
電力変換器、充電装置及び車両
1か月前
株式会社GSユアサ
非水電解質蓄電素子及びその製造方法
18日前
株式会社GSユアサ
非水電解質蓄電素子及びその使用方法
4日前
株式会社GSユアサ
デバイス装置、エネルギー貯蔵システム
16日前
株式会社GSユアサ
電力変換器、多脚トランス、充電装置及び車両
1か月前
株式会社GSユアサ
非水電解質蓄電素子、その使用方法及びその製造方法
1か月前
株式会社GSユアサ
エネルギー貯蔵システム、蓄電バンクの初期充電方法
1か月前
株式会社GSユアサ
電力変換器、電力変換器の制御方法、充電装置及び車両
1か月前
株式会社GSユアサ
蓄電素子用の正極活物質、蓄電素子用の正極及び蓄電素子
1か月前
株式会社GSユアサ
蓄電素子
1か月前
株式会社GSユアサ
エネルギー貯蔵システム、蓄電池盤の満充電容量計測方法。
1か月前
株式会社GSユアサ
鉛蓄電池用正極集電体、および鉛蓄電池用集電体の製造方法
1か月前
株式会社GSユアサ
蓄電システム
5日前
株式会社GSユアサ
蓄電情報処理方法、コンピュータプログラム及び蓄電情報処理装置
1か月前
株式会社GSユアサ
充放電ステーション
1か月前
株式会社GSユアサ
情報処理装置及び端末装置
1か月前
株式会社GSユアサ
蓄電装置、組電池の異常検出方法
1か月前
株式会社GSユアサ
硫化物固体電解質及び全固体電池
26日前
株式会社GSユアサ
蓄電装置、電流遮断装置の制御方法
3日前
株式会社GSユアサ
回収支援装置、回収支援システム及び回収支援方法
1か月前
株式会社GSユアサ
制御方法、制御装置、及びコンピュータプログラム
24日前
株式会社GSユアサ
情報処理装置、情報処理システム、情報処理方法及びコンピュータプログラム
26日前
株式会社GSユアサ
硫化物固体電解質の製造方法、硫化物固体電解質、全固体電池、及び硫化物固体電解質の製造に用いる原料化合物の選択方法
1か月前
続きを見る
他の特許を見る