TOP
|
特許
|
意匠
|
商標
特許ウォッチ
Twitter
他の特許を見る
公開番号
2025160584
公報種別
公開特許公報(A)
公開日
2025-10-23
出願番号
2024063203
出願日
2024-04-10
発明の名称
蓄電装置
出願人
株式会社GSユアサ
代理人
弁理士法人暁合同特許事務所
主分類
G01R
31/54 20200101AFI20251016BHJP(測定;試験)
要約
【課題】簡素な構成により並列接続された半導体スイッチのオープン故障を診断する。
【解決手段】蓄電装置は、蓄電素子と、管理装置と、を備える。管理装置は、蓄電素子と蓄電素子を外部に接続するための接続端子との間の電流経路を遮断する遮断器と、制御部と、磁気センサと、を備える。遮断器は、複数の半導体スイッチが並列接続されて構成された複合スイッチを含み、複数の半導体スイッチのいずれか1つは第1半導体スイッチである。磁気センサは、第1半導体スイッチまたは第1半導体スイッチに接続される導電路の近傍に配置され、第1半導体スイッチとは電気的に非接触である。制御部は、磁気センサからの入力に基づいて、第1半導体スイッチに流れる電流値とされる第1電流値を取得する電流値取得処理と、取得された第1電流値が所定の許容範囲内にあるか否かを判定する判定処理と、を実行する。
【選択図】図5
特許請求の範囲
【請求項1】
蓄電素子と、管理装置と、を備える蓄電装置であって、
前記管理装置は、前記蓄電素子と前記蓄電素子を外部に接続するための接続端子との間の電流経路を遮断する遮断器と、制御部と、磁気センサと、を備え、
前記遮断器は、複数の半導体スイッチが並列接続されて構成された複合スイッチを含み、
前記複数の半導体スイッチのいずれか1つは第1半導体スイッチであり、
前記磁気センサは、前記第1半導体スイッチまたは前記第1半導体スイッチに接続される導電路の近傍に配置され、前記第1半導体スイッチとは電気的に非接触であり、
前記制御部は、
前記磁気センサからの入力に基づいて、前記第1半導体スイッチに流れる電流値とされる第1電流値を取得する電流値取得処理と、
取得された前記第1電流値が所定の許容範囲内にあるか否かを判定する判定処理と、
を実行する、蓄電装置。
続きを表示(約 550 文字)
【請求項2】
前記複数の半導体スイッチは第1方向に並んで配置され、
前記第1半導体スイッチは、前記複数の半導体スイッチのうち前記第1方向における端に配されている、請求項1に記載の蓄電装置。
【請求項3】
前記制御部は所定のタイミングで前記電流値取得処理及び前記判定処理を複数回実行するように構成され、
前記電流経路に流れる電流値が所定の第1閾値以上である場合の前記電流値取得処理の結果に基づく前記判定処理は、第1判定処理とされ、
複数回の前記判定処理が前記第1判定処理を含む場合、前記制御部は前記第1判定処理の結果に基づいて前記複合スイッチの故障の有無を診断する、請求項1または請求項2に記載の蓄電装置。
【請求項4】
前記電流経路に流れる電流値が前記第1閾値未満且つ所定の第2閾値以上である場合の前記電流値取得処理の結果に基づく前記判定処理は、第2判定処理とされ、
前記複数回の前記判定処理が、前記第1判定処理を含まない場合、2回以上連続する前記第2判定処理を含み、連続する2回の前記第2判定処理において前記第1電流値が前記許容範囲内にない場合に、前記複合スイッチが故障していると診断する、請求項3に記載の蓄電装置。
発明の詳細な説明
【技術分野】
【0001】
本開示は、蓄電装置に関する。
続きを表示(約 2,000 文字)
【背景技術】
【0002】
従来、蓄電素子と、蓄電素子に流れる電流の電流経路を遮断する遮断器とを備えた蓄電装置が開発されている(例えば、下記特許文献1)。遮断器として、MOSFET(Metal Oxide Semiconductor Field Effect Transistor)、IGBT(Insulated Gate Bipolar Transistor)、バイポーラトランジスタなどの半導体スイッチが用いられることがある。半導体スイッチは、電気的ストレス又は熱的ストレスによって半導体内部のボンディングワイヤやゲート酸化膜等が破損した場合、導通状態・非導通状態を制御できない可能性がある。例えば、半導体スイッチの故障として、半導体スイッチに適切なゲート電圧が印加されても、半導体スイッチがクローズ状態にならない故障(以下、オープン故障)が、知られている。
【先行技術文献】
【特許文献】
【0003】
特開2016-118571号公報
【発明の概要】
【発明が解決しようとする課題】
【0004】
遮断器のコストダウンや配線の簡素化などを目的として、並列接続された複数の半導体スイッチから遮断器を構成し、複数の半導体スイッチのゲート配線を共通化する場合がある。このような遮断器において一部の半導体スイッチがオープン故障した場合、正常な半導体スイッチへと電流が集中することで、正常な半導体スイッチが過熱され、遮断器の動作不良が起こるおそれがある。しかしながら、このように一部の半導体スイッチがオープン故障した場合、他の正常な半導体スイッチに電流が流れることで、見かけ上、遮断器は正常に動作するため、遮断器の故障を検出することが困難である。
【0005】
上記の課題を解決するには、例えば、複数の半導体スイッチのそれぞれに電流センサを接続し、各半導体スイッチの電流値に基づいて各半導体スイッチの故障の有無を判断することが考えられる。しかし、このような構成は、省スペース化やコスト削減の観点から好ましくない。
【0006】
また、複数の半導体スイッチのうち、特定の1つの半導体スイッチに電流センサを接続して、その特定の半導体スイッチの電流値に基づいて複数の半導体スイッチのうちのいずれかが故障しているか否かを判断することも考えられる。しかし、特定の1つの半導体スイッチにのみ電流センサを接続すると、電流センサの電気抵抗により、特定の1つの半導体スイッチに流れる電流値がその他の半導体スイッチに流れる電流値よりも小さくなる。このように複数の半導体スイッチに流れる電流値に偏りができると、複数の半導体スイッチのいずれかが故障しやすくなる場合がある。
【0007】
本開示は上記のような事情に基づいて完成されたものであって、簡素な構成により並列接続された半導体スイッチのオープン故障を診断することを目的とする。
【課題を解決するための手段】
【0008】
本開示の蓄電装置は、蓄電素子と、管理装置と、を備える。前記管理装置は、前記蓄電素子と前記蓄電素子を外部に接続するための接続端子との間の電流経路を遮断する遮断器と、制御部と、磁気センサと、を備える。前記遮断器は、複数の半導体スイッチが並列接続されて構成された複合スイッチを含み、前記複数の半導体スイッチのいずれか1つは第1半導体スイッチである。前記磁気センサは、前記第1半導体スイッチまたは前記第1半導体スイッチに接続される導電路の近傍に配置され、前記第1半導体スイッチとは電気的に非接触である。前記制御部は、前記磁気センサからの入力に基づいて、前記第1半導体スイッチに流れる電流値とされる第1電流値を取得する電流値取得処理と、取得された前記第1電流値が所定の許容範囲内にあるか否かを判定する判定処理と、を実行する。
【発明の効果】
【0009】
本開示によれば、簡素な構成により並列接続された半導体スイッチのオープン故障を診断することができる。
【図面の簡単な説明】
【0010】
図1は、実施形態1にかかる蓄電装置の電気的構成を示す図である。
図2は、電流により発生する磁場について説明する説明図である。
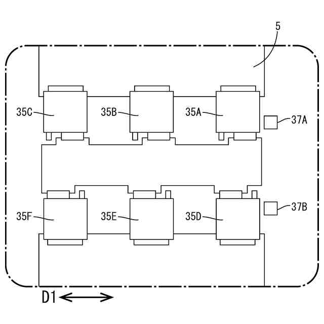
図3は、半導体スイッチと磁気センサとの配置について模式的に示す図である。
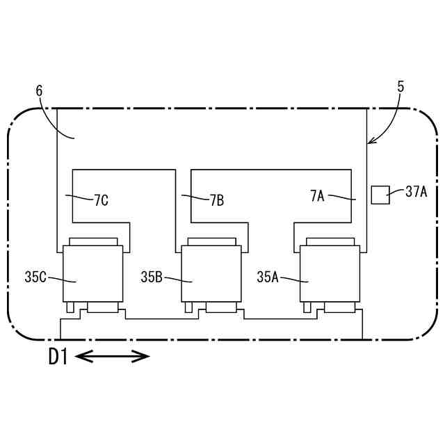
図4は、図3とは異なる半導体スイッチと磁気センサとの配置について模式的に示す図である。
図5は、実施形態1のオープン故障診断処理について示すフローチャートである。
図6は、実施形態2のオープン故障診断処理について示すフローチャートである。
【発明を実施するための形態】
(【0011】以降は省略されています)
この特許をJ-PlatPat(特許庁公式サイト)で参照する
関連特許
株式会社GSユアサ
蓄電装置
22日前
株式会社GSユアサ
蓄電設備
1か月前
株式会社GSユアサ
蓄電装置
28日前
株式会社GSユアサ
蓄電装置
今日
株式会社GSユアサ
蓄電設備
1か月前
株式会社GSユアサ
蓄電装置
8日前
株式会社GSユアサ
蓄電装置
22日前
株式会社GSユアサ
蓄電装置
14日前
株式会社GSユアサ
蓄電バンクの監視システム
13日前
株式会社GSユアサ
電力変換器、充電装置及び車両
1か月前
株式会社GSユアサ
非水電解質蓄電素子及びその製造方法
15日前
株式会社GSユアサ
非水電解質蓄電素子及びその使用方法
1日前
株式会社GSユアサ
デバイス装置、エネルギー貯蔵システム
13日前
株式会社GSユアサ
電力変換器、多脚トランス、充電装置及び車両
1か月前
株式会社GSユアサ
蓄電素子用の正極活物質、蓄電素子用の正極及び蓄電素子
1か月前
株式会社GSユアサ
蓄電素子
1か月前
株式会社GSユアサ
鉛蓄電池用正極集電体、および鉛蓄電池用集電体の製造方法
1か月前
株式会社GSユアサ
蓄電システム
2日前
株式会社GSユアサ
蓄電情報処理方法、コンピュータプログラム及び蓄電情報処理装置
1か月前
株式会社GSユアサ
充放電ステーション
1か月前
株式会社GSユアサ
情報処理装置及び端末装置
1か月前
株式会社GSユアサ
蓄電装置、組電池の異常検出方法
1か月前
株式会社GSユアサ
硫化物固体電解質及び全固体電池
23日前
株式会社GSユアサ
蓄電装置、電流遮断装置の制御方法
今日
株式会社GSユアサ
回収支援装置、回収支援システム及び回収支援方法
1か月前
株式会社GSユアサ
制御方法、制御装置、及びコンピュータプログラム
21日前
株式会社GSユアサ
情報処理装置、情報処理システム、情報処理方法及びコンピュータプログラム
23日前
株式会社GSユアサ
硫化物固体電解質の製造方法、硫化物固体電解質、全固体電池、及び硫化物固体電解質の製造に用いる原料化合物の選択方法
1か月前
株式会社GSユアサ
硫化物固体電解質の製造方法、硫化物固体電解質、全固体電池、及び硫化物固体電解質の製造に用いる原料化合物の選択方法
8日前
日本精機株式会社
検出装置
15日前
個人
採尿及び採便具
21日前
個人
計量機能付き容器
10日前
個人
高精度同時多点測定装置
1か月前
個人
アクセサリー型テスター
1か月前
甲神電機株式会社
電流検出装置
15日前
株式会社カクマル
境界杭
今日
続きを見る
他の特許を見る