TOP
|
特許
|
意匠
|
商標
特許ウォッチ
Twitter
他の特許を見る
10個以上の画像は省略されています。
公開番号
2025181207
公報種別
公開特許公報(A)
公開日
2025-12-11
出願番号
2024089046
出願日
2024-05-31
発明の名称
組合せ計量装置
出願人
株式会社イシダ
代理人
主分類
G01G
19/387 20060101AFI20251204BHJP(測定;試験)
要約
【課題】上段のホッパの外壁を放射トラフの排出口よりも高くするために、ホッパの外壁にフェンスを設けているが、各ホッパを清掃するときは、まず、フェンスを取り除いてから、各ホッパを順番に取り外していくので、作業性が悪かった。
【解決手段】
本発明では、形状の異なる3のホッパを用意し、それらのホッパの外壁を高くして、従来のフェンスとホッパとを一体化したホッパとする。そして、第1ホッパの外壁に沿う左右方向の両端部は、両隣に位置する各ホッパの外壁の内側に位置する形状とし、第2ホッパの外壁の両端部のうち、右側端部は、右側に隣接するホッパの外壁の内側に位置し、左側端部は、左側に隣接するホッパの外壁の外側に位置する形状とする。さらに、第3ホッパの外壁は、両隣に位置する各ホッパの外壁の外側に位置する形状とする、これにより、各ホッパの外周を一巡する間に、各ホッパを順番に取り外すことができる。
【選択図】 図1
特許請求の範囲
【請求項1】
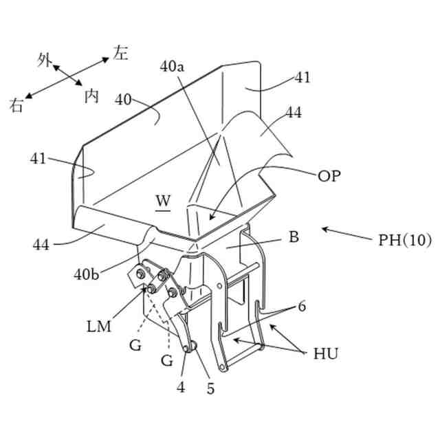
放射状に配列された複数の放射トラフの外周を取り囲むように配列され、前記各放射トラフから排出される物品をそれぞれ受け取る複数のホッパを備えた組合せ計量装置であって、
前記ホッパは、第1ホッパと、複数の第2ホッパと、第3ホッパとからなり、それらの
ホッパは、前記放射トラフから供給される物品を一時的に蓄えて排出する筐体と、
前記筐体の上部にあって、前記放射トラフから供給される物品を前記筐体内に案内する上部開口部と、を有し、
前記上部開口部の、前記放射トラフの排出口と対向する側には、前記放射トラフの排出口の高さよりも高い外壁が備えられ、
前記第1ホッパの前記外壁に沿う左右方向の両端部は、両隣のそれぞれのホッパの外壁の内側に位置し、
前記第2ホッパの前記外壁の右側端部は、右隣のホッパの外壁の内側に位置し、一方、左側端部は、左隣のホッパの外壁の外側に位置し、
前記第3ホッパの前記外壁は、両隣のそれぞれのホッパの外壁の外側に位置する、
組合せ計量装置。
続きを表示(約 470 文字)
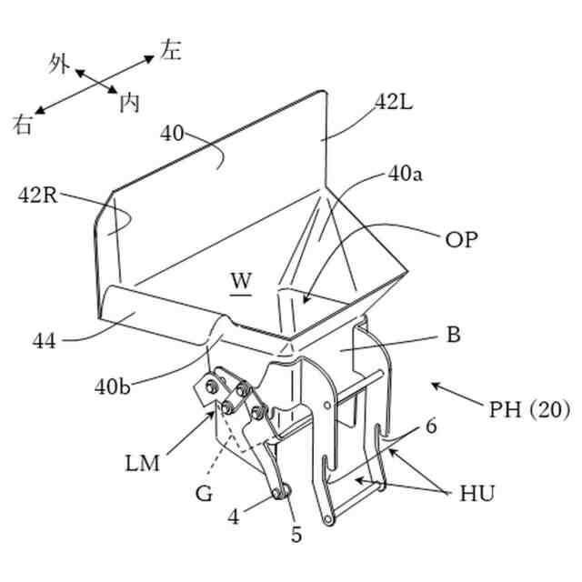
【請求項2】
放射状に配列された複数の放射トラフの外周を取り囲むように配列され、前記各放射トラフから排出される物品をそれぞれ受け取る複数のホッパを備えた組合せ計量装置であって、
前記ホッパは、第1ホッパと、複数の第2ホッパと、第3ホッパとからなり、それらの
ホッパは、前記放射トラフから供給される物品を一時的に蓄えて排出する筐体と、
前記筐体の上部にあって、前記放射トラフから供給される物品を前記筐体内に案内する上部開口部と、を有し、
前記上部開口部の、前記放射トラフの排出口と対向する側には、前記放射トラフの排出口の高さよりも高い外壁が備えられ、
前記第1ホッパの前記外壁に沿う左右方向の両端部は、両隣のそれぞれのホッパの外壁の内側に位置し、
前記第2ホッパの前記外壁の左側端部は、左隣のホッパの外壁の内側に位置し、一方、の右側端部は、右隣のホッパの外壁の外側に位置し、
前記第3ホッパの前記外壁は、両隣のそれぞれのホッパの外壁の外側に位置する、
組合せ計量装置。
発明の詳細な説明
【技術分野】
【0001】
本発明は、組合せ計量装置に関する。
続きを表示(約 1,900 文字)
【背景技術】
【0002】
例えば「もやし」のように、絡みやすい物品を組合せ計量する場合は、装置に投入される物品を解すために、下記特許文献1に開示されるように、放射トラフを扁平に成形し、広がったトラフの排出口に対応させて、物品を受け取るプールホッパの開口部を逆テーパー状に広げている。また、放射トラフの排出口と対向する側のホッパの背面側には、放射トラフの水平レベルよりも高いフェンスを着脱可能に装着して、物品がホッパから零れ落ちるのを防止している。
【0003】
このフェンスは、着脱可能であるため、装置の洗浄に際しては、まず、装置の外周を一巡する間に、各ホッパのフェンスを順番に取り除き、続いて、もう一周、装置の外周を一巡しながら各ホッパを順番に取り除く必要がある。そのため、ホッパの脱着作業に時間が掛るため、作業性が悪い、という問題があった。
【先行技術文献】
【特許文献】
【0004】
特開2016-114375号公報
【発明の概要】
【発明が解決しようとする課題】
【0005】
本発明は、そうした作業性の悪さを解消せんとするもので、装置の外周を一巡するだけで、プールホッパを装置から取り外して洗浄に回すことができる、新たな組合せ計量装置を提供することを目的とする。
【課題を解決するための手段】
【0006】
本発明の一実施形態に係る組合せ計量装置は、
放射状に配列された複数の放射トラフの外周を取り囲むように配列されて、対応する各
放射トラフから排出される物品をそれぞれ受け取る複数のホッパを備えた組合せ計量装置
であって、
前記ホッパは、第1ホッパと、複数の第2ホッパと、第3ホッパとからなり、それらの
ホッパは、前記放射トラフから供給される物品を一時的に蓄えて排出する筐体と、
前記筐体の上部にあって、対応する放射トラフから供給される物品を前記筐体内に案内する上部開口部と、を有し、
前記上部開口部の、前記放射トラフの排出口と対向する側には、前記放射トラフの排出口の高さよりも高い外壁が備えられ、
前記第1ホッパの前記外壁に沿う左右方向の両端部は、両隣に位置するそれぞれのホッパの外壁の内側に位置し、
前記第2ホッパの前記外壁の右側端部は、右隣に位置するホッパの外壁の内側に位置し、 一方、左側端部は、左側に隣接するホッパの外壁の外側に位置し、
前記第3ホッパの前記外壁は、両隣に位置するそれぞれのホッパの外壁の外側に位置することを要旨とする。
【0007】
この場合の各ホッパは、筐体下部の開口部に配置される開閉ゲートと、その開閉ゲートを開閉させるリンク機構と、筐体に取り付けられたハンガーユニットと、を備えているから、ホッパを装置本体から取り外すときは、まず、ホッパを装置側に傾けて、リンク機構の揺動端部と、装置本体側の開閉レバーとの噛み合いを解除し、その状態で、ホッパを引き上げれば、ホッパのハンガーユニットが、装置本体の支持バーから離脱するので、ホッパを装置本体から取り外すことができる。
【0008】
そこで、上記構成の各ホッパを装置本体から取り外すときは、まず、両隣のホッパに邪魔されずに装置側に倒すことができる第1ホッパを、装置側に傾ける。すると、第1ホッパのリンク機構と本体側の開閉レバーとの噛み合いが解除されるから、その状態で、第1ホッパを持ち上げると、第1ホッパのハンガーユニットが装置本体側の支持バーから離れるから、第1ホッパを装置本体から取り外すことができる。
【0009】
次に、取り外した第1ホッパの右隣の第2ホッパの外壁は、さらに右隣の第2ホッパの外壁の内側に位置しているから、第1ホッパの右隣の第2ホッパを装置側に傾ける。すると、前述同様に、傾けた第2ホッパのリンク機構と開閉レバーとの噛み合いが解除されるから、その状態で第2ホッパを持ち上げると、ハンガーユニットが、装置本体の支持バーから離れて、第2ホッパを取り外すことができる。
【0010】
同様に、取り外した第2ホッパの右側の第2ホッパを装置側に傾けて持ち上げれば、装置本体から第2ホッパを取り外すことができる。こうした操作を、次々と繰り返して、反時計方向に各第2ホッパを順次取り外して行く。そうすれば、最後に第3ホッパが残るから、それを装置側に傾けて持ち上げれば、第3ホッパを取り外すことができる。これにより、装置本体から、各ホッパの取り外しが完了する。
(【0011】以降は省略されています)
この特許をJ-PlatPat(特許庁公式サイト)で参照する
関連特許
株式会社イシダ
計量装置
21日前
株式会社イシダ
表示装置
1日前
株式会社イシダ
検査記録装置
6日前
株式会社イシダ
組合せ計量装置
今日
株式会社イシダ
組合せ計量装置
27日前
株式会社イシダ
物品計測排出装置
6日前
株式会社イシダ
トレーサビリティ管理装置
21日前
株式会社イシダ
重量検査装置
8日前
株式会社イシダ
X線検査装置
13日前
株式会社イシダ
台紙レスラベルのラベル切断装置
29日前
個人
視触覚センサ
6日前
株式会社イシダ
表示装置
1日前
個人
採尿及び採便具
1か月前
日本精機株式会社
検出装置
1か月前
個人
計量機能付き容器
1か月前
株式会社カクマル
境界杭
21日前
愛知電機株式会社
外観検査方法
2日前
株式会社イシダ
組合せ計量装置
今日
甲神電機株式会社
電流検出装置
1か月前
愛知電機株式会社
外観検査装置
2日前
株式会社ミツトヨ
測定器
1か月前
日本精機株式会社
発光表示装置
14日前
日本精機株式会社
液面検出装置
1日前
ユニパルス株式会社
トルク変換器
6日前
ユニパルス株式会社
トルク変換器
6日前
ユニパルス株式会社
トルク変換器
6日前
株式会社トプコン
測量装置
13日前
IMV株式会社
振動試験装置
今日
大成建設株式会社
風洞実験装置
1か月前
日本特殊陶業株式会社
ガスセンサ
29日前
個人
非接触による電磁パルスの測定方法
1か月前
大同特殊鋼株式会社
形状測定方法
今日
大和製衡株式会社
組合せ計量装置
1か月前
日本特殊陶業株式会社
ガスセンサ
13日前
日本特殊陶業株式会社
ガスセンサ
7日前
日本信号株式会社
距離画像センサ
1か月前
続きを見る
他の特許を見る