TOP
|
特許
|
意匠
|
商標
特許ウォッチ
Twitter
他の特許を見る
公開番号
2025171871
公報種別
公開特許公報(A)
公開日
2025-11-20
出願番号
2024077620
出願日
2024-05-10
発明の名称
計量装置
出願人
株式会社イシダ
代理人
フェリシテ弁理士法人
主分類
G01G
23/00 20060101AFI20251113BHJP(測定;試験)
要約
【課題】占有スペースが小さく、種々の熱源やノイズ発生源からの影響を防ぐことのできる汎用性の高い計量装置を提供すること。
【解決手段】一実施形態に係る計量装置1は、略同じ専有面積を有する上側骨組体11及び下側骨組体12と、上側骨組体11と下側骨組体12との間に取り付けられ上側骨組体11に負荷される荷重を検出するロードセル20と、上側骨組体11或いは下側骨組体12の四隅に取り付けられ上側骨組体11の上下動範囲を一定範囲に制限する限界止め30と、ロードセル20によって検出された荷重に関する信号を処理して外部に出力する電子基板40と、を備え、ロードセル20及び電子基板40は、それぞれ電気的ノイズの侵入を遮断する金属板51/52で覆われており、上側骨組体11及び下側骨組体12で挟まれた空間において金属板51/52で覆われた空間以外の領域には、外部機器を組み込み可能な空間が設けられている。
【選択図】図1
特許請求の範囲
【請求項1】
略同じ専有面積を有する上側骨組体及び下側骨組体と、
前記上側骨組体と前記下側骨組体との間に取り付けられ、前記上側骨組体に負荷される荷重を検出するロードセルと、
前記上側骨組体或いは前記下側骨組体の四隅に取り付けられ、前記上側骨組体の上下動範囲を一定範囲に制限する限界止めと、
前記ロードセルによって検出された荷重に関する信号を処理して外部に出力する電子基板と、を備え、
前記ロードセル及び前記電子基板は、それぞれ電気的ノイズの侵入を遮断する金属板で覆われており、
前記上側骨組体及び前記下側骨組体で挟まれた空間において前記金属板で覆われた空間以外の領域には、外部機器を組み込み可能な空間が設けられている、計量装置。
続きを表示(約 120 文字)
【請求項2】
前記電子基板は、前記上側骨組体及び前記下側骨組体で挟まれた空間の外側に隣接して配置されている、請求項1に記載の計量装置。
【請求項3】
前記限界止めは、露出した状態で設けられている、請求項1に記載の計量装置。
発明の詳細な説明
【技術分野】
【0001】
本発明は、計量装置に関する。
続きを表示(約 1,500 文字)
【背景技術】
【0002】
従来から、業務用機器を組み込むことが可能な計量装置が知られている。
【先行技術文献】
【特許文献】
【0003】
特開2012-98164号公報
【発明の概要】
【発明が解決しようとする課題】
【0004】
しかしながら、現状では、計量装置の占有スペースを可及的に小さくすると共に、計量装置に組み込まれる予定の種々の熱源やノイズ発生源からの影響を防ぐことのできる汎用性の高い計量装置が望まれている。
【0005】
そこで、本発明は、上記課題に鑑みてなされたものであり、占有スペースが小さく、種々の熱源やノイズ発生源からの影響を防ぐことのできる汎用性の高い計量装置を提供することを目的とする。
【課題を解決するための手段】
【0006】
一実施形態に係る計量装置は、略同じ専有面積を有する上側骨組体及び下側骨組体と、前記上側骨組体と前記下側骨組体との間に取り付けられ、前記上側骨組体に負荷される荷重を検出するロードセルと、前記上側骨組体或いは前記下側骨組体の四隅に取り付けられ、前記上側骨組体の上下動範囲を一定範囲に制限する限界止めと、前記ロードセルによって検出された荷重に関する信号を処理して外部に出力する電子基板と、を備え、前記ロードセル及び前記電子基板は、それぞれ電気的ノイズの侵入を遮断する金属板で覆われており、前記上側骨組体及び前記下側骨組体で挟まれた空間において前記金属板で覆われた空間以外の領域には、外部機器を組み込み可能な空間が設けられていることを要旨とする。
【発明の効果】
【0007】
本発明によれば、占有スペースが小さく、種々の熱源やノイズ発生源からの影響を防ぐことのできる汎用性の高い計量装置を提供できる。
【図面の簡単な説明】
【0008】
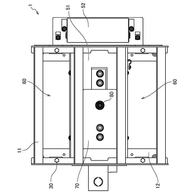
図1は、一実施形態に係る組合せ計量装置1の構成(金属板51/52あり)の一例を説明するための斜視図である。
図2は、一実施形態に係る計量装置1の構成(金属板51/52無し)の一例を説明するための斜視図である。
図3は、図1を方向Aから見た図である。
図4は、図1を上方から見た図である。
【発明を実施するための形態】
【0009】
以下に添付図面を参照しながら、本発明の好適な実施形態について詳細に説明する。なお、以下の図面の記載において、同一又は類似の部分には、同一又は類似の符号を付している。ただし、図面は模式的なものであり、各寸法の比率等は現実のものとは異なることに留意すべきである。したがって、具体的な寸法等は、以下の説明を参酌して判断すべきである。また、図面相互間においても互いの寸法の関係や比率が異なる部分が含まれ得る。本明細書及び図面において、実質的に同一の機能、構成を有する要素については、同一の符号を付することにより重複説明を省略し、また本発明に直接関係のない要素は図示を省略する。
【0010】
(第1実施形態)
以下、図1~図4を参照して、本発明の第1実施形態に係る計量装置1について説明する。図1は、本実施形態に係る組合せ計量装置1の構成(金属板51/52あり)の一例を説明するための斜視図であり、図2は、本実施形態に係る計量装置1の構成(金属板51/52無し)の一例を説明するための斜視図であり、図3は、図1を方向Aから見た図であり、図4は、図1を上方から見た図である。
(【0011】以降は省略されています)
この特許をJ-PlatPat(特許庁公式サイト)で参照する
関連特許
他の特許を見る