TOP
|
特許
|
意匠
|
商標
特許ウォッチ
Twitter
他の特許を見る
公開番号
2025169587
公報種別
公開特許公報(A)
公開日
2025-11-14
出願番号
2024074413
出願日
2024-05-01
発明の名称
組合せ計量装置
出願人
株式会社イシダ
代理人
フェリシテ弁理士法人
主分類
G01G
19/387 20060101AFI20251107BHJP(測定;試験)
要約
【課題】装置サイズを維持したまま、ホッパへ1個ずつ物品を供給する確率を向上させること。
【解決手段】一実施形態に係る組合せ計量装置1において、制御部50は、物品が分散テーブル10に供給される場合は、リング状フェンス20を下降させて、分散テーブル10上に供給される物品を堰き止め、物品を分散テーブル10から排出する場合は、リング状フェンス20を上昇させて、リング状フェンス20の下端部と分散テーブル10の周縁部との間に、物品の単体が切欠き部11を抜けて排出される間隔に保持する。
【選択図】図1
特許請求の範囲
【請求項1】
外部から供給される物品を受け止めて周囲へ分散させる分散テーブルと、
前記分散テーブルに供給される前記物品を一時的に堰き止めるリング状フェンスと、
前記リング状フェンスを前記分散テーブルに対して上下動させる駆動部と、
前記分散テーブルの外周に放射状に配置されて、前記分散テーブルから排出される前記物品を前記分散テーブルから遠ざける方向へ搬送する複数の放射トラフと、
前記放射トラフの各々から排出される前記物品を受け止めて排出する複数のホッパと、
前記駆動部の動作を制御する制御部と、を備え、
前記放射トラフの各々に対応する前記分散テーブルの周縁部に、前記分散テーブル上の前記物品を前記放射トラフの各々に向けて排出させる切欠き部がそれぞれ設けられ、
前記制御部は、
前記物品が前記分散テーブルに供給される場合は、前記リング状フェンスを下降させて、前記分散テーブル上に供給される前記物品を堰き止め、
前記物品を前記分散テーブルから排出する場合は、前記リング状フェンスを上昇させて、前記リング状フェンスの下端部と前記分散テーブルの周縁部との間に、前記物品の単体が前記切欠き部を抜けて排出される間隔に保持する、組合せ計量装置。
続きを表示(約 290 文字)
【請求項2】
前記放射トラフには、V字状の溝が設けられる、請求項1に記載の組合せ計量装置。
【請求項3】
前記溝の前記分散テーブルの近傍には、前記溝の底よりも高い位置に段部が設けられている、請求項2に記載の組合せ計量装置。
【請求項4】
前記溝の底面は、前記分散テーブルから前記ホッパに向かうにつれて幅が狭くなっていく、請求項2に記載の組合せ計量装置。
【請求項5】
前記分散テーブルの周縁部において、互いに隣接する切欠き部と切欠き部との間の外向き部分には、上向きの突起部が設けられている、請求項1に記載の組合せ計量装置。
発明の詳細な説明
【技術分野】
【0001】
本発明は、組合せ計量装置に関する。
続きを表示(約 1,700 文字)
【背景技術】
【0002】
従来、組合せ計量装置において、ウインナーソーセージのような棒状物を、ホッパへ1個ずつ供給するために、トラフをV字状に形成して、かかる棒状物を一列縦隊に整列させる技術が知られている。
【先行技術文献】
【特許文献】
【0003】
実用新案登録第3185732号公報
【発明の概要】
【発明が解決しようとする課題】
【0004】
しかしながら、従来技術では、上述のV字状のトラフにおいて、上下に重なった棒状物を一列縦隊に整列させるには、トラフの長さを相対的に長くして、一列縦隊になるまでの搬送距離を確保する必要があるが、そうすると、放射状にトラフが配置される場合、装置サイズが相対的に大きくなってしまうという問題点があった。
【0005】
そこで、本発明は、上記課題に鑑みてなされたものであり、装置サイズを維持したまま、ホッパへ1個ずつ物品を供給する確率を向上させることができる組合せ計量装置を提供することを目的とする。
【課題を解決するための手段】
【0006】
一実施形態に係る組合せ計量装置は、外部から供給される物品を受け止めて周囲へ分散させる分散テーブルと、前記分散テーブルに供給される前記物品を一時的に堰き止めるリング状フェンスと、前記リング状フェンスを前記分散テーブルに対して上下動させる駆動部と、前記分散テーブルの外周に放射状に配置されて、前記分散テーブルから排出される前記物品を前記分散テーブルから遠ざける方向へ搬送する複数の放射トラフと、前記放射トラフの各々から排出される前記物品を受け止めて排出する複数のホッパと、前記駆動部の動作を制御する制御部と、を備え、前記放射トラフの各々に対応する前記分散テーブルの周縁部に、前記分散テーブル上の前記物品を前記放射トラフの各々に向けて排出させる切欠き部がそれぞれ設けられ、前記制御部は、前記物品が前記分散テーブルに供給される場合は、前記リング状フェンスを下降させて、前記分散テーブル上に供給される前記物品を堰き止め、前記物品を前記分散テーブルから排出する場合は、前記リング状フェンスを上昇させて、前記リング状フェンスの下端部と前記分散テーブルの周縁部との間に、前記物品の単体が前記切欠き部を抜けて排出される間隔に保持することを要旨とする。
【発明の効果】
【0007】
本発明によれば、装置サイズを維持したまま、ホッパへ1個ずつ物品を供給する確率を向上させることができる組合せ計量装置を提供できる。
【図面の簡単な説明】
【0008】
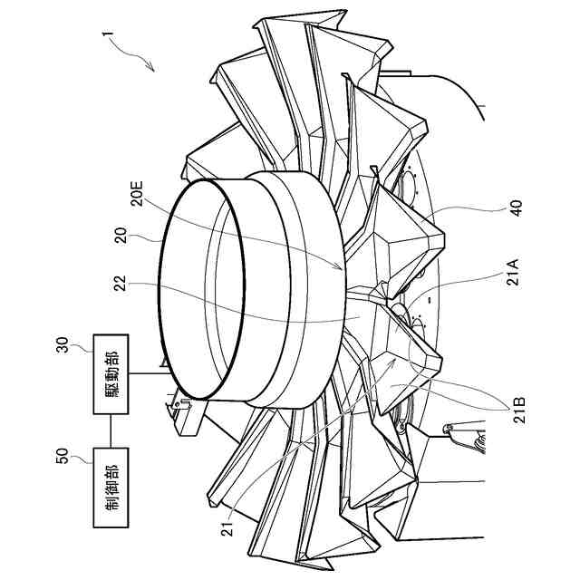
図1は、一実施形態に係る組合せ計量装置1の構成の一例を説明するための斜視図である。
図2は、一実施形態に係る組合せ計量装置1の構成の一例を上方から見た図である。
図3は、一実施形態に係る組合せ計量装置1の構成の一例を説明するための斜視図である。
【発明を実施するための形態】
【0009】
以下に添付図面を参照しながら、本発明の好適な実施形態について詳細に説明する。なお、以下の図面の記載において、同一又は類似の部分には、同一又は類似の符号を付している。ただし、図面は模式的なものであり、各寸法の比率等は現実のものとは異なることに留意すべきである。したがって、具体的な寸法等は、以下の説明を参酌して判断すべきである。また、図面相互間においても互いの寸法の関係や比率が異なる部分が含まれ得る。本明細書及び図面において、実質的に同一の機能、構成を有する要素については、同一の符号を付することにより重複説明を省略し、また本発明に直接関係のない要素は図示を省略する。
【0010】
(第1実施形態)
以下、図1~図3を参照して、本発明の第1実施形態に係る組合せ計量装置1について説明する。図1及び図3は、本実施形態に係る組合せ計量装置1の構成の一例を説明するための斜視図であり、図2は、本実施形態に係る組合せ計量装置1の構成の一例を上方から見た図である。
(【0011】以降は省略されています)
特許ウォッチbot のツイートを見る
この特許をJ-PlatPat(特許庁公式サイト)で参照する
関連特許
株式会社イシダ
計量装置
1か月前
株式会社イシダ
包装装置
16日前
株式会社イシダ
製袋包装機
1か月前
株式会社イシダ
X線検査装置
1か月前
株式会社イシダ
X線検査装置
1か月前
株式会社イシダ
受付端末装置
17日前
株式会社イシダ
商品処理装置
1か月前
株式会社イシダ
X線検査装置
1か月前
株式会社イシダ
組合せ計量装置
1日前
株式会社イシダ
組合せ計量装置
1か月前
株式会社イシダ
組合せ計量装置
18日前
株式会社イシダ
電子棚札用の制御システム
1か月前
株式会社イシダ
院内用書込装置及び受付端末装置
17日前
株式会社イシダ
案内端末及び電子カルテシステム
9日前
株式会社イシダ
製袋包装機及びフィルムロール交換システム
1か月前
株式会社イシダ
検査システム及び検査装置
1か月前
株式会社イシダ
台紙レスラベルのラベル切断装置
3日前
株式会社イシダ
自走式フィルムロール交換装置、フィルムロール交換システム、及びフィルムロール交換方法
1か月前
個人
採尿及び採便具
16日前
日本精機株式会社
検出装置
10日前
個人
アクセサリー型テスター
1か月前
個人
高精度同時多点測定装置
1か月前
個人
計量機能付き容器
5日前
甲神電機株式会社
電流検出装置
10日前
株式会社ミツトヨ
測定器
22日前
アズビル株式会社
電磁流量計
25日前
大成建設株式会社
風洞実験装置
5日前
愛知時計電機株式会社
ガスメータ
22日前
日本特殊陶業株式会社
ガスセンサ
3日前
個人
計量具及び計量機能付き容器
5日前
長崎県
形状計測方法
1か月前
大和製衡株式会社
組合せ計量装置
19日前
大和製衡株式会社
組合せ計量装置
19日前
ローム株式会社
半導体装置
1か月前
双庸電子株式会社
誤配線検査装置
11日前
日本信号株式会社
距離画像センサ
8日前
続きを見る
他の特許を見る