TOP
|
特許
|
意匠
|
商標
特許ウォッチ
Twitter
他の特許を見る
公開番号
2025144339
公報種別
公開特許公報(A)
公開日
2025-10-02
出願番号
2024044075
出願日
2024-03-19
発明の名称
X線検査装置
出願人
株式会社イシダ
代理人
個人
,
個人
,
個人
,
個人
主分類
G01N
23/04 20180101AFI20250925BHJP(測定;試験)
要約
【課題】学習モデルを用いた計数だけを行う場合と比べて物品の個数の検査精度の向上を図ることができるX線検査装置を提供する。
【解決手段】
X線検査装置1は、複数の物品にX線を照射するX線照射部6と、物品を透過したX線又は物品で反射されたX線を検出するX線検出部7と、X線検出部7で検出したX線に基づいて物品の個数を検査するための画像を生成する画像生成部12と、生成した画像に基づいて物品の個数を検査する検査部13と、を備える。画像生成部12は、画像を入力として画像における物品の領域を特定する学習モデルを用いて得られる領域出力情報と、画像を画像処理して得られる処理情報と、を生成する。検査部13は、領域出力情報と処理情報とに基づいて物品の個数を算出する。
【選択図】図5
特許請求の範囲
【請求項1】
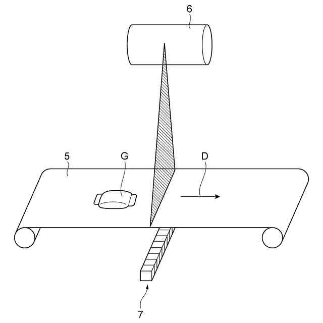
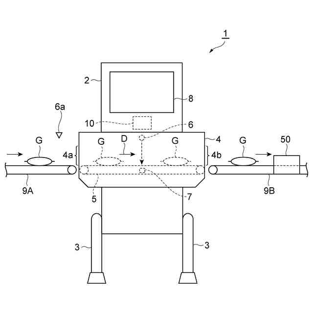
複数の物品にX線を照射する照射部と、
前記物品を透過したX線又は前記物品で反射されたX線を検出する検出部と、
前記検出部で検出した前記X線に基づいて前記物品の個数を検査するための画像を生成する生成部と、
前記画像に基づいて前記物品の個数を検査する検査部と、を備え、
前記生成部は、前記画像を入力として前記画像における前記物品の領域を特定する学習モデルを用いて得られる領域出力情報と、前記画像を画像処理して得られる処理情報と、を生成し、
前記検査部は、前記領域出力情報と前記処理情報とに基づいて前記物品の個数を算出する、X線検査装置。
続きを表示(約 1,000 文字)
【請求項2】
前記生成部は、前記検出部で検出した前記X線の輝度と所定の輝度閾値とに基づいて輝度処理画像を生成し、
前記検査部は、前記領域出力情報と前記輝度処理画像との差分に基づいて前記物品の個数を算出する、請求項1に記載のX線検査装置。
【請求項3】
前記検出部は、前記物品を透過したX線を検出し、
前記検査部は、前記画像において同一の画素に複数の前記物品が属する重複領域を認識した場合、前記領域出力情報において前記重複領域に属する前記物品の数と、前記輝度処理画像において前記重複領域に属する前記物品の数と、に基づいて前記物品の個数を補正する、請求項2に記載のX線検査装置。
【請求項4】
前記生成部は、
前記領域出力情報と前記輝度処理画像との差分に基づいて、前記領域出力情報において前記物品が存在しないと推論され且つ前記輝度処理画像において前記物品が存在する第1欠落領域を含む第1欠落画像を生成し、
前記領域出力情報と前記輝度処理画像との差分、及び、前記第1欠落画像の前記第1欠落領域に対して拡張、縮小、又はフィルタ処理を含む画像処理して得られた第1補完画像を生成し、
前記検査部は、前記第1補完画像に基づいて前記物品の個数を補正する、請求項2又は3に記載のX線検査装置。
【請求項5】
前記生成部は、
前記検出部で検出した前記X線の輝度を表す画像を入力として、前記画像において同一の画素に複数の前記物品が属する重複領域における前記物品の重複個数を特定する学習モデルを用いて得られる重複出力情報を生成し、
前記重複出力情報と前記領域出力情報との差分に基づいて、前記重複出力情報において前記物品が存在すると推論され且つ前記領域出力情報において前記物品が存在しないと推論された第2欠落領域を含む第2欠落画像を生成し、
前記第2欠落画像の前記第2欠落領域に対して拡張、縮小、又はフィルタ処理を含む画像処理して得られた第2補完画像を生成し、
前記第2補完画像を入力として前記第2補完画像における前記物品の領域を特定する前記学習モデルを用いて得られる補完出力画像を生成し、
前記検査部は、前記補完出力画像に基づいて前記物品の個数を補正する、請求項1に記載のX線検査装置。
発明の詳細な説明
【技術分野】
【0001】
本発明は、X線検査装置に関する。
続きを表示(約 1,900 文字)
【背景技術】
【0002】
従来、重なり合った物品を検査する技術として、電磁波に基づく物品の透過画像を作成し、内容物の重なった枚数に応じた濃淡の閾値にて重なりのある部分を抽出することが知られている(例えば、特許文献1参照)。このような透過画像と濃淡の閾値とに基づく手法では、物品の重なり具合が大きくなるほど物品の検査精度が低下するおそれがあったことから、機械学習を用いて重なり合った物品の個数を計数することが試みられている(例えば、特許文献2参照)。
【先行技術文献】
【特許文献】
【0003】
特許6454503号公報
特許6537008号公報
【発明の概要】
【発明が解決しようとする課題】
【0004】
画像を入力とした機械学習を用いて画像中の物品の個数を計数することで、機械学習の推論結果が適切であった場合の物品の検査精度は向上した一方で、機械学習の推論の性質上、機械学習の推論結果が適切ではないことが生じうる。この場合、機械学習(学習モデル)を用いた計数だけでは画像中の物品の個数の検査結果が不正確となることがあり、物品の個数の検査精度を向上させる余地があった。
【0005】
本発明は、学習モデルを用いた計数だけを行う場合と比べて物品の個数の検査精度の向上を図ることができるX線検査装置を提供することを目的とする。
【課題を解決するための手段】
【0006】
(1)本発明の一態様に係るX線検査装置は、複数の物品にX線を照射する照射部と、物品を透過したX線又は物品で反射されたX線を検出する検出部と、検出部で検出したX線に基づいて物品を検査するための画像を生成する生成部と、画像に基づいて物品の個数を検査する検査部と、を備え、生成部は、画像を入力として画像における物品の領域を特定する学習モデルを用いて得られる領域出力情報と、画像を画像処理して得られる処理情報と、を生成し、検査部は、領域出力情報と処理情報とに基づいて物品の個数を算出する。
【0007】
本発明の一態様に係るX線検査装置では、画像を入力として画像における物品の領域を特定する学習モデルを用いて得られる領域出力情報と、画像を画像処理して得られる処理情報と、が生成される。学習モデルを用いて得られた領域出力情報だけでなく、画像を画像処理して得られた処理情報にも基づいて、物品の個数が算出される。これにより、仮に学習モデルを用いた推論結果が適切ではなく、例えば物品の領域の特定に取りこぼしが生じたとしても、画像を画像処理して得られた処理情報を用いて物品の個数を補正することができる。したがって、学習モデルを用いた計数だけを行う場合と比べて物品の個数の検査精度の向上を図ることができる。
【0008】
(2)上記(1)において、生成部は、検出部で検出したX線の輝度と所定の輝度閾値とに基づいて輝度処理画像を生成し、検査部は、領域出力情報と輝度処理画像との差分に基づいて物品の個数を算出してもよい。この場合、例えば領域出力情報において物品の領域の特定に取りこぼしが生じたとしても、領域出力情報と輝度処理画像との差分を用いて物品の個数を補正することができる。
【0009】
(3)上記(2)において、検出部は、物品を透過したX線を検出し、検査部は、画像において同一の画素に複数の物品が属する重複領域を認識した場合、領域出力情報において重複領域に属する物品の数と、輝度処理画像において重複領域に属する物品の数と、に基づいて物品の個数を補正してもよい。この場合、例えば領域出力情報において重複領域に属する物品の数に取りこぼしが生じたとしても、輝度処理画像において重複領域に属する物品の数を用いて物品の個数を補正することができる。
【0010】
(4)上記(2)又は(3)において、生成部は、領域出力情報と輝度処理画像との差分に基づいて、領域出力情報において物品が存在しないと推論され且つ輝度処理画像において物品が存在する第1欠落領域を含む第1欠落画像を生成し、領域出力情報と輝度処理画像との差分、及び、第1欠落画像の第1欠落領域に対して拡張、縮小、又はフィルタ処理を含む画像処理して得られた第1補完画像を生成し、検査部は、第1補完画像に基づいて物品の個数を補正してもよい。この場合、例えば領域出力情報において物品の領域の特定に取りこぼしが生じたとしても、第1補完画像に含まれる物品の個数を用いて物品の個数を補正することができる。
(【0011】以降は省略されています)
この特許をJ-PlatPat(特許庁公式サイト)で参照する
関連特許
株式会社イシダ
計量装置
26日前
株式会社イシダ
製袋包装機
28日前
株式会社イシダ
X線検査装置
25日前
株式会社イシダ
X線検査装置
25日前
株式会社イシダ
商品処理装置
26日前
株式会社イシダ
X線検査装置
26日前
株式会社イシダ
組合せ計量装置
25日前
株式会社イシダ
組合せ計量装置
28日前
株式会社イシダ
電子棚札用の制御システム
25日前
株式会社イシダ
製袋包装機及びフィルムロール交換システム
25日前
株式会社イシダ
検査システム及び検査装置
27日前
株式会社イシダ
自走式フィルムロール交換装置、フィルムロール交換システム、及びフィルムロール交換方法
25日前
個人
メジャー文具
20日前
個人
高精度同時多点測定装置
12日前
個人
アクセサリー型テスター
13日前
ユニパルス株式会社
ロードセル
19日前
株式会社ミツトヨ
測定器
3日前
アズビル株式会社
圧力センサ
25日前
アズビル株式会社
電磁流量計
6日前
エイブリック株式会社
磁気センサ回路
25日前
株式会社ヨコオ
ソケット
19日前
株式会社ヨコオ
ソケット
18日前
トヨタ自動車株式会社
監視装置
18日前
株式会社チノー
放射光測温装置
19日前
ダイキン工業株式会社
監視装置
17日前
大和製衡株式会社
組合せ計量装置
今日
株式会社東芝
重量測定装置
24日前
個人
システム、装置及び実験方法
6日前
TDK株式会社
ガスセンサ
24日前
ローム株式会社
半導体装置
11日前
TDK株式会社
ガスセンサ
25日前
ローム株式会社
半導体装置
11日前
大和製衡株式会社
組合せ計量装置
今日
長崎県
形状計測方法
13日前
愛知時計電機株式会社
ガスメータ
3日前
TDK株式会社
ガスセンサ
19日前
続きを見る
他の特許を見る