TOP
|
特許
|
意匠
|
商標
特許ウォッチ
Twitter
他の特許を見る
公開番号
2025140272
公報種別
公開特許公報(A)
公開日
2025-09-29
出願番号
2024039566
出願日
2024-03-14
発明の名称
組合せ計量装置
出願人
株式会社イシダ
代理人
フェリシテ弁理士法人
主分類
G01G
19/387 20060101AFI20250919BHJP(測定;試験)
要約
【課題】組合せ計量装置の稼働率の低下を回避すること。
【解決手段】一実施形態に係る組合せ計量装置1において、制御部40は、取得部30で取得された情報に基づいて、物品Mが過剰に供給されている放射フィーダ3
1
~3
n
を特定し、特定した放射フィーダ3
1
~3
n
に対応するホッパ5
1
~5
n
を排出すべきホッパとして優先的に選択する。
【選択図】図1
特許請求の範囲
【請求項1】
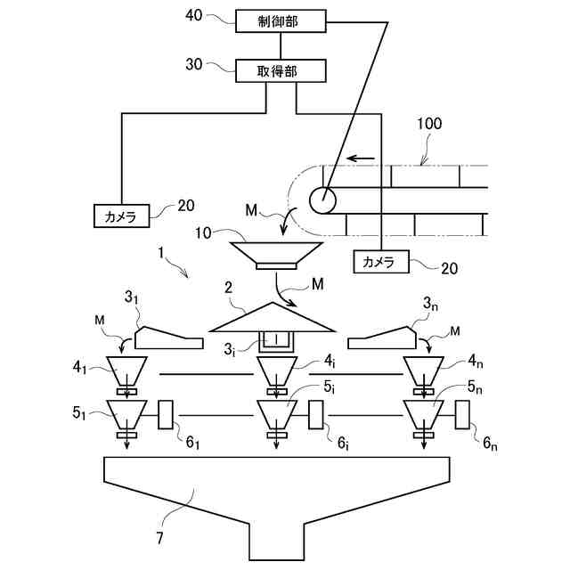
物品を周囲へ分散させる分散部と、
前記分散部の周囲に配置され、前記分散部から搬送される前記物品を複数のホッパへ供給する複数の放射フィーダと、
前記複数の放射フィーダの各々に対応して配置され、前記複数の放射フィーダの各々から直接的に又は間接的に供給される前記物品を一時的に滞留して排出する複数のホッパと、
前記複数のホッパの各々に滞留する前記物品の重量をそれぞれ計測する重量計測部と、
前記複数の放射フィーダ上の物品量に関する情報を取得する取得部と、
前記重量計測部で計測された前記重量に基づいて、前記物品を排出させるホッパの組合せを選択する制御部と、を備え、
前記制御部は、前記取得部で取得された前記情報に基づいて、前記物品が過剰に供給されている放射フィーダを特定し、特定した前記放射フィーダに対応する前記ホッパを排出すべきホッパとして優先的に選択する、組合せ計量装置。
続きを表示(約 880 文字)
【請求項2】
前記放射フィーダ上の前記物品を搬送する領域を撮像するカメラを備え、
前記取得部は、前記カメラによって撮像された撮像画像に基づいて、前記情報として、前記領域の面積に占める前記物品の面積の割合を取得する、請求項1に記載の組合せ計量装置。
【請求項3】
前記制御部は、前記割合が第1閾値を上回っている放射フィーダを、前記物品が過剰に供給されている放射フィーダとして特定する、請求項2に記載の組合せ計量装置。
【請求項4】
物品を周囲へ分散させる分散部と、
前記分散部の周囲に配置され、前記分散部から搬送される前記物品を複数のホッパへ供給する複数の放射フィーダと、
前記複数の放射フィーダの各々に対応して配置され、前記複数の放射フィーダの各々から直接的に又は間接的に供給される前記物品を一時的に滞留して排出する複数のホッパと、
前記複数のホッパの各々に滞留する前記物品の重量をそれぞれ計測する重量計測部と、
前記複数の放射フィーダ上の物品量に関する情報を取得する取得部と、
前記重量計測部で計測された前記重量に基づいて、前記物品を排出させるホッパの組合せを選択する制御部と、を備え、
前記制御部は、前記取得部で取得された前記情報に基づいて、前記物品が過少に供給されている放射フィーダを特定し、特定した前記放射フィーダに対応する前記ホッパ以外のホッパを排出すべきホッパとして優先的に選択する、組合せ計量装置。
【請求項5】
前記放射フィーダ上の前記物品を搬送する領域を撮像するカメラを備え、
前記取得部は、前記カメラによって撮像された撮像画像に基づいて、前記情報として、前記領域の面積に占める前記物品の面積の割合を取得する、請求項4に記載の組合せ計量装置。
【請求項6】
前記制御部は、前記割合が第2閾値を下回っている放射フィーダを、前記物品が過少に供給されている放射フィーダとして特定する、請求項5に記載の組合せ計量装置。
発明の詳細な説明
【技術分野】
【0001】
本発明は、組合せ計量装置に関する。
続きを表示(約 1,600 文字)
【背景技術】
【0002】
従来から、組合せ計量装置の上方にカメラを配置して、各放射フィーダの物品堆積量に基づいて各放射フィーダを駆動制御する技術が知られている(例えば、特許文献1や特許文献2参照)。
【先行技術文献】
【特許文献】
【0003】
WO2015/108117号公報
特開2013-250143号公報
【発明の概要】
【発明が解決しようとする課題】
【0004】
しかしながら、従来技術では、分散テーブルから各放射フィーダへ供給される物品の供給量に偏りがあると、一部の放射フィーダには物品が過剰になり、他の一部の放射フィーダには物品が不足するという状態が長く続くことがある。
【0005】
このような状態では、組合せ不良が発生し易くなるため、組合せ計量装置の稼働率が低下してしまうという問題点があった。
【0006】
そこで、本発明は、上記課題に鑑みてなされたものであり、組合せ計量装置の稼働率の低下を回避することができる組合せ計量装置を提供することを目的とする。
【課題を解決するための手段】
【0007】
一実施形態に係る組合せ計量装置は、物品を周囲へ分散させる分散部と、前記分散部の周囲に配置され、前記分散部から搬送される前記物品を複数のホッパへ供給する複数の放射フィーダと、前記複数の放射フィーダの各々に対応して配置され、前記複数の放射フィーダの各々から直接的に又は間接的に供給される前記物品を一時的に滞留して排出する複数のホッパと、前記複数のホッパの各々に滞留する前記物品の重量をそれぞれ計測する重量計測部と、前記複数の放射フィーダ上の物品量に関する情報を取得する取得部と、前記重量計測部で計測された前記重量に基づいて、前記物品を排出させるホッパの組合せを選択する制御部と、を備え、前記制御部は、前記取得部で取得された前記情報に基づいて、前記物品が過剰に供給されている放射フィーダを特定し、特定した前記放射フィーダに対応する前記ホッパを排出すべきホッパとして優先的に選択することを要旨とする。
【0008】
一実施形態に係る組合せ計量装置は、物品を周囲へ分散させる分散部と、前記分散部の周囲に配置され、前記分散部から搬送される前記物品を複数のホッパへ供給する複数の放射フィーダと、前記複数の放射フィーダの各々に対応して配置され、前記複数の放射フィーダの各々から直接的に又は間接的に供給される前記物品を一時的に滞留して排出する複数のホッパと、前記複数のホッパの各々に滞留する前記物品の重量をそれぞれ計測する重量計測部と、前記複数の放射フィーダ上の物品量に関する情報を取得する取得部と、前記重量計測部で計測された前記重量に基づいて、前記物品を排出させるホッパの組合せを選択する制御部と、を備え、前記制御部は、前記取得部で取得された前記情報に基づいて、前記物品が過少に供給されている放射フィーダを特定し、特定した前記放射フィーダに対応する前記ホッパ以外のホッパを排出すべきホッパとして優先的に選択することを要旨とする。
【発明の効果】
【0009】
本発明によれば、組合せ計量装置の稼働率の低下を回避することができる組合せ計量装置を提供できる。
【図面の簡単な説明】
【0010】
図1は、一実施形態に係る組合せ計量装置1の全体構成の一例を説明する図である。
図2は、一実施形態に係る組合せ計量装置1の分散テーブル2を上方から撮影した様子の一例を示す図である。
図3は、一実施形態に係る組合せ計量装置1の動作の一例を示すフローチャートである。
【発明を実施するための形態】
(【0011】以降は省略されています)
この特許をJ-PlatPat(特許庁公式サイト)で参照する
関連特許
個人
高精度同時多点測定装置
7日前
個人
アクセサリー型テスター
8日前
アズビル株式会社
電磁流量計
1日前
ダイキン工業株式会社
監視装置
12日前
トヨタ自動車株式会社
監視装置
13日前
TDK株式会社
磁気センサ
13日前
ローム株式会社
半導体装置
6日前
ローム株式会社
半導体装置
6日前
長崎県
形状計測方法
8日前
個人
システム、装置及び実験方法
1日前
三恵技研工業株式会社
融雪レドーム
13日前
日本特殊陶業株式会社
センサ
12日前
中国電力株式会社
電柱管理システム
12日前
ダイハツ工業株式会社
移動支援装置
13日前
日本特殊陶業株式会社
センサ
12日前
多摩川精機株式会社
冗長エンコーダ
13日前
株式会社デンソー
電流センサ
6日前
トヨタ自動車株式会社
測定システム
5日前
日本特殊陶業株式会社
センサ
12日前
日本特殊陶業株式会社
センサ
12日前
日本特殊陶業株式会社
センサ
12日前
コイト電工株式会社
座席濡れ検知装置
12日前
株式会社不二越
X線測定システム
6日前
ミツミ電機株式会社
超音波風速計
12日前
株式会社トプコン
測定装置
13日前
株式会社トプコン
測定装置
13日前
住鉱潤滑剤株式会社
液体導電率測定装置
12日前
株式会社不二越
X線測定システム
7日前
株式会社トプコン
測定装置
12日前
大阪瓦斯株式会社
探査装置
13日前
住友精密工業株式会社
慣性計測装置
12日前
JFEスチール株式会社
遅れ破壊試験方法
5日前
株式会社サタケ
精白米中の土砂混入率の検査方法
5日前
株式会社東京精密
亀裂測定器
12日前
株式会社東京精密
亀裂測定器
12日前
株式会社東芝
電子回路
1日前
続きを見る
他の特許を見る